Запчасти Case IH 685 (8-650) - REGULATOR VALVE AND PLATE, VERSION W/FORWARD & REVERSE, 685 : 18001- 885 : 18001- (08) - HYDRAULICS

Схема запчастей Case IH 685 - (8-650) - REGULATOR VALVE AND PLATE, VERSION W/FORWARD & REVERSE, 685 : 18001- 885 : 18001- (08) - HYDRAULICS
2
10
12
9
11
5
8
1
14
3
13
6
4
7
FIT
1:1
100%

Артикул

Название

Примечание

Количество

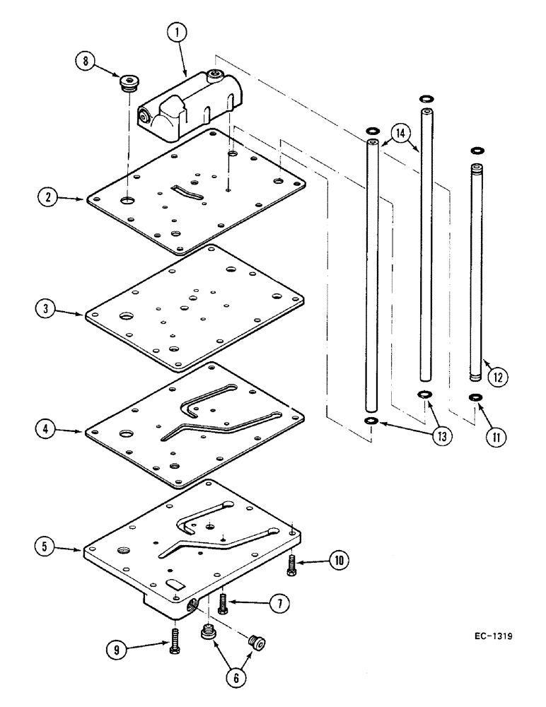
1

94121C92

VALVE

see regulator valve

1шт.

2

83009C2

GASKET

1шт.

3

83010C2

PLATE

1шт.

4

83011C2

GASKET,0.79mm Thk

1шт.

5

83013C2

LARGE PLATE

PLATE, LARGE

1шт.

6

86258C1

PLUG,M12 x 1.5

2шт.

7

931405R1

BOLT,Hex, M8 x 1.25 x 30mm, Cl 8.8, Full Thd

5шт.

8

87953C1

PLUG

1шт.

9

113-233

BOLT,Hex, 3/8" - 16 x 1-3/4", Gr 5

2шт.

10

180124

BOLT,Hex, 3/8" - 16 x 1 1/4", Gr 5

9шт.

11

382997R1

O-RING,0.07" Thk x 0.489" ID, -14, Cl 6, 90 Duro

2шт.

12

402544R1

SUCTION PIPE

TUBE

1шт.

13

252739R1

O-RING,0.103" Thk x 0.487" ID, -112, Cl 5, 75 Duro

4шт.

14

402545R1

PRESSURE PIPE

TUBE

2шт.

Выбрано товаров: 14