Запчасти Case IH 685 (8-652) - REGULATOR VALVE - 2 SPEED POWER SHIFT, 685 : 18001-, 885 : 18001- (08) - HYDRAULICS

Схема запчастей Case IH 685 - (8-652) - REGULATOR VALVE - 2 SPEED POWER SHIFT, 685 : 18001-, 885 : 18001- (08) - HYDRAULICS
11
8
14
10
3
13
4
1
2
7
5
12
9
6
FIT
1:1
100%

Артикул

Название

Примечание

Количество

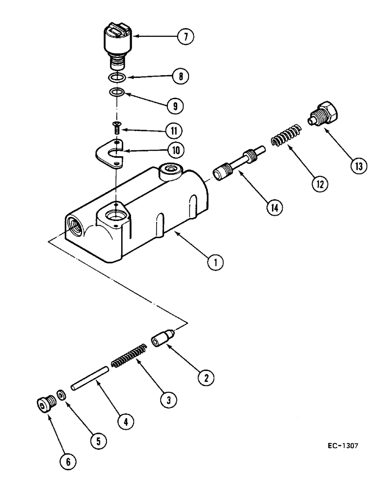
1

83006C93

VALVE

ASSY., with: Ref. 2 - 14

1шт.

2

399882R1

POPPET

1шт.

3

88426C1

SPRING

1шт.

4

399881R1

PIN

1шт.

5

1954071C1

WASHER

1шт.

6

1954070C1

PLUG

1шт.

7

1958120C1

SOLENOID VALVE

with: Ref. 8 and 9

1шт.

8

370920R1

O-RING,1/2" ID

1шт.

9

298385R1

O-RING,0.07" Thk x 0.676" ID, -17, Cl 5, 75 Duro

1шт.

10

1289695C1

COLLAR

1шт.

11

30827R1

SCREW,Cross Pan Hd, M4 x 8

2шт.

12

1289693C3

SPRING

1шт.

13

86398C2

PLUG

1шт.

14

NSS

NOT SOLD SEPARAT

SPOOL, not available separately

1шт.

Выбрано товаров: 14