Запчасти Case IH 685 (9-760) - ROOF - SEKURA - (09) - CHASSIS/ATTACHMENTS

Схема запчастей Case IH 685 - (9-760) - ROOF - SEKURA - (09) - CHASSIS/ATTACHMENTS
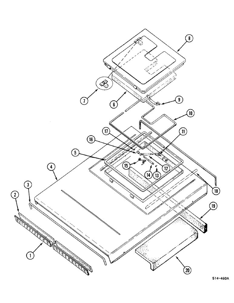
4
3
2
18
13
20
19
14
6
5
17
10
12
11
15
9
16
8
1
7
FIT
1:1
100%

Артикул

Название

Примечание

Количество

3123084R92

PANEL ASSY.

Consists of: Ref. 1 - 15 and 18 - 20

1шт.

1

3123830R1

GRILLE

1шт.

2

3123829R1

CAB FILTER

1шт.

3

3123669R1

PROTECTION STRIP

1шт.

4

NSS

NOT SOLD SEPARAT

PANEL, order P/N 3123084R92

1шт.

5

3123828R1

SEAL

1шт.

6

3123833R1

INSULATOR

1шт.

7

3129042R1

PAWL

1шт.

27479R1

SELF-TAP SCREW,Cross Pan Hd, #6 x 1"

1шт.

8

3129043R91

DOOR

1шт.

3123843R1

PIN

1шт.

3123844R1

RING

1шт.

9

3123832R1

HANDLE

1шт.

712684R1

SCREW,Sltd Pan Hd, M5 x 10

1шт.

934871R1

NUT,M5, Cl 5

1шт.

934490R1

LOCK WASHER,Ext Tooth, M5

1шт.

10

3123669R1

PROTECTION STRIP

1шт.

11

3123836R1

BALL JOINT

1шт.

174916

LOCK WASHER,Ext-Int Tooth, 1/4"

1шт.

12

3123835R1

CYLINDER, GAS

1шт.

13

3123840R1

SNAP RING

retaining

1шт.

14

3123837R1

PIN

pivot

1шт.

95-11028

WASHER,1/4"

1шт.

15

3123839R1

SPRING

1шт.

16

3123838R1

SPACER

1шт.

17

3123841R1

CLIP

1шт.

18

3123831R1

SEALING STRIP

SPARE PART

1шт.

19

3123827R2

INSULATOR

1шт.

20

3123826R1

INSULATOR

1шт.

3123867R1

VISOR, SUN

not illustrated

1шт.

3123868R1

SCREW

not illustrated

1шт.

Выбрано товаров: 0