Качественные детали и логистика
Оригинальные и аналоговые запчасти с доставкой по России, Казахстану и Беларуси
©2022 PartSell ООО "Система" ИНН 2463123282 ОГРН 1212400004838
Центральный офис: г. Красноярск, Академика Киренского, д.87, пом.4
Телефон: 8 (800) 777-65-74 Email: zakaz@partsell.ru
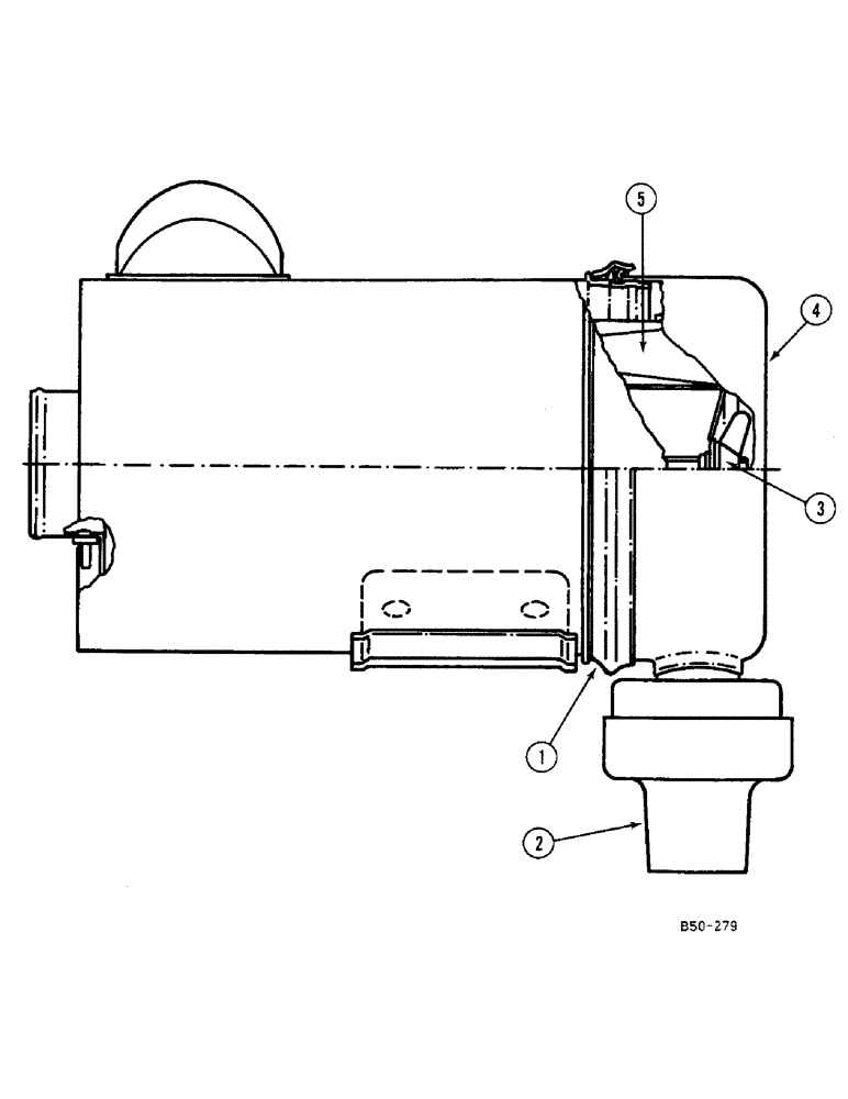
(2-096) - AIR CLEANER - DONALDSON
№
Артикул
Название
Примечание
Количество
3125250R92
AIR CLEANER
ASSEMBLY, Includes: Ref. 1-5
1шт.
1
3035559R1
CLAMP
1500219C1
O-RING
2
850470C1
BELLOWS
VALVE dust
3
412078C1
WING NUT
with gasket
4
3125252R1
COVER ASSY
5
3125251R1
FILTER, ELEMENT
ELEMENT, FILTER
Выбрано товаров: 0