Запчасти Case IH 685 (07-099) - GEAR SHIFT MECHANISM, SPEED TRANSMISSION, 685 SLOW AND FAST SPEED (04) - Drive Train

Схема запчастей Case IH 685 - (07-099) - GEAR SHIFT MECHANISM, SPEED TRANSMISSION, 685 SLOW AND FAST SPEED (04) - Drive Train
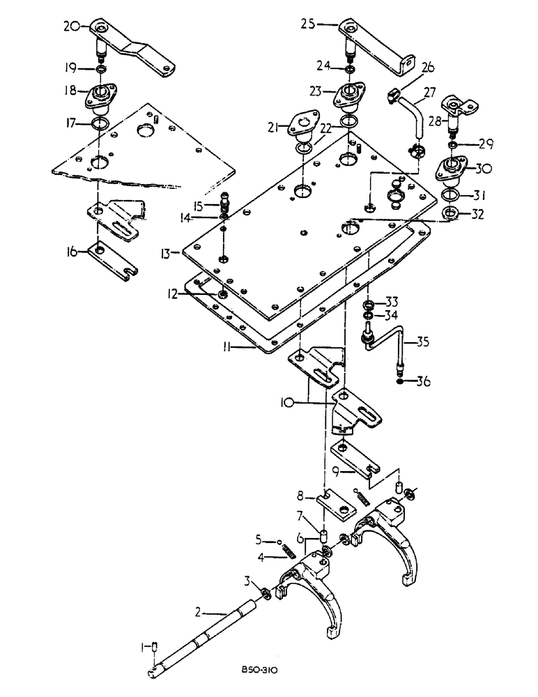
24
28
15
12
18
29
26
16
32
17
3
21
2
34
20
4
14
27
23
8
13
11
7
6
19
9
1
25
5
10
22
30
35
36
33
31
FIT
1:1
100%

Артикул

Название

Примечание

Количество

1

25155R1

PIN,1/4" x 1 1/4", Coiled

1шт.

2

3129154R1

RAIL

SPEED SHIFT FORK

1шт.

3

661652R1

SNAP RING,#75, Ext

4шт.

4

103062R1

SPRING, POPPET BALL

2шт.

5

17013R1

BALL,13/32" Dia

Poppet

2шт.

6

1500245C91

FORK

ASSY

2шт.

7

1500656C1

DOWEL

PIN 1/2 X 2-1/4 CHAMFERED

2шт.

8

3129171R1

ARM

SPEED SHIFT 3RD/4TH, FAST SPEED

1шт.

9

3129167R1

ARM

SPEED SHIFT 1ST/2ND

1шт.

10

1500249C1

LARGE PLATE

PLATE, LARGE INTERLOCK

2шт.

11

401621R3

GASKET

TOP COVER, W/TORQUE AMP

1шт.

11

401019R3

GASKET

TOP COVER

1шт.

12

21332R1

SNAP RING,#68, Ext

1шт.

13

3129161R91

COVER ASSY

CLUTCH HOUSING TOP, FAST SPEED

1шт.

13

3129163R91

COVER ASSY

CLUTCH HOUSING TOP, SLOW SPEED, INCLUDES STUD, PLUGS, BOLT AND SCREWS

1шт.

3129159R1

STUD

TOP COVER

1шт.

24901R1

PLUG,Cup, 3/8"

3/8 CUP

1шт.

349373R1

PLUG

1-1/4 CUP

1шт.

179816

BOLT,Hex, 5/16" - 18 x 3/4", Gr 5

2 required fast speed, 4 required slow speed

1шт.

179838

BOLT,Hex, 3/8" - 16 x 7/8", Gr 5, Full Thd

16шт.

13

3129157R91

COVER ASSY

CLUTCH HSG TOP, FAST SPEED W/TORQUE AMP, W/FORWARD AND REVERSE W/O TA

1шт.

13

3129160R91

COVER ASSY

CLUTCH HSG TOP, SLOW SPEED W/TORQUE AMP, W/FORWARD AND REVERSE W/O TA, INCLUDES STUD, PLUGS, BOLTS AND SCREWS

1шт.

3129159R1

STUD

TOP COVER

1шт.

24301R1

PLUG 3/8 CUP

1шт.

349373R1

PLUG

1-1/4 CUP

2шт.

179816

BOLT,Hex, 5/16" - 18 x 3/4", Gr 5

4шт.

179837

BOLT,Hex, 3/8" - 16 x 3/4", Gr 5

2шт.

413-616

BOLT,Hex, 3/8" - 16 x 1", Gr 5

W/Forward and Reverse

14шт.

14

371544R1

O-RING,0.07" Thk x 0.551" ID, -15, Cl 5, 75 Duro

NO. 15

1шт.

15

3129200R1

ADAPTER

1шт.

16

3129167R1

ARM

SPEED SHIFT 3RD/4TH, SLOW SPEED

1шт.

17

391733R1

O-RING,0.07" Thk x 1.114" ID, -24, Cl 6, 90 Duro

1-1/8 X 1-1/4 X 1/16

2шт.

18

3129165R1

HOUSING

SPEED SHIFT ARM, INCLUDES BOLTS

1шт.

179816

BOLT,Hex, 5/16" - 18 x 3/4", Gr 5

2шт.

19

392385R1

O-RING,0.07" Thk x 0.614" ID, -16, Cl 6, 90 Duro

1шт.

20

3129174R1

ARM ASSY.

SPEED SHIFT ACTUATING 3RD/4TH, SLOW SPEED, INCLUDES NUT

1шт.

19605R1

LOCK NUT,1/2"-13, GB

1/2-13 NYLON INSERT

1шт.

21

1500246C1

PIVOT ASSY.

INTERLOCK, FAST SPEED, INCLUDES BOLTS AND CLIP

1шт.

179816

BOLT,Hex, 5/16" - 18 x 3/4", Gr 5

2шт.

603570

CLIP, E TYPE

1шт.

22

391733R1

O-RING,0.07" Thk x 1.114" ID, -24, Cl 6, 90 Duro

1-1/8 X 1-1/4 X 1/16

2шт.

23

3129165R1

HOUSING

SPEED SHIFT ARM, INCLUDES BOLT, NUT AND WASHER

1шт.

179816

BOLT,Hex, 5/16" - 18 x 3/4", Gr 5

1шт.

120376

NUT,5/16"-18, G5

1шт.

103320

LOCK WASHER,5/16"

1шт.

24

392385R1

O-RING,0.07" Thk x 0.614" ID, -16, Cl 6, 90 Duro

1шт.

25

3129166R1

ARM ASSY.

SPEED SHIFT ACTUATING 1ST/2ND, INCLUDES NUT

1шт.

19605R1

LOCK NUT,1/2"-13, GB

NYLON INSERT 1/2-13

1шт.

26

534421R1

HOSE CLAMP

WORM DRIVE HOSE

2шт.

26

279025R91

HOSE CLAMP,#06, .44/.78 Type F Worm

2шт.

26

3112550R1

CLAMP

HOSE

2шт.

27

1500242C1

HOSE,6.75 mm ID, 12.7 mm OD, 92 mm Length

Lubrication

1шт.

28

3129172R1

ARM ASSY.

SPEED SHIFT ACTUATING 3RD/4TH, FAST SPEED, INCLUDES NUT

1шт.

19605R1

LOCK NUT,1/2"-13, GB

NYLON INSERT 1/2-13

1шт.

29

399365R1

SPARE PART O-RING 5/8 X 1/16 CLASS 6

1шт.

30

3129165R1

HOUSING

SPEED SHIFT ARM, INCLUDES BOLTS

1шт.

179816

BOLT,Hex, 5/16" - 18 x 3/4", Gr 5

2шт.

31

391733R1

O-RING,0.07" Thk x 1.114" ID, -24, Cl 6, 90 Duro

1-1/8 X 1-1/4 X 1/16

1шт.

32

1500250C1

SPACER

1шт.

33

269181R1

SNAP RING,#75, Ext

pressure lub body #75, Ext

1шт.

34

379184R1

O-RING 5/8 X 3/4 X 1/16

1шт.

35

3129164R1

TUBE ASSY.,0.25" OD, 190.5, 83 mm Length

TRANSMISSION LUB

1шт.

36

352219R1

O-RING,0.07" Thk x 0.239" ID, -10, Cl 5, 75 Duro

1/4 X 3/8 X 1/16

1шт.

Выбрано товаров: 63