Запчасти Case IH 685 (07-207) - CONTROL LEVER, 4-WHEEL DRIVE, Z F AXLE (04) - Drive Train

Схема запчастей Case IH 685 - (07-207) - CONTROL LEVER, 4-WHEEL DRIVE, Z F AXLE (04) - Drive Train
13
8
11
1
6
5
12
10
7
4
9
3
2
FIT
1:1
100%

Артикул

Название

Примечание

Количество

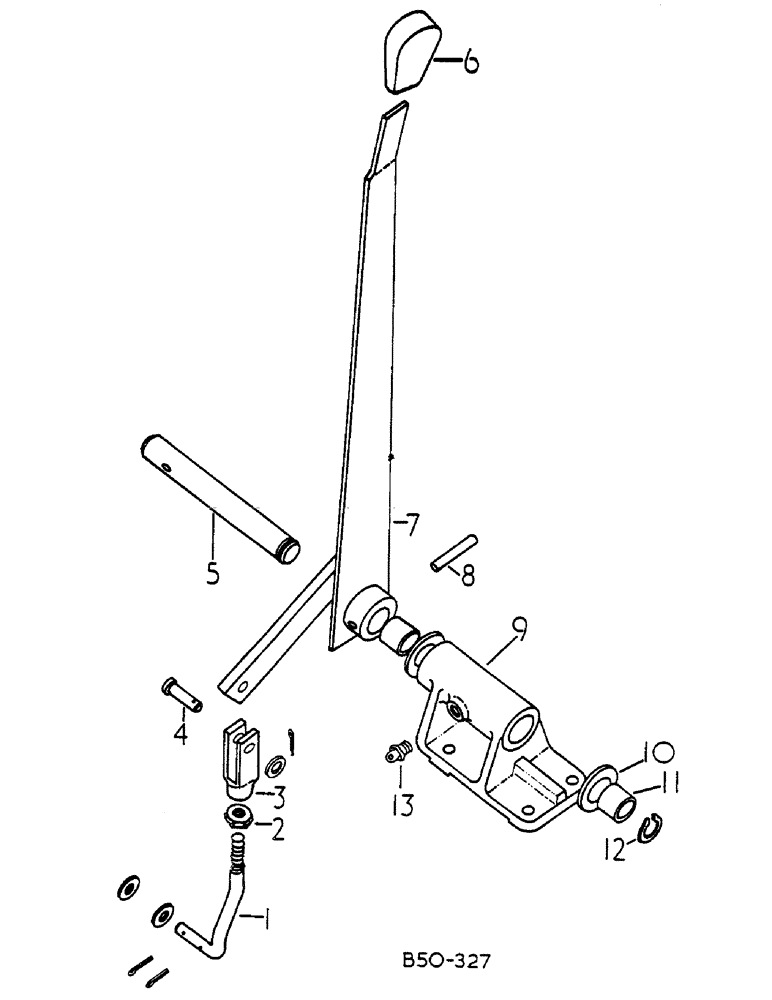
1

1500011C1

ROD

INCLUDES WASHERS AND PINS

1шт.

30282R1

WASHER,M10 x 20 x 2

10.8 X 21 X 2 ZND

2шт.

934792R1

COTTER PIN,M3.2 x 20

3.2 X 20 PLN EXT. PONG

2шт.

2

30168R1

NUT,M10, Cl 10

M10 PHC HEX

1шт.

3

3129369R1

CLEVIS

1шт.

4

30387R1

SPLIT PIN/SAFETY PIN

M10 X 30 PHC CLEVIS, INCLUDES WASHER AND PIN

1шт.

30282R1

WASHER,M10 x 20 x 2

10.8 X 21 X 2 ZND

1шт.

934792R1

COTTER PIN,M3.2 x 20

3.2 X 20 PLN EXT. PRONG

1шт.

5

1500008C1

SHAFT

1шт.

6

3129746R1

BUTTON

KNOB

1шт.

7

1500000C1

LEVER

1шт.

8

Q2935

LOCK PIN,M8 x 45, Slotted

1шт.

9

1500004C91

BRACKET

ASSY, W/TWO BUSHING 405574R1, INCLUDES NUTS, BOLTS, WASHERS AND STUDS

1шт.

30284R1

NUT,M10, Cl 10

M10 ZND HEX

2шт.

11106231

BOLT,Hex, M10 x 1.5 x 25mm, Cl 10.9

M10 X 25 ZND HEX HD

2шт.

933965R1

LOCK WASHER,M10

Helical

2шт.

1500763C1

STUD

M10 X 42

2шт.

10

1500009C1

SPACER

2шт.

11

405574R1

BUSHING

2шт.

12

454417R1

SNAP RING,#100, Ext

#100, Ext

1шт.

13

109461

LUBE NIPPLE,1/8"-27 x .66 lg

PTF

1шт.

1093130R1

PRODUCT GRAPHIC

SPARE PART CAUTION, NOT ILLUSTRATED

1шт.

1093124R1

PRODUCT GRAPHIC

CONTROL, NOT ILLUSTRATED

1шт.

1093136R1

PRODUCT GRAPHIC

LUBRICATION, NOT ILLUSTRATED

1шт.

Выбрано товаров: 24