Запчасти Case IH 685 (13-008) - REAR PANELS SYNCHRO, 685 SLOW AND FAST SPEED (05) - SUPERSTRUCTURE

Схема запчастей Case IH 685 - (13-008) - REAR PANELS SYNCHRO, 685 SLOW AND FAST SPEED (05) - SUPERSTRUCTURE
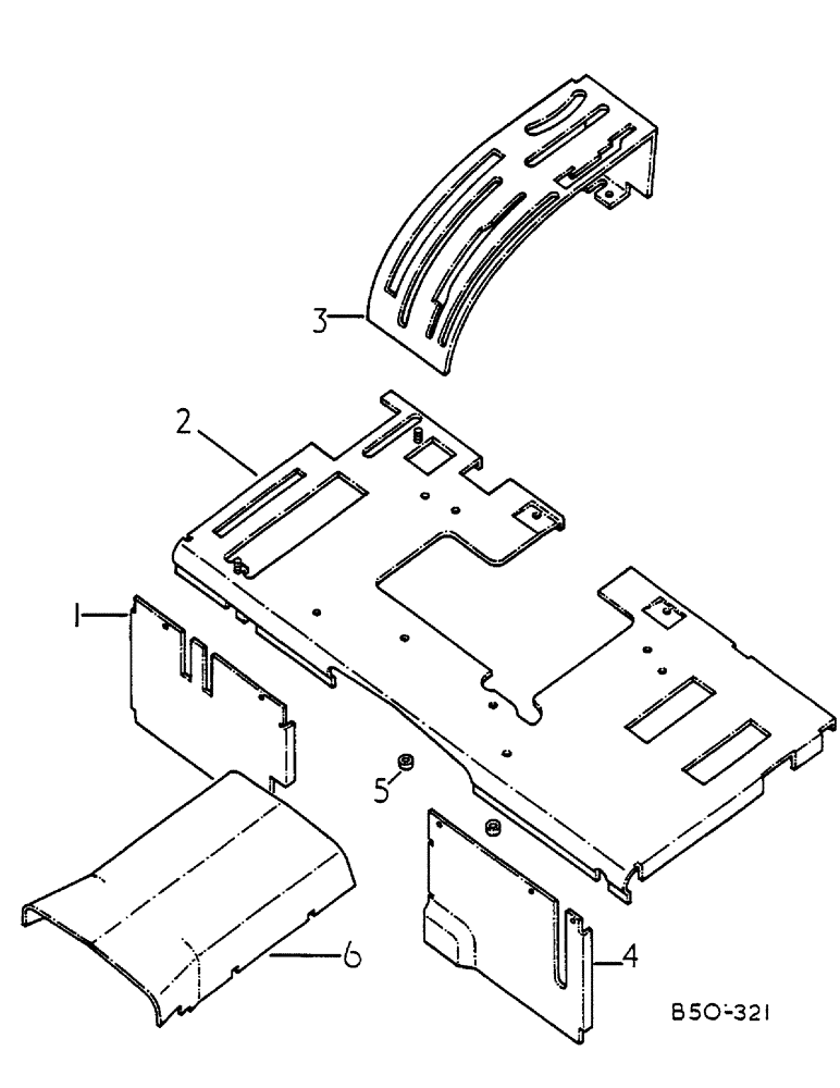
4
6
1
5
3
2
FIT
1:1
100%

Артикул

Название

Примечание

Количество

1

3123711R2

CHANNEL ASSY, REAR VERTICAL R.H., W/SINGLE AUX VALVE

1шт.

1

3125857R1

CHANNEL

ASSY, REAR VERTICAL R.H., W/MULTIPLE AUX VALVE

1шт.

2

3129233R1

COVER ASSY

REAR TOP, INCLUDES NUTS AND WASHERS

1шт.

120368

NUT,5/16"-24, G5

5шт.

80681

LOCK WASHER,5/16"

5шт.

3

529457R61

COVER ASSY

HITCH CONTROL LEVER, STANDARD MACHINES

1шт.

3

3121558R2

COVER ASSY

HITCH CONTROL LEVER, 4-WHEEL DRIVE

1шт.

4

528638R2

PROTECTION PLATE

CHANNEL ASSY, REAR VERTICAL L.H., INCLUDES BOLTS

1шт.

413-410

BOLT,Hex, 1/4" - 20 x 5/8", Gr 5

1/4 X 5/8 TYPE 5

3шт.

5

401941R1

SPACER

MOUNTING SHORT

2шт.

6

66290C1

COVER

ASSY, CLUTCH HOUSING, INCLUDES SCREWS

1шт.

445957

INDICATOR

1/4 X 3/8 ZNP P/HDS MACH

4шт.

Выбрано товаров: 12