Запчасти Case IH 685 (10-039) - HYDRAULIC PUMP AND CONNECTIONS, TRACTORS WITH TORQUE AMPLIFIER (07) - HYDRAULICS

Схема запчастей Case IH 685 - (10-039) - HYDRAULIC PUMP AND CONNECTIONS, TRACTORS WITH TORQUE AMPLIFIER (07) - HYDRAULICS
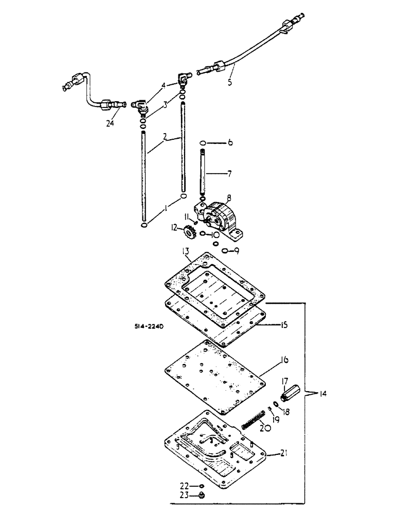
24
11
4
12
7
18
6
21
15
9
10
22
20
17
23
3
5
13
8
1
14
16
19
2
FIT
1:1
100%

Артикул

Название

Примечание

Количество

1

252739R1

O-RING,0.103" Thk x 0.487" ID, -112, Cl 5, 75 Duro

1/2 X 11/16 X 3/32

2шт.

2

402545R1

PRESSURE PIPE

TUBE, PUMP

2шт.

3

570828R1

O-RING,0.087" Thk x 0.644" ID, -908, Cl 6, 90 Duro

1/2 OD TUBE

2шт.

4

9410977

ELBOW,90 Degree, 3/4"-16, 37 Degree x 3/4"-16, O-Ring

3/4-16 C-Z 37 DEG HYD FLARED TUBE

2шт.

5

66116C2

TUBE ASSY.,0.5" OD, 13.04, 2.26" Length

TORQUE AMPLIFIER

1шт.

6

382997R1

O-RING,0.07" Thk x 0.489" ID, -14, Cl 6, 90 Duro

1/2 X 5/8 X 1/6

2шт.

7

402544R1

SUCTION PIPE

TUBE, OIL INLET

1шт.

8

402540R91

PUMP, HYDRAULIC

ASSY, TRACTORS W/TORQUE AMPLIFIER, UP TO 4242, 6597 UP

1шт.

8

527757R91

PUMP

ASSY, TRACTORS W/TORQUE AMPLIFIER FITTED, W/DE-LUXE CAB, 4243 UP, UP TO 6596, INCLUDES SCREWS AND WASHERS

1шт.

179841

BOLT,Hex, 3/8" - 16 x 1 1/4", Gr 5

2шт.

103321

LOCK WASHER,3/8"

2шт.

9

574069R1

O-RING,0.750" ID x .062"

3/4 X 7/8 X 1/16

1шт.

10

128359

O-RING,0.07" Thk x 0.614" ID, -16, Cl 5, 75 Duro

5/8 X 3/4 X 1/16

2шт.

11

427261

KEY

1/8 X 3/8 WOODRUFF

1шт.

12

527758R1

GEAR

PUMP DRIVEN SET, TRACTORS W/TORQUE AMPLIFIER, UP TO 4242, 6597 UP

1шт.

12

528076R1

GEAR

PUMP DRIVEN 14T, TRACTORS W/TORQUE AMPLIFIER FITTED W/DE-LUXE CAB, 4243 UP, UP TO 6596, INCLUDES WASHER AND NUT

1шт.

115548

LOCK WASHER,Int Tooth, 5/16"

1шт.

114493

JAM NUT,Jam, 5/16"-24, G5

1шт.

13

402556R2

GASKET

PUMP MOUNTING FLANGE LT

1шт.

14

402547R96

VALVE

ASSY, REGULATOR

1шт.

15

402554R1

PLATE

PUMP

1шт.

16

402555R2

GASKET

PUMP PLATE

1шт.

17

PLUG, SHORT, SEE PACKAGE 65732C91

1шт.

17

PLUG, LONG, SEE PACKAGE 1502344C91

1шт.

18

570828R1

O-RING,0.087" Thk x 0.644" ID, -908, Cl 6, 90 Duro

1/2 OD TUBE

1шт.

19

SHIM, SEE PACKAGE 65732C91

1шт.

20

SPRING, REGULATOR VALVE, SEE PACKAGE 65732C91, SEE PACKAGE 1502344C91

1шт.

21

402548R1

BODY

REGULATOR VALVE, INCLUDES SCREWS AND WASHERS

1шт.

179842

SPACER

3/8-16 X 1-3/8 HEX HD CAP

11шт.

103321

LOCK WASHER,3/8"

11шт.

22

369751R2

O-RING

1/4 OD TUBE

1шт.

23

9410356

PLUG

7/16-20 C-Z STR O-RING BOSS

1шт.

24

66117C1

TUBE ASSY.

OIL COOLER RETURN REAR

1шт.

65732C91

KIT

PACKAGE, REG VALVE SERVICE, UP TO S/N 685/10997, NOT ILLUSTRATED

1шт.

1502344C91

PACKAGE

REG. VALVE SERVICE, S/N 685/10998 UP, NOT ILLUSTRATED

1шт.

Выбрано товаров: 35