Запчасти Case IH 685 (12-017) - FUEL TANK AND BRACKETS, DE-LUXE CAB Power

Схема запчастей Case IH 685 - (12-017) - FUEL TANK AND BRACKETS, DE-LUXE CAB Power
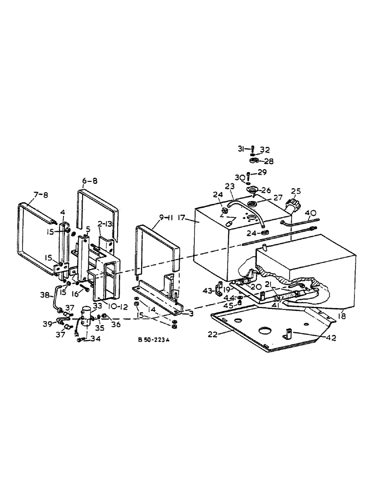
3
7
37
4
6
35
15
26
25
14
39
11
24
5
22
24
19
42
28
33
29
45
40
21
37
9
20
41
34
38
43
44
27
17
2
23
32
31
12
18
10
15
8
36
16
30
13
15
15
8
FIT
1:1
100%

Артикул

Название

Примечание

Количество

1

NOT APPLICABLE

1шт.

2

3125636R1

BRACKET

FUEL TANK FRONT L.H.

1шт.

3

3125637R1

BRACKET

SPARE PART FUEL TANK FRONT R.H.

1шт.

4

3125638R1

BRACKET

SPARE PART FUEL TANK REAR L.H.

1шт.

5

3125639R1

BRACKET

SPARE PART FUEL TANK REAR R.H.

1шт.

6

3125640R1

CLAMP

SPARE PART FRONT L.H.

1шт.

7

3125641R1

CLAMP

SPARE PART REAR L.H.

1шт.

8

3125642R1

PLATE

SPARE PART RUBBER FILLER

3шт.

9

3125643R1

CLAMP

FRONT R.H.

1шт.

10

3125644R1

CLAMP

SPARE PART REAR R.H.

1шт.

11

3125642R1

PLATE

SPARE PART RUBBER FILLER

1шт.

12

3125645R1

PLATE

RUBBER FILLER

1шт.

13

3125646R1

PLATE

RUBBER FILLER

2шт.

14

934488R1

LOCK WASHER,Ext Tooth, M8

WASHER 5/16

8шт.

15

30167R1

NUT,M8, Cl 10

8шт.

16

930244R1

BOLT,Hex, M8 x 1.25 x 25mm, Cl 8.8, Full Thd

BOLT M8 X 25

1шт.

17

3125647R1

TANK

SPARE PART FUEL L.H.

1шт.

18

3125648R1

TANK

SPARE PART FUEL R.H.

1шт.

19

3125649R1

PIPE

SPARE PART CONECTING

1шт.

20

3125650R1

HOSE

SPARE PART RUBBER

2шт.

21

3125651R1

CLAMP

HOSE

4шт.

22

3125652R1

PLATE

FUEL PIPE COVER

1шт.

23

3125653R1

PIPE

SPARE PART BREATHER

1шт.

24

274085R91

HOSE CLAMP,#10, 0.56/1.06 Type F Worm

2шт.

25

536845R1

PLUG

CAP, FILLER

1шт.

25

538063R1

PLUG

CAP, FILLER, OPTIONAL, INCLUDES GASKET

1шт.

GASKET, FILLER CAP

1шт.

26

529790R1

SENDER UNIT

FUEL GAUGE, A.C. DELCO

1шт.

26

3129841R91

FUEL GAUGE

TRANSMITTER, FUEL GAUGE, ICKNIELD, OPTIONAL

1шт.

27

528359R1

GASKET

SENDING UNIT

1шт.

28

528360R1

CAP

SENDING UNIT

1шт.

29

463-1108

SCREW,Hex Hd, #10-24 x 1/2"

10-24 X 1/2 CZ HEX HD MACH

5шт.

30

533199R1

SEALING WASHER

SENDING UNIT COVER SEALING

5шт.

31

440-1106

SCREW,Cross Pan Hd, #10-24 x 3/8"

10-24 X 3/8 CZ CR REC PAN HD MACH

1шт.

32

7960002R1

WASHER, SENDING UNIT COVER SEALING

1шт.

33

631259R91

PUMP

FUEL

1шт.

34

930242R1

BOLT,Hex, M6 x 1 x 12mm, Cl 8.8, Full Thd

Set

2шт.

35

174916

LOCK WASHER,Ext-Int Tooth, 1/4"

1/4 TOOTHED

2шт.

36

30208R1

NUT,M6, Cl 10

M6

2шт.

37

UNION

1шт.

38

3125655R1

PIPE

PRESSURE, PUMP TO FILTER

1шт.

39

3125656R1

PIPE

SUCTION, TANK TO PUMP

1шт.

40

3125657R1

PIPE

RETURN, PUMP TO NOZZLE

1шт.

41

3125658R1

HOSE

SPARE PART R.H. RUBBER

1шт.

42

3125660R1

BRACKET

SPARE PART L.H. COVER PLATE

1шт.

43

3125659R1

BRACKET

SPARE PART L.H. COVER PLATE

1шт.

44

3125661R1

WASHER

FIBRE

1шт.

45

3125662R1

PLUG

SPARE PART

1шт.

3125672R1

PLATE, FILLER, NOT ILLUSTRATED

1шт.

3125673R1

PLATE

SPARE PART FILLER RUBBER, NOT ILLUSTRATED

1шт.

3125674R1

BRACKET

SPARE PART COVER PLATE, FRONT, NOT ILLUSTRATED

1шт.

3125675R1

CABLE

SPARE PART FUEL METER, NOT ILLUSTRATED

1шт.

Выбрано товаров: 52