Запчасти Case IH 695 (6-032) - REAR FRAME, TOP COVER (06) - POWER TRAIN

Схема запчастей Case IH 695 - (6-032) - REAR FRAME, TOP COVER (06) - POWER TRAIN
10
26
12
18
29
6
4
19
24
13
16
4
9
14
21
21
8
20
15
22
21
5
17
1
4
25
11
15
30
21
7
19
27
28
14
23
FIT
1:1
100%

Артикул

Название

Примечание

Количество

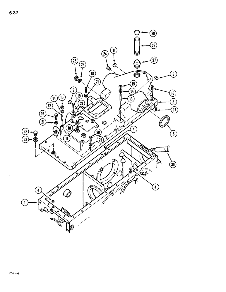
1

1537332C1

FRAME ASSY

FRAME ASSEMBLY - rear (See Figure 6-026)

1шт.

4

406734R3

SEALING RING

- teflon

3шт.

5

406003R32

HOUSING ASSY.

HOUSING ASSEMBLY - hydraulic unit (With draft control) (See Figure 8-46)

1шт.

5

529381R96

COVER ASSY

COVER ASSEMBLY - rear frame (Without hydraulic draft control), Includes: Ref. 6 - 13

1шт.

6

24469R1

PLUG,Cup, 3 1/4"

- cup, 3-1/4 inch

2шт.

7

373553R1

PLUG,Cup, 7/8"

- cup, 7/8 inch

1шт.

8

386194R1

PLUG,Cup, 3/4"

- cup, 3/4 inch

1шт.

9

41600D

PLUG,Cup, 1 1/8"

- cup, 1-1/8 inch

1шт.

10

13-820

BOLT,Hex, 1/2" - 13 x 1-1/4", Gr 5, Full Thd

3шт.

11

231-1408

LOCK NUT,1/2"-13, GB

NUT - hex lock, 1/2 inch NC

3шт.

12

531144R1

STUD

- top cover, short

2шт.

13

531143R2

STUD

- top cover, long

2шт.

14

492-11038

LOCK WASHER,3/8"

4шт.

15

425-106

NUT,3/8"-16, Cl 5

4шт.

16

13-830

BOLT,Hex, 1/2" - 13 x 1-7/8", Gr 5

4шт.

17

413-826

BOLT,Hex, 1/2" - 13 x 1-5/8", Gr 5

- hex, 1/2 NC x 1-5/8 inch

2шт.

18

113-219

BOLT,Hex, 3/8" - 16 x 2", Gr 5

1шт.

19

13-644

BOLT,Hex, 3/8" - 16 x 2-3/4", Gr 5

- hex, 3/8 NC x 2-3/4 inch

2шт.

20

13-630

BOLT,Hex, 3/8" - 16 x 1-7/8", Gr 5

- hex, 3/8 NC x 1-7/8 inch

11шт.

21

92-11038

LOCK WASHER,3/8"

WASHER, LOCK, 3/8"

14шт.

22

536855R1

PLUG

- hex, 3/4 inch NF O-ring boss

1шт.

23

237-6008

O-RING,0.087" Thk x 0.644" ID, -908, Cl 6, 90 Duro

8-1, 90 Duro, .644" ID x .087" Thk

1шт.

24

444697

PLUG,Hex Soc, 3/8"-18

- hex socket, 3/8 inch PTF

1шт.

24

444698

PLUG

- hex socket, 3/8 inch PTF, Serial Range: (Optional-444697)

1шт.

25

9410359

PLUG

- hex, 3/4 inch NF o-ring boss

1шт.

26

237-6008

O-RING,0.087" Thk x 0.644" ID, -908, Cl 6, 90 Duro

8-1, 90 Duro, .644" ID x .087" Thk

1шт.

27

20953R1

DRAIN PLUG,Sq Hd, 1 1/4"-11 1/2 NPTF

PLUG - square head, 1-1/4 inch PTF without breather (Prior To P.I.N. JJE0011772)

1шт.

27

1537543C1

ADAPTER

PLUG - square head, 1-1/4 inch PTF with breather (P.I.N. JJE0011772 And After)

1шт.

28

28747R1

PIPE,Nipple, 1 1/4" NPT x 7"

- filler extension, 1-1/4 x 7 inch (With cab)

1шт.

29

221-528

CAP,1 1/4" NPT

- 1-1/4 inch dia. pipe (With cab)

1шт.

30

B17555

LOCTITE

SEALANT - Gasket Maker No. 515, 50 ml tube

1шт.

Выбрано товаров: 31