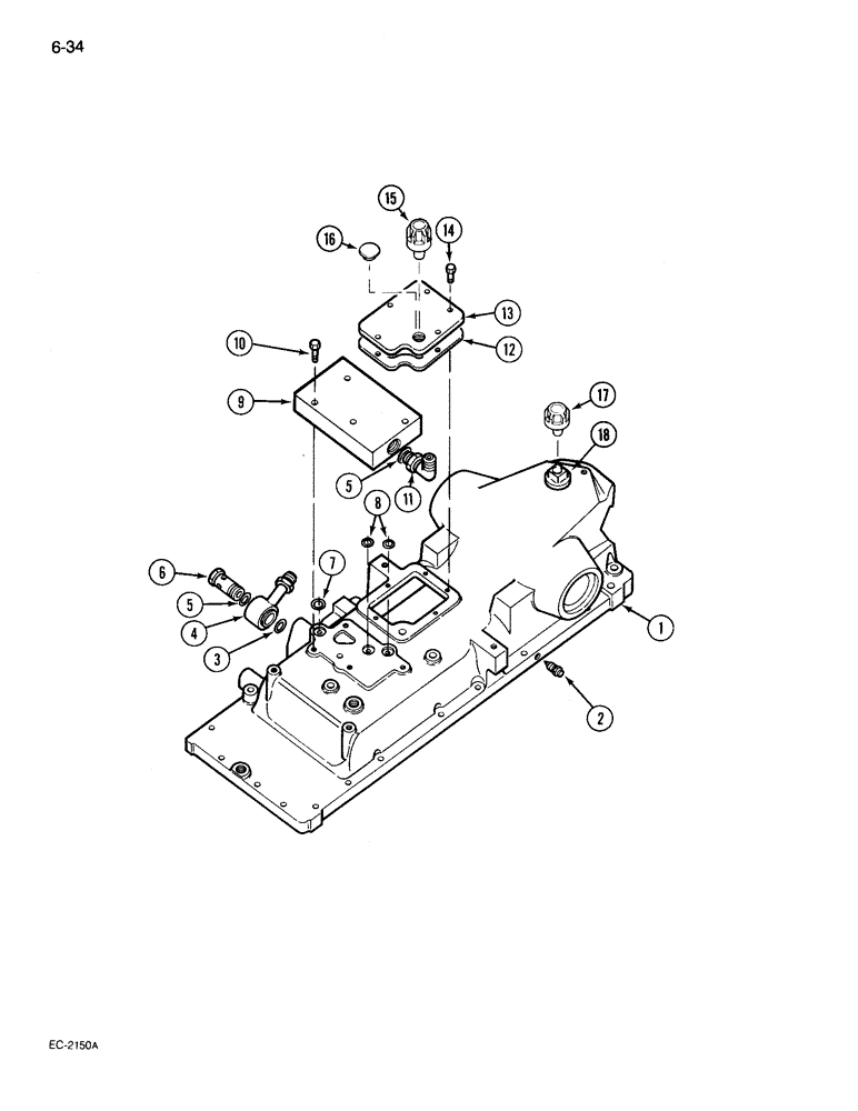
Запчасти Case IH 695 (6-034) - REAR FRAME, TOP COVER CONNECTIONS (06) - POWER TRAIN

Схема запчастей Case IH 695 - (6-034) - REAR FRAME, TOP COVER CONNECTIONS (06) - POWER TRAIN
7
3
6
2
8
1
4
9
5
16
17
12
14
13
11
15
18
5
10
FIT
1:1
100%

Артикул

Название

Примечание

Количество

1

529381R96

COVER ASSY

COVER ASSEMBLY - rear frame (See Figure 6-032)

1шт.

2

82301R1

BLEEDER,3/8" - 24 x 117mm

- brake bleed

2шт.

3

238-6021

O-RING,15/16 X 1 - 1/16, Cl 6

1шт.

4

66762C1

PIPE,0.625" OD, 3.5" Length

TUBE ASSEMBLY - inlet union

1шт.

5

237-6010

O-RING,0.097" Thk x 0.755" ID, -910, Cl 6, 90 Duro

10-1, 90 Duro, .755" ID x .097" Thk

2шт.

6

66766C1

PLUG

- inlet union

1шт.

7

238-6115

O-RING,0.103" Thk x 0.674" ID, -115, Cl 6, 90 Duro

1шт.

8

238-5113

O-RING,0.103" Thk x 0.549" ID, -113, Cl 5, 75 Duro

2шт.

9

529382R1

MANIFOLD

- auxiliary valve

1шт.

10

113-219

BOLT,Hex, 3/8" - 16 x 2", Gr 5

4шт.

11

218-5107

90 ELBOW,90 Degree Elbow, 7/8" - 14 Male JIC x 7/8" - 14 Male ORB

- 90 degree, 7/8 inch NF flare x adj O-ring boss

1шт.

12

1970892C1

GASKET

- linkage access cover

1шт.

13

99969C1

COVER

- linkage access

1шт.

14

113-1

BOLT,Hex, 1/4" - 20 x 1/2", Gr 5

5шт.

15

1971726C1

BREATHER,1/4" - 18

- hydraulic unit housing, 1/4 inch PT (Prior To P.I.N.JJE0011772)

1шт.

16

444619

PIPE CLAMP

PLUG - 1/4-8 PLN H/HD AUT

1шт.

17

1971726C1

BREATHER,1/4" - 18

- hydraulic unit housing, 1/4 inch PT (P.I.N.JJE0011772 And After)

1шт.

18

1537543C1

ADAPTER

PLUG - square head 1 1/4 inch PTF with breather (P.I.N.JJE0011772 And After)

1шт.

Выбрано товаров: 18