Запчасти Case IH 695 (9-052) - CAB, ROOF FRAME (09) - CHASSIS/ATTACHMENTS

Схема запчастей Case IH 695 - (9-052) - CAB, ROOF FRAME (09) - CHASSIS/ATTACHMENTS
35
34
7
29
2
25
16
23
15
37
13
19
5
7
28
9
33
11
21
29
20
3
36
24
1
31
10
38
32
14
30
17
26
12
6
4
8
27
18
22
FIT
1:1
100%

Артикул

Название

Примечание

Количество

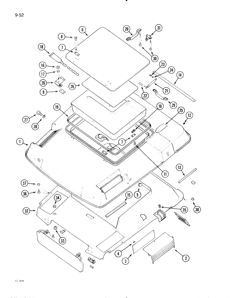
1535159C4

CAB

- complete with trim (With air conditioning), Includes: Ref. 1 - 38

1шт.

1535196C3

CAB

- complete with trim (Without air conditioning), Includes: Ref. 1 - 38

1шт.

NSS

NOT SOLD SEPARAT

ROOF ASSEMBLY - cab, with cover, Includes: Ref. 1 - 25

1шт.

1

1344438C1

ROOF

FRAME ASSEMBLY - roof

1шт.

2

3233568R2

SIEVE

GRILLE - cab recirculation

2шт.

3

3234118R2

FILTER SCREEN

SCREEN - cab recirculation

2шт.

4

3234041R1

SPRING NUT

NUT - spring

8шт.

5

3233692R2

PLUG

- rubber

2шт.

6

82456C3

HATCH

ASSEMBLY - cab roof (See Figure 9-056)

1шт.

7

3233679R1

PLATE

- support

6шт.

8

905925R1

SCREW,M6 x 12mm, BZN

- countersunk, cross recess, 6 x 12 mm

10шт.

9

3233671R1

PLATE

- with thread

4шт.

10

3233680R4

HOLDER

BRACKET - gas spring anchor

2шт.

11

3234171R1

SCREW

- hi-lo

10шт.

12

3234212R2

PLUG

- cover

6шт.

13

3402920R2

SEAL

STRIP - roof, 440 mm

2шт.

14

1280239C1

GASKET

GASKET - foam

1шт.

15

1280448C1

SEAL

SEAL - cab recirculation, 280 mm

2шт.

16

832-10406

NUT,M6 x 1, Cl 8

LOCK, M6 x 1, Cl 8

2шт.

17

895-11006

WASHER,6.6mm ID x 12mm OD x 1.6mm Thk

2шт.

18

3234047R1

PLASTIC GASKET

ADHESIVE - silicon, 310 ml

1шт.

19

1328329C2

SEAL

- roof hatch

1шт.

20

1328160C1

HINGE

- roof hatch

2шт.

21

3399422R3

GAS STRUT,225mm Extended, 165mm Compressed

STRUT - gas filled

2шт.

22

3233294R1

LOCK PIN,M6 x 14, Slotted

PIN - roll, 6 x 14 mm

2шт.

23

3234082R1

PIN

- gas strut swivel

2шт.

24

3233681R1

SNAP RING

RING - retaining

2шт.

25

89675C1

ADHESIVE

- black silicon, 310 ml (Order 3234433R1)

1шт.

26

1330746C1

FOAM

PAD - foam

1шт.

27

614-8012

BOLT,Hex, M8 x 1.25 x 12mm, Cl 8.8, Full Thd

- hex, 8 mm - 1.25 x 12 mm

6шт.

28

892-11008

LOCK WASHER,8mm ID

WASHER, LOCK, M8

6шт.

29

3234209R1

HANDLE

- roof

3шт.

30

905928R1

SELF-TAP SCREW,Pan Hd, M4.2 x 22

SCREW - tapping, round cross recess, 4.2 x 22 mm

14шт.

31

3234190R1

LOCK

CATCH - hatch retaining

1шт.

32

98105C3

INSULATOR

LINING - cab roof (Prior to cab JKJ0025598)

1шт.

32

1280438C4

LINING

- cab roof (Cab JKJ0025598 and After)

1шт.

33

3234399R4

BUSHING

- screw

1шт.

34

3234395R1

PUSH-ON NUT

WASHER - lock

1шт.

35

905930R1

SELF-TAP SCREW,Flat Hd, M4.2 x 13

SCREW - tapping, flat cross recess, 4.2 x 13 mm

1шт.

36

905936R1

SELF-TAP SCREW,Oval Hd, M4.2 x 19

SCREW - tapping, oval cross recess, 4.2 x 19 mm

1шт.

36

905934R1

SELF-TAP SCREW,Oval Hd, M4.2 x 22

SCREW - tapping, oval cross recess, 4.2 x 22 mm

1шт.

37

3402617R1

CUP WASHER

WASHER - cup

1шт.

38

3404266R1

BUSHING

- screw (Order 3234052R1)

1шт.

Выбрано товаров: 43