Запчасти Case IH 724 (242) - SAFETY FRAME (09) - CHASSIS

Схема запчастей Case IH 724 - (242) - SAFETY FRAME (09) - CHASSIS
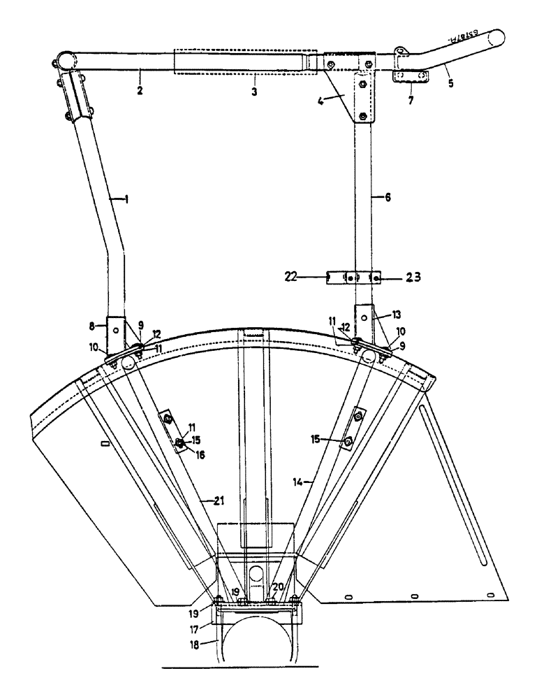
19
2
14
6
8
11
11
15
9
11
1
16
10
10
7
23
21
4
12
12
13
18
5
3
9
15
20
19
17
22
FIT
1:1
100%

Артикул

Название

Примечание

Количество

1

3142015R1

X

Standrohr, hinten

2шт.

2

3142007R1

CINTRE

BOW Rohrbogen, hinten

1шт.

3

3137468R1

SHIELD

Schutzpolsterrohr

1шт.

4

3142008R1

Klemmenhälfte (im Bild sichtbar)

4шт.

4

3142009R1

CLAMP

Klemmenhälfte (im Bild verdeckt)

4шт.

3136882R1

S M12 x 70 mm

20шт.

933970R1

NUT,M12 x 1.5, Thin

M M12

20шт.

3137981R1

CAP

Sechskantschutz

1шт.

5

3142004R91

CINTRE

BOW Rohrbogen, vorn

1шт.

6

3142013R1

SUPPORT

Standrohr, vorn

2шт.

7

3142273R1

PROTECTOR

SPARE PART Kappe

2шт.

8

3139498R11

Stütze, hinten, links

1шт.

8

3139499R91

Stütze, hinten, rechts

1шт.

9

3141484R1

WASHER

14шт.

10

931383R1

BOLT

14шт.

100016

NUT,M10 x 1.5, Cl 8

14шт.

933965R1

LOCK WASHER,M10

14шт.

11

933133R1

WASHER,M10.5 ID x 20 OD x 2 Thk

22шт.

12

3139526R1

Ausgleichscheibe, 2 mm, oder

1шт.

12

3139525R1

Ausgleichscheibe, 3 mm

1шт.

13

3139494R11

BASE

vorn, links

1шт.

13

3139495R91

Stütze, vorn, rechts

1шт.

14

3139486R11

X

Schutzblechverstärkung, vorn, links

1шт.

14

3139485R11

SUPPORT

Schutzblechverstärkung, vorn, rechts

1шт.

15

931382R1

CARRIAGE BOLT,Sq Nk, M10 x 30mm, Cl 4.6

Flachrund

8шт.

100016

NUT,M10 x 1.5, Cl 8

14шт.

933965R1

LOCK WASHER,M10

14шт.

16

934050R1

WASHER,M11

SPARE PART mit Vierkantloch

8шт.

17

3139503R11

PLATE

Stützwinkel

2шт.

18

3139524R1

BOLT

SPARE PART

2шт.

933967R1

LOCK WASHER,M14

4шт.

933969R1

NUT,M14 x 1.5, Cl 6

4шт.

19

934066R1

WASHER

16шт.

20

931133R1

BOLT,Hex, M14 x 2 x 50mm, Cl 10.9

8шт.

933967R1

LOCK WASHER,M14

8шт.

21

3139490R91

SUPPORT

Schutzblechverstärkung, hinten, links

1шт.

21

3139491R91

SUPPORT

Schutzblechverstärkung, hinten, rechts

1шт.

22

3141797R1

SUPPORT

Halter für Warndreieck

2шт.

87716

BOLT,1/4"-20 x 1-1/4", Cl 5

1шт.

280112

BOLT,Hex, 1/4" - 20 x 1-1/2", Gr 5

1шт.

492-11025

LOCK WASHER,1/4"

2шт.

120375

NUT,Hex, 1/4" - 20, Gr 5

2шт.

23

120385

WASHER,3/16"

2шт.

Выбрано товаров: 43