Запчасти Case IH 730 SERIES (152) - BRAKES AND CONTROLS, ALL 730 AND 830, EXCEPT GROVE (07) - BRAKES

Схема запчастей Case IH 730 SERIES - (152) - BRAKES AND CONTROLS, ALL 730 AND 830, EXCEPT GROVE (07) - BRAKES
13
58
28
7
16
39
8
41
30
14
25
16
56
32
10
60
57
17
26
5
17
35
9
44
27
38
40
18
52
11
31
61
18
6
28
32
63
31
29
59
1
12
2
15
19
4
54
62
37
50
19
29
53
55
42
4
34
7
33
36
3
44
43
FIT
1:1
100%

Артикул

Название

Примечание

Количество

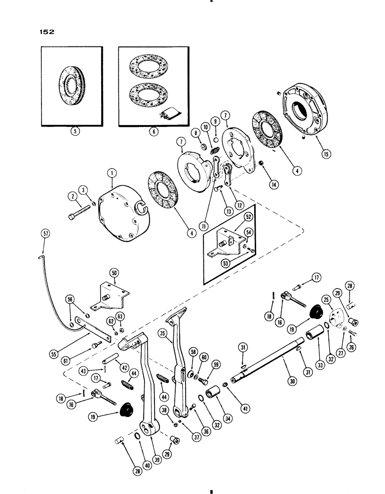
1

A26353

COVER - brake

2шт.

2

13-860

BOLT,Hex, 1/2" - 13 x 3-3/4", Gr 5

Cover Hex, 1/2"-13 x 3 3/4", G5

8шт.

2

13-876

BOLT,Hex, 1/2" - 13 x 4-3/4", Gr 5

Cover (G.P. 4 whl. hi. cir.) Hex, 1/2"-13 x 4 3/4", G5

6шт.

2

13-876

BOLT,Hex, 1/2" - 13 x 4-3/4", Gr 5

Cover (Western) Hex, 1/2"-13 x 4 3/4", G5

2шт.

2

13-888

BOLT,Hex, 1/2" - 13 x 5-1/2", Gr 5

Cover (Western) Hex, 1/2"-13 x 5 1/2", G5

4шт.

3

92-8

LOCK WASHER,1/2"

14шт.

4

A40794

DISC

. ASSY. - middle, w/bonded lining, Includes: Ref. 6, Start Serial: 8280138

4шт.

4

A43371

DISC

. ASSY. - middle (Riceland Special), Includes: Ref. 6

4шт.

5

A30180

X

DISC. ASSY. - middle, w/rivet lining (Order A40794), Includes: Ref. 6, Serial Range: -8280138

4шт.

6

A30182

LINING

KIT - middle disc., w./rivets

1шт.

7

A31126

DISC

- brake actuating

4шт.

8

A31125

INSERT

- ball seat

12шт.

9

211-15

BALL,5/8" Dia

- actuating (.) 5/8" Dia

6шт.

10

A30897

SPRING

- disc tension

6шт.

11

A31119

LINK

- actuating disc, single

2шт.

12

A31120

LINK

- actuating disc., dual

2шт.

13

A31121

STEP BOLT

BOLT - actuating disc.

4шт.

14

25-156

JAM NUT,Jam, 3/8"-24, G5

- (3/8" N.F. half hex.)

4шт.

15

A26345

CARRIER - (See differential)

2шт.

16

A28203

ROD

- brake

2шт.

17

141-6

CLEVIS PIN,1/2" x 1.360"

PIN - brake rod (1/2 x 1-23/64" clevis)

2шт.

18

132-48

COTTER PIN,1/8" x 1"

Pin, Split (Cotter), 1/8" x 1"

2шт.

19

A27465

CAP

- dust, brake rod hole

2шт.

25

A26356

LEVER - left hand brake

1шт.

26

13-828

BOLT,Hex, 1/2" - 13 x 1-3/4", Gr 5

- lever (1/2 x 3/4" N.C. hex.)

1шт.

27

92-8

LOCK WASHER,1/2"

1шт.

28

A27687

HARDWARE

TRUNNION - brake rod guide

2шт.

29

A27686

NUT

- brake rod

2шт.

30

A32512

SHAFT - cross

1шт.

31

126-32

WOODRUFF KEY,#21, 1/4" x 1 1/4"

Cross shaft #21, 1/4" x 1 1/4"

2шт.

32

A27342

O-RING,1.109" ID x 1.387" OD x 0.139"

"O"RING - cross shaft (1-1/8 x 1-3/8 x 1/8")

2шт.

33

A28201

SLEEVE

- cross shaft, left hand

1шт.

34

A28200

SLEEVE

- cross shaft, right hand

1шт.

35

A32505

PEDAL - brake, left hand

1шт.

36

13-840

BOLT,Hex, 1/2" - 13 x 2-1/2", Gr 5

- pedal (1/2 x 2-1/2" N.C. hex.)

1шт.

37

92-8

LOCK WASHER,1/2"

1шт.

38

23-108

NUT - (1/2" N.C. hex.)

1шт.

39

A32504

PEDAL - brake, right hand

1шт.

40

F62023

SNAP RING,#93, Ext

RING - snap, , pedal #93, Ext

1шт.

41

219-1

LUBE NIPPLE,1/8" - 27 NPTF

FITTING - grease (1/8" P.T. str.)

1шт.

42

A33963

PIN - lock, brake pedals

1шт.

43

135-378

PIN - lock pin ret. (3/8 x 2" Groove)

1шт.

44

A10436

VALVE SPRING

SPRING - brake pedal return

2шт.

50

A57468

SUPPORT

- ratchet, Start Serial: 8327800

1шт.

195-33

WASHER,1/2"

- (17/32 x 1-1/16 x 3/32") (used w/A57468)

2шт.

52

A33883

SUPPORT

BRACKET - ratchet, Serial Range: -8327800

1шт.

53

13-616

BOLT,Hex, 3/8" - 16 x 1", Gr 5, Full Thd

Stop (used w/A33883) Hex, 3/8"-16 x 1", G5, Full Thd

1шт.

54

25-106

NUT,3/8"-16, G5

- lock, stop bolt (3/8" N.C. hex.)

1шт.

55

A32507

RATCHET

- parking brake (w/hand release rod)

1шт.

56

A20202

RING

E RING - snap, ratchet ret.

2шт.

57

A23953

TIP

- release rod

1шт.

58

A29920

PAWL

- parking brake lock

1шт.

59

13-612

BOLT,Hex, 3/8" - 16 x 3/4", Gr 5, Full Thd

Pawl Hex, 3/8"-16 x 3/4", G5, Full Thd

1шт.

60

92-6

LOCK WASHER,3/8"

1шт.

61

13-816

BOLT,Hex, 1/2" - 13 x 1", Gr 5, Full Thd

Ratchet weight Hex, 1/2"-13 x 1", G5, Full Thd

1шт.

62

92-8

LOCK WASHER,1/2"

1шт.

63

25-108

NUT,1/2"-13, G5

- (1/2" N.C. hex.)

1шт.

Выбрано товаров: 57