Запчасти Case IH 730 SERIES (178) - DRAFT-O-MATIC UPPER SENSING (08) - HYDRAULICS

Схема запчастей Case IH 730 SERIES - (178) - DRAFT-O-MATIC UPPER SENSING (08) - HYDRAULICS
9
33
18
2
22
36
35
24
32
15
6
41
31
20
8
30
19
13
26
21
25
4
39
29
5
3
1
27
34
10
38
28
16
11
7
40
37
12
17
23
14
FIT
1:1
100%

Артикул

Название

Примечание

Количество

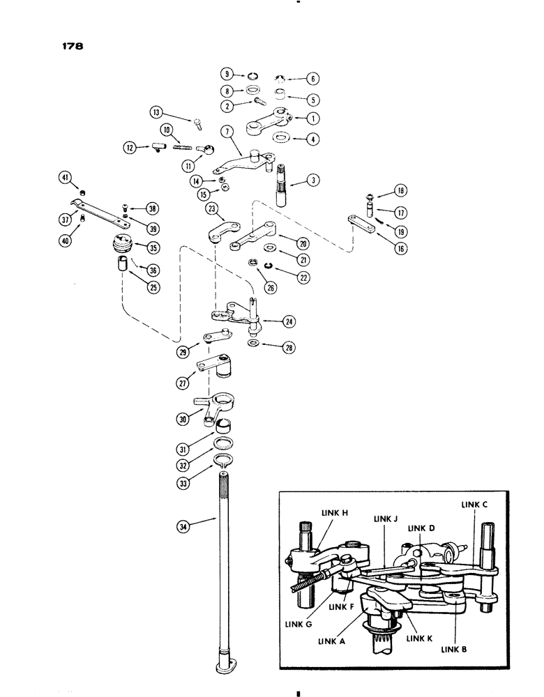
1

A32320

LEVER

- draft control (Link "H")

1шт.

2

166-27

BOLT - "H" link ret. (5/16 x 1-1/4" N.C. 12 pt. sckt. hd.)

1шт.

3

A32336

SHAFT - draft control, manual

1шт.

4

A33316

WASHER - manual shaft (1-1/32 x 1-11/16 x 12 Ga.)

1шт.

5

A33314

SPACER

- manual shaft (53/64 x 1-3/64 x 9/16")

1шт.

6

A32309

SEAL,18.8mm ID x 25.5mm OD x 3.1mm Thk

- manual control shaft (3/4 x 1 x 1/8")

1шт.

7

A57088

LINK

LEVER - draft control (Link "F"), Start Serial: 8310335

1шт.

7

A32316

LEVER

- draft control (Link "F") (Order 1-A57088 & 1-A57090), Serial Range: -8310335

1шт.

8

F20286

WASHER

"F" link (29/32 x 1-3/8 x 16 Ga.)

1шт.

9

F62205

RING, SNAP

RING - snap, "F" link ret.

1шт.

10

A32347

ROD

- draft control link

1шт.

11

A35134

BEARING

- link rod

1шт.

12

A27382

BALL

JOINT - draft control link

1шт.

13

13-514

BOLT,Hex, 5/16" - 18 x 7/8", Gr 5

Brg. to "F" link Hex, 5/16"-18 x 7/8", G5, Full Thd

1шт.

14

92-5

LOCK WASHER,5/16"

2шт.

15

25-155

JAM NUT,Jam, 5/16"-24, G5

- lock (5/16" N.F. half hex)

2шт.

16

A32331

LINK

LEVER - draft control (Link "J")

1шт.

17

A32334

PIN

- "J" link to draft valve spool

1шт.

18

G46146

SNAP RING,#37, Ext

RING - snap, , pin ret. #37, Ext

1шт.

19

132-25

COTTER PIN,3/32" x 5/8"

Pin, Split (Cotter), 3/32" x 5/8"

1шт.

20

A32335

LINK

LEVER - draft control (link "G")

1шт.

21

B18080

WASHER

- "G" link (21/32 x 1-1/4" x 16 Ga.)

1шт.

22

A26828

RING

- snap, "G" link ret.

1шт.

23

A57365

LEVER

- draft control (Link "D"), Start Serial: 8323629

1шт.

23

A32329

LINK

LEVER - draft control (Link "D), Serial Range: -8323629

1шт.

24

A32310

LINK

- draft control (Link "C")

1шт.

25

A32914

SPACER

- sensitivity hub (21/32 x 3/4 x 1")

1шт.

26

A32308

OIL SEAL

- sensitivity shaft (5/8 x 7/8 x 1/8")

1шт.

27

A33393

LEVER

- draft control (Link "K")

1шт.

28

A57090

WASHER

- "C" link (21/32 x 1-1/8" x 16 Ga.) (Replaces A26411)

1шт.

29

A57362

LINK

LEVER - draft control (Link "B"), Start Serial: 8323629

1шт.

29

A32321

LINK

LEVER - draft control (Link "B"), Serial Range: -8323629

1шт.

30

A32324

LEVER

- draft control (Link "A")

1шт.

31

A12014

BUSHING

- signal shaft

1шт.

32

B18302

WASHER

- "A" link (1-17/32" x 16 Ga.)

1шт.

33

R13338

SNAP RING,#150, Ext

RING - snap, , "K" link #150, Ext

1шт.

34

A34834

SHAFT

- draft signal (See Figure 180), Start Serial: 8302912

1шт.

34

A33395

SHAFT

- draft signal (See Figure 181A) (Order 1-A34834, 1-A34836, 1-92-5 & 1-13-514), Serial Range: -8302912

1шт.

35

A32352

HUB - sensitivity lever

1шт.

36

138-2002

PIN,3/16" x 1 1/4", Coiled

Hub 3/16" x 1 1/4", Coiled

1шт.

37

A32351

LEVER - sensitivity

1шт.

38

175-437

SCREW,Phil Truss Hd, 5/16" - 18 x 5/8"

- hub to lever (5/16 x 5/8" Ph. Truss hd.)

2шт.

39

92-5

LOCK WASHER,5/16"

2шт.

40

62-46

BOLT - lever (1/4 x 3/8" N.F., sckt. hd.) Hex Soc Hd, 1/4"-28 x 3/8"

1шт.

41

25-114

NUT,1/4"-28, G5

- (1/4" N.F. hex.)

1шт.

Выбрано товаров: 45