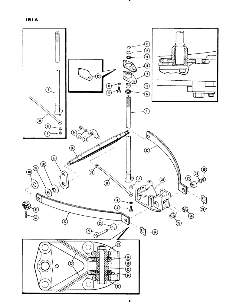
Запчасти Case IH 730 SERIES (181A) - DRAFT-O-MATIC LOWER SENSING, USED PRIOR TO TRAC. S/N 8348489 (08) - HYDRAULICS

Схема запчастей Case IH 730 SERIES - (181A) - DRAFT-O-MATIC LOWER SENSING, USED PRIOR TO TRAC. S/N 8348489 (08) - HYDRAULICS
32
42
12
11
28
16
31
14
23
35
34
8
37
4
1
25
25
23
24
38
29
39
15
24
41
9
6
26
5
27
43
24
24
2
33
26
3
22
31
13
7
23
22
10
36
40
23
22
30
FIT
1:1
100%

Артикул

Название

Примечание

Количество

1

A34834

SHAFT

- draft signal, Start Serial: 8302912

1шт.

2

A34836

SPACER

- signal shaft, Start Serial: 8302912

1шт.

3

13-514

BOLT,Hex, 5/16" - 18 x 7/8", Gr 5

(Used w/A34834 shaft) Hex, 5/16"-18 x 7/8", G5, Full Thd

1шт.

4

95-5

WASHER,3/8" x 7/8" x .083"

- (3/8 x 7/8 x 5/64")

1шт.

5

A33395

SHAFT

- draft signal (Order A34834, A34836, 92-5 & 13-514), Serial Range: -8302912

1шт.

6

95-6

WASHER,3/8"

- link, (7/16 x 1 x 5/64") (used w/A33395 shaft)

1шт.

7

131-590

LOCK NUT

NUT - (3/8" N.C. Flexlock) (used w/A33395 shaft)

1шт.

8

A32203

BUSHING

SUPPORT - signal shaft

1шт.

9

A32210

GASKET

- support

1шт.

10

13-616

BOLT,Hex, 3/8" - 16 x 1", Gr 5, Full Thd

Support Hex, 3/8"-16 x 1", G5, Full Thd

1шт.

11

92-6

LOCK WASHER,3/8"

1шт.

12

A23903

OIL SEAL

- oil, support (1 x 1-1/2 x 1/4")

1шт.

13

A31082

BUSHING

BEARING - support (1 x 1-1/4 x 1")

1шт.

14

A9394

RING

QUAD RING - support (1 x 1-1/4 x 9/64")

1шт.

15

B18275

WASHER

- signal shaft (1-1/32 x 1-1/2")

1шт.

16

A33315

RING

- snap, signal shaft ret.

1шт.

22

A34597

VALVE SPRING

SPRING - wishbone, Start Serial: 8283129

4шт.

For satisfactory operation it is recommended new springs be installed in pairs.

1шт.

22

A32988

SPRING

- wishbone (Order 2-A34597), Serial Range: -8283129

4шт.

For satisfactory operation it is recommended new springs be installed in pairs.

1шт.

23

A33407

SPACER - wishbone adj.

2шт.

24

A33408

SPACER

- wishbone spring

2шт.

25

A33409

CAM - wishbone adj., right hand

1шт.

26

A33410

CAM

- wishbone adj., left hand

1шт.

27

13-1076

BOLT,Hex, 5/8" - 11 x 4-3/4", Gr 5

- (5/8 x 4-3/4" N.C. hex.)

1шт.

28

92-10

LOCK WASHER,5/8"

WASHER, LOCK, 5/8"

1шт.

29

25-1610

NUT,5/8"-11, G5, Hvy

- (5/8" N.C. hex.)

1шт.

30

A33406

BRACKET - drawbar (See Figures 228-231A)

1шт.

31

A33405

LINK

- draft signal control

1шт.

32

25-158

JAM NUT,Jam, 1/2"-20, G5

- link lock (1/2" N.C. hex. jam)

1шт.

33

A33006

LOCK

- control link

1шт.

34

13-618

BOLT,Hex, 3/8" - 16 x 1-1/8", Gr 5

Lock Hex, 3/8"-16 x 1 1/8", G5, Full Thd

1шт.

35

25-146

JAM NUT,Jam, 3/8"-16, G5

- (3/8" N.C. hex. jam)

1шт.

36

A33399

BAR - cross, wishbone

1шт.

37

A32953

LINK

- cross bar

2шт.

38

A33402

WASHER

- dished, draft arm, inner

2шт.

39

A33397

WASHER

- dished, draft arm, outer

2шт.

40

A33398

SPACER

- wishbone

2шт.

41

A33404

NUT

- wishbone ret.

2шт.

42

138-2014

PIN,3/16" x 1 7/8", Coiled

nut retainer 3/16" x 1 7/8", Coiled

2шт.

43

A32387

COVER - signal shaft (used w/out hitch)

1шт.

Выбрано товаров: 41