Запчасти Case IH 730 SERIES (026) - CYLINDER HEAD COVER AND ROCKER ARMS, 251 AND 284 SPARK IGNITION ENGINES (02) - ENGINE

Схема запчастей Case IH 730 SERIES - (026) - CYLINDER HEAD COVER AND ROCKER ARMS, 251 AND 284 SPARK IGNITION ENGINES (02) - ENGINE
2
3
24
28
21
35
13
8
33
12
21
29
23
32
22
15
31
25
10
27
30
22
11
20
36
14
26
18
1
7
4
5
23
19
34
6
18
9
FIT
1:1
100%

Артикул

Название

Примечание

Количество

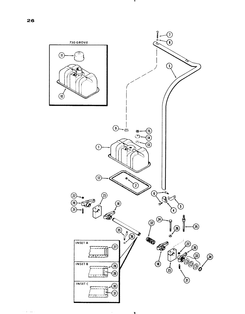
1

A23681

COVER ASSY

. - cylinder head (see Ref. 10) (used all 730 & 830 except grove), Includes: Ref. 2

2шт.

2

131-114

SPRING NUT,Rtnr, 1/4" - 20, 0.25" High

NUT - breather tube (1/4" N.C. speed)

1шт.

3

A24325

TUBE - breather (all 730 & 830 except grove)

1шт.

4

A24324

CLIP - breather tube

1шт.

5

A24294

BRACKET - breather tube clip

1шт.

6

13-612

BOLT,Hex, 3/8" - 16 x 3/4", Gr 5, Full Thd

Clip & bracket Hex, 3/8"-16 x 3/4", G5, Full Thd

2шт.

7

75-432

SCREW

- breather tube (1/4 x 2" N.C., rd. hd.)

2шт.

8

A34133

GASKET

- (9/32 x 1/2 x 3/64" fiber)

2шт.

9

A23685

GASKET

- (11/16 x 1-1/16 x 1/16" rubber)

2шт.

10

A20345

COVER ASSY. - cyl. head (730 Grove only)

2шт.

11

A27973

CAP

BREATHER ASSY. - (730 Grove only)

2шт.

12

A57595

CYLINDER HEAD GASKET

- cylinder head cover (Replaces A27972)

2шт.

13

A23684

GASKET

GASKET - cover stud

4шт.

14

A23683

WASHER

- cover stud

4шт.

15

25-117

NUT,7/16"-20, G5

- cover stud (7/16" N.F. hex.)

4шт.

18

A22322

ROCKER

ARM ASSY. - rocker, intake valve (incl. Refs. 21 & 22)

4шт.

19

A22326

ROCKER

ARM ASSY. - rocker, exhaust valve (No. 2 & NO. 4 cyl.) (incl. Refs. 21 & 22)

2шт.

20

A22324

ROCKER

ARM ASSY - rocker, exhaust valve (No. 1 & No. 3 cyl.) (incl. Refs. 21 & 22)

2шт.

21

A21105

ADJUSTMENT SCREW,3/8" - 24 x 1 9/16"

SCREW - adjusting, rocker arm

1шт.

22

25-156

JAM NUT,Jam, 3/8"-24, G5

- lock, adj. screw (3/8" N.C. hex. jam)

1шт.

23

A27881

BRACKET

- rocker shaft

4шт.

24

13-760

BOLT,Hex, 7/16" - 14 x 3-3/4", Gr 5

Bracket Hex, 7/16"-14 x 3 3/4", G5

4шт.

25

A57458

STUD

- rocker arm brkt. & cover (3-3/4" N.C. end to nut) (do not used w/Ref. 26)

4шт.

25

A28124

STUD - rocker arm brkt. & cover (3-13/16" N.C. end to nut) (used w/Ref. 26) (Order A57458)

4шт.

26

92-7

LOCK WASHER,7/16"

(4 also used w/A28124 stud) 7/16"

4шт.

27

A57532

SHAFT

- w/solid plug (See inset A) (1st used eng. ser. no. 2203667)

2шт.

28

A21100

SHAFT

ASSY. - rocker arm (reamed) (See inset B) (used eng. ser. no. 2107858 to 2203667) (Order Ref. 27 and 29)

2шт.

29

A26667

PLUG - cup, rocker shaft (9/16 x 3/16")

2шт.

30

A23671

X

SHAFT ASSY. - rocker arm (not reamed) (See inset C) (Order Ref. 27 and 31) (used prior to eng. ser. no. 2107858)

2шт.

31

A22318

PLUG - cup, rocker shaft (17/32 x 1/4")

2шт.

32

A27877

SPRING

- rocker shaft

2шт.

33

A27878

WASHER

- rocker shaft ends (29/32 x 1-5/16 x .028")

12шт.

34

B18206

SNAP RING,#87, Ext

RING - snap, , rocker shaft #87, Ext

4шт.

35

A27879

TUBE

- oil, rocker shaft

2шт.

36

A27880

O-RING,0.07" Thk x 0.18" ID, -8, Cl 5, 75 Duro

"O" RING - oil tube (3/16 x 5/16 x 1/16")

2шт.

Выбрано товаров: 35