Запчасти Case IH 733 (08-27) - HEAD LIGHT (06) - ELECTRICAL

Схема запчастей Case IH 733 - (08-27) - HEAD LIGHT (06) - ELECTRICAL
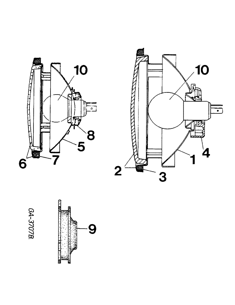
10
10
4
3
7
8
1
9
5
2
6
FIT
1:1
100%

Артикул

Название

Примечание

Количество

3140022R91

HEADLIGHT

CPTE. "HELLA", CONSISTS OF: ITEMS 1 - 4

2шт.

RH Traffic

1шт.

3140024R91

INTERIOR LIGHT

HEAD CPTE. "HELLA", CONSISTS OF ITEMS 1 - 4

2шт.

LH Traffic

1шт.

931367R1

SCREW,Oval CSK Cross Recess Phillips, M4 x 20mm

4шт.

3141704R1

ADJUSTMENT SCREW

BOLT, M4 X 80 MM

4шт.

1

3141206R1

REFLECTOR

2шт.

RH Traffic

1шт.

1

3141208R1

REFLECTOR

2шт.

LH Traffic

1шт.

2

3233639R1

LAMP BASE

LENS, WITH GASKET AND SCREWS

2шт.

RH Traffic

1шт.

2

3141209R1

LENS

WITH GASKET AND SCREWS

2шт.

LH Traffic

1шт.

3

3141205R1

GASKET

2шт.

LH Traffic

1шт.

4

3058308R1

SOCKET

CAP

2шт.

3140023R91

LAMP BASE

LIGHT HEAD, "BOSCH", CONSISTS OF ITEMS 5 - 8

2шт.

RH Traffic

1шт.

3140025R91

HEADLAMP

"BOSCH", CONSISTS OF ITEMS 5 - 8

2шт.

LH Traffic

1шт.

931367R1

SCREW,Oval CSK Cross Recess Phillips, M4 x 20mm

4шт.

5

3141212R1

REFLECTOR

2шт.

RH Traffic

1шт.

5

3141214R1

REFLECTOR

2шт.

LH Traffic

1шт.

6

3141213R1

RETAINER

LENS, WITH GASKET

2шт.

RH Traffic

1шт.

6

3141215R1

RETAINER

LENS, WITH GASKET

2шт.

LH Traffic

1шт.

7

3141210R1

GASKET

2шт.

8

3141211R1

SOCKET/RECEPTACLE

BULB

2шт.

9

3140021R1

CAP

2шт.

10

3050198R91

BULB

LAMP, YELLOW, 12 V/45/40 W

2шт.

10

3076115R1

BULB,Halogen, 12V, 40W

LAMP, WHITE, 12 V/45/40 W

2шт.

Выбрано товаров: 35