Запчасти Case IH 744 (3F10) - CAB, REAR WINDOW (05) - SUPERSTRUCTURE

Схема запчастей Case IH 744 - (3F10) - CAB, REAR WINDOW (05) - SUPERSTRUCTURE
12
16
9
10
15
17
3
5
22
19
9
6
3
3
14
2
16
4
18
9
20
20
24
13
12
8
4
8
22
15
23
1
2
3
6
9
4
6
7
9
9
5
6
5
3
11
5
7
21
FIT
1:1
100%

Артикул

Название

Примечание

Количество

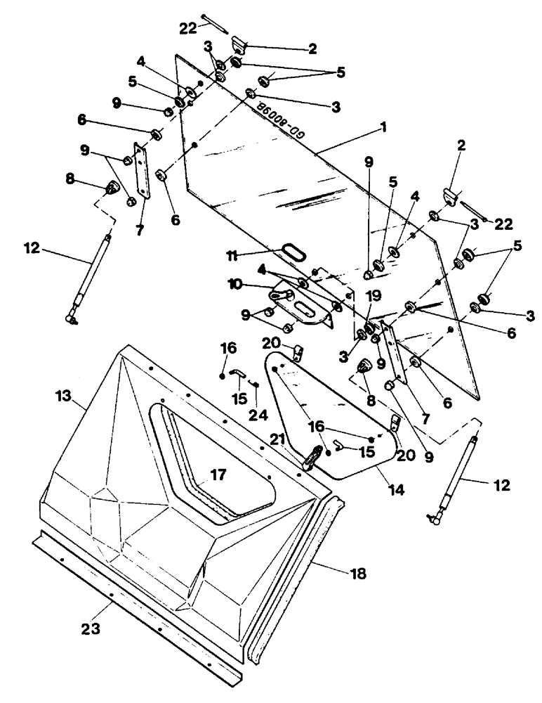
1

3221542R1

GLASS

1шт.

1

3221510R91

GLASS,CAB

with: 2 - 11

1шт.

2

3224459R1

HINGE

half

2шт.

934878R1

CARRIAGE BOLT,Square Neck, M8 x 30mm, Class 4.6

2шт.

43362

NUT,M8 x 1.25, Cl 10

2шт.

3221578R1

BELLEVILLE WASHER

2шт.

3

3221543R1

SPACER,10.2mm ID x 36mm OD x 10mm L

seal

8шт.

4

3221544R1

RUBBER WASHER,8.5mm ID x 39mm OD x 2mm Thk

seal

4шт.

5

3221545R1

WASHER

6шт.

6

3221546R1

WASHER

4шт.

7

3221547R1

CHANNEL

U

2шт.

614-8012

BOLT,Hex, M8 x 1.25 x 12mm, Cl 8.8, Full Thd

2шт.

611-8040

CARRIAGE BOLT,M8 x 40mm, Class 4.6

4шт.

934286R1

THIN NUT,M8 x 1.25, Thin

4шт.

8

3221548R1

BEARING HOUSING

2шт.

9

3221592R1

CAP

8шт.

10

3221549R91

HANDLE

with: 11

1шт.

934878R1

CARRIAGE BOLT,Square Neck, M8 x 30mm, Class 4.6

2шт.

934286R1

THIN NUT,M8 x 1.25, Thin

2шт.

934675R1

WASHER,M8 x 16 x 1.6

6шт.

11

3142137R1

PROTECTION STRIP

STRAP, bulk, 10 m

1шт.

12

3221531R1

GAS STRUT,500mm Extended, 300mm Compressed

pneumatic

2шт.

905268R1

NUT,M8 x 1.25, Cl 8

2шт.

934884R1

HEADED PIN,M8 x 28

headed

2шт.

3221573R1

FASTENER

2шт.

13

3226215R2

COVER

rear (xxx-), Order also: 3232054R1

1шт.

13

3225117R92

COVER ASSY

rear, with: 14 - 18, Order also: 3232054R1

1шт.

614-6016

BOLT,Hex, M6 x 1 x 16mm, Cl 8.8, Full Thd

1шт.

905265R1

NUT,M6 x 1, Cl 8

1шт.

14

3224315R1

GLASS

1шт.

14

3224581R91

GLASS

with: 20 - 21

1шт.

15

3232275R1

RETAINER

Order also: 3232276R1 or 3232277R1 as required

2шт.

905265R1

NUT,M6 x 1, Cl 8

2шт.

832-10406

NUT,M6 x 1, Cl 8

2шт.

16

895-11006

WASHER,6.6mm ID x 12mm OD x 1.6mm Thk

1шт.

17

3221574R1

SEAL

SEAL bulk, 10 m

1шт.

18

3223747R1

SEAL

SEAL rubber, bulk, 10 m

1шт.

19

3226083R1

WASHER

2шт.

20

3224612R1

HINGE

half

2шт.

905252R1

CARRIAGE BOLT,Sq Nk, M6 x 20mm, Cl 4.6

BOLT, M6 x 20 mm

2шт.

905255R1

NUT,M6 x 1

M6

2шт.

3224614R1

WASHER,7mm ID x 20mm OD x 2.5mm Thk

2шт.

21

3224613R1

SUPPORT

PROP venting window

1шт.

934876R1

BOLT,Hex, M6 x 1 x 20mm, Cl 8.8, Full Thd

1шт.

905255R1

NUT,M6 x 1

M6

1шт.

3224614R1

WASHER,7mm ID x 20mm OD x 2.5mm Thk

1шт.

3221725R1

CAP

1шт.

22

3223698R1

BOLT

PIN

2шт.

934286R1

THIN NUT,M8 x 1.25, Thin

2шт.

934675R1

WASHER,M8 x 16 x 1.6

2шт.

23

3232054R1

SUPPORT

angle (xxx-)

1шт.

24

3232276R1

SPRING

LH

1шт.

24

3232277R1

SPRING

RH

1шт.

Выбрано товаров: 53