Запчасти Case IH 744 (2G04) - TANDEM PUMP (07) - HYDRAULICS

Схема запчастей Case IH 744 - (2G04) - TANDEM PUMP (07) - HYDRAULICS
10
9
3
2
2
4
8
4
4
2
2
6
10
5
7
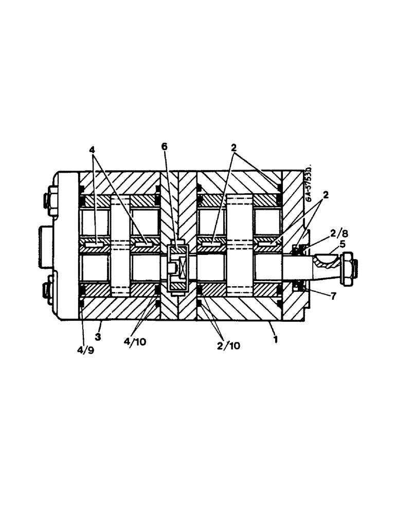
1
FIT
1:1
100%

Артикул

Название

Примечание

Количество

1986964C1

PUMP, HYDRAULIC,8.28 CC

tandem

1шт.

3220221R92

HYDRAULIC PUMP

tandem, (Canada - Version)

1шт.

892-10012

LOCK WASHER,M12

1шт.

934945R1

NUT,Thin, M12 x 1.5, Cl 04

1шт.

1

3216613R91

PUMP

CARTRIDGE, Order: 1986964C1

1шт.

1

3216623R91

PUMP

CARTRIDGE, (Canada - Version), Order: 3220221R92

1шт.

2

3216609R91

SEAL

PACKAGE, (-Bosch FD 630), Order: 1986964C1

1шт.

2

3223963R1

SPARE PART gaskets, (Bosch FD 631-821)

1шт.

3

3216614R91

PUMP

CARTRIDGE

1шт.

4

3216610R1

PACKAGE gaskets, (-Bosch FD 630), Order: 1986964C1

1шт.

4

3223964R1

PACKAGE

gaskets, (Bosch FD 631-821)

1шт.

5

155700750718

WOODRUFF KEY

1шт.

6

3216616R1

CAM

COUPLING

1шт.

7

933031R1

SNAP RING,M30, Int

(Bosch FD 822-)

1шт.

8

3131177R1

SEALING RING

oil, (Bosch FD 822-)

1шт.

9

3230865R1

O-RING

GASKET, (Bosch FD 822-)

1шт.

10

K261708

SEAL

PACKAGE, (Bosch FD 822-)

1шт.

Выбрано товаров: 17