Запчасти Case IH 744 (2G12) - ADDITIONAL OIL RESERVOIR, DRAFT CONTROL (07) - HYDRAULICS

Схема запчастей Case IH 744 - (2G12) - ADDITIONAL OIL RESERVOIR, DRAFT CONTROL (07) - HYDRAULICS
8
5
3
4
9
7
9
1
9
2
8
6
8
FIT
1:1
100%

Артикул

Название

Примечание

Количество

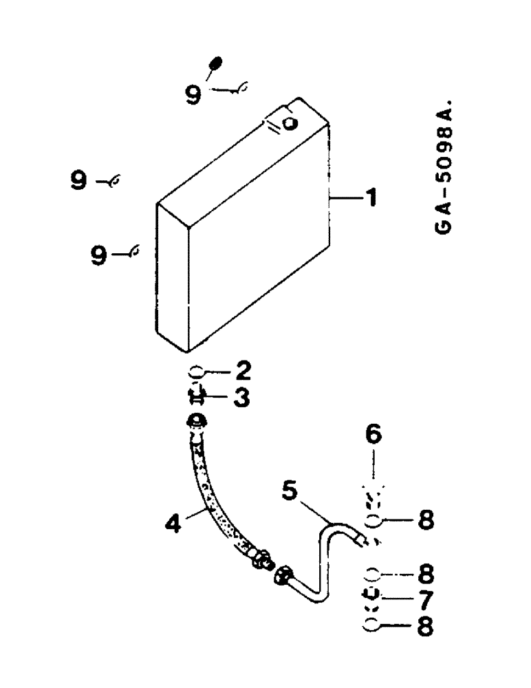
1

3145977R2

RESERVOIR

oil

1шт.

628-8020

BOLT,Hex, M8 x 20, 10.9, Full Thd

3шт.

892-10008

LOCK WASHER,M8

3шт.

2

933608R1

SEALING RING,M26 x 31 x 2

1шт.

3

3130992R1

UNION

1шт.

4

3145980R1

HOSE

1шт.

5

3145979R1

LINE

TUBE

1шт.

6

931081R1

BANJO BOLT,M26 x 1.5 x 60mm

hollow

1шт.

7

3145978R1

UNION

FITTING, reducer

1шт.

8

1964123C1

SEALING RING,M23 x 31 x 2

3шт.

9

934033R1

WASHER,M8 x 15 x 2

6шт.

Выбрано товаров: 11