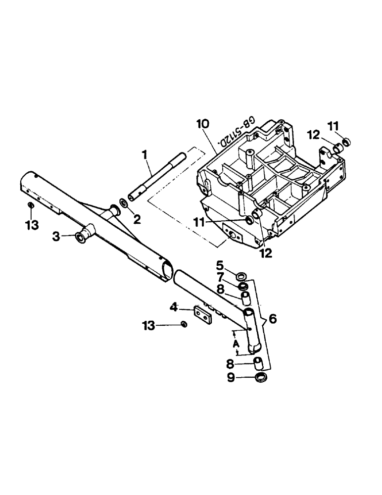
Запчасти Case IH 744 (3H03) - FRONT AXLE, ADJUSTABLE Suspension

Схема запчастей Case IH 744 - (3H03) - FRONT AXLE, ADJUSTABLE Suspension
12
2
11
13
8
7
9
13
5
8
12
1
6
4
11
3
10
FIT
1:1
100%

Артикул

Название

Примечание

Количество

1

3140082R1

PIVOT

PIVOT, front axle

1шт.

3059875R6

SCREW,5/8" - 11 x 40mm

S 5/8" x 40 mm

1шт.

329-1410

JAM NUT,Jam, 5/8"-11, G8

1шт.

2

3057042R1

SHIM,40.05mm ID x 59.94mm OD x 0.55mm Thk

1шт.

3

3141504R92

AXLE

front, center

1шт.

3

3141505R91

AXLE, FRONT

center version with power steering, 644 (-010067) C, 744 (-008669) C, 844 (-005275) C, 844S (-010500) C

1шт.

3

3224283R91

AXLE, FRONT

center version with power steering, 644 (010068-014221) C, 744 (008670-013698) C, 844 (005276-006275) C, 844S (010501-016724) C

1шт.

3

3230082R1

CENTER AXLE

front, version with power steering, 644 (-010067) C, 744 (-008669) C, 844 (-005275) C, 844S (-010500) C

1шт.

709415R1

BOLT

3/4" x 108 mm

3шт.

425-1112

NUT,3/4"-16, G5

3шт.

4

3141593R1

PLATE

2шт.

114-718

BOLT,Hex, 3/4" - 16 x 3-1/4", Gr 5

2шт.

425-1112

NUT,3/4"-16, G5

2шт.

4

3134121R3

PLATE

version with power steering

4шт.

114-615

BOLT,Hex, 5/8" - 18 x 3-1/4", Gr 5

4шт.

92-11062

LOCK WASHER,5/8"

4шт.

425-1110

NUT,5/8"-18, G5

4шт.

5

3059771R1

SHIM

0.20 mm

1шт.

5

3217593R1

SHIM

1.00 mm

1шт.

5

3217594R1

SHIM,40mm ID x 60mm OD x 1.5mm Thk

1.50 mm

1шт.

6

3405576R91

EXTENSION

front axle, for ground clearance 18" (457 mm) A = 100 mm, 644 (-014221) C, 744 (-013698) C, 844 (-006275) C, 844S (-016724) C

2шт.

6

3405577R91

EXTENSION

front axle, LH 18" (457 mm) A = 100 mm, 644 (014222-) C, 744 (013699-) C, 844 (006276-) C, 844S (016725-) C

1шт.

6

3405578R91

EXTENSION

front axle, RH ground clearance 18" (457 mm) A = 100 mm, 644 (014222-) C, 744 (013699-) C, 844 (006276-) C, 844S (016725-) C

1шт.

6

3405579R91

EXTENSION

front axle, LH ground clearance 20" (508 mm) A = 150 mm, 644 (-014221) C, 744 (-013698) C, 844 (-006275) C, 844S (-016724) C

2шт.

6

3405580R91

EXTENSION

front axle, LH 20" (508 mm) A = 150 mm, 644 (014222-) C, 744 (013699-) C, 844 (006276-) C, 844S (016725-) C

1шт.

6

3405581R91

EXTENSION

front axle, RH 20" (508 mm) A = 150 mm, 644 (014222-) C, 744 (013699-) C, 844 (006276-) C, 844S (016725-) C

1шт.

6

3405582R91

EXTENSION

front axle, LH 24" (610 mm) A = 230 mm, 644 (-014221) C, 744 (-013698) C, 844 (-006275) C, 844S (-016724) C

1шт.

6

3405584R91

EXTENSION

front axle, LH 24" (610 mm) A = 230 mm, 644 (014222-) C, 744 (013699-) C, 844 (006276-) C, 844S (016725-) C

1шт.

6

3405583R91

EXTENSION

front axle, RH 24" (610 mm) A = 230 mm, 644 (-014221) C, 744 (-013698) C, 844 (-006275) C, 844S (-016724) C

1шт.

6

3405585R91

EXTENSION

front axle, RH 24" (610 mm) A = 230 mm, 644 (014222-) C, 744 (013699-) C, 844 (006276-) C, 844S (016725-) C

1шт.

933190R91

LUBE NIPPLE,1/8"-28 BSP x 20mm lg

2шт.

7

3131033R1

SEAL,39mm ID x 53mm OD x 8mm Thk

SCRAPER

2шт.

8

3057051R1

BUSHING

4шт.

9

3057058R91

BEARING ASSY

thrust

2шт.

10

3141968R94

AXLE SUPPORT

front

1шт.

570879R1

BOLT,Hex, 5/8" - 11 x 2 1/4", Gr 8

10шт.

933190R91

LUBE NIPPLE,1/8"-28 BSP x 20mm lg

1шт.

11

3137215R1

BUSHING,42mm ID x 48.07mm OD x 12.5mm L

RING, stop

2шт.

12

3134952R1

BUSHING

2шт.

13

396-31081

WASHER,20.63mm ID x 38.1mm OD x 5.56mm Thk

5шт.

Выбрано товаров: 40