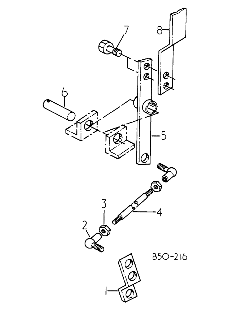
Запчасти Case IH 784 (07-092) - POWER TAKE-OFF LEVER, DE-LUXE CAB (04) - Drive Train

Схема запчастей Case IH 784 - (07-092) - POWER TAKE-OFF LEVER, DE-LUXE CAB (04) - Drive Train
6
8
1
7
4
3
2
5
FIT
1:1
100%

Артикул

Название

Примечание

Количество

1

3125615R1

ARM

SPARE PART P.T.O.

1шт.

931103R1

BOLT,Hex, M8 x 1.25 x 35mm, Cl 8.8

BOLT, M8 X 35

1шт.

30167R1

NUT,M8, Cl 10

1шт.

2

3125525R1

JOINT

BALL

2шт.

95-11028

WASHER,1/4"

1/4

2шт.

3

30208R1

NUT,M6, Cl 10

M6

2шт.

4

3125533R1

ROD

CONNECTING P.T.O.

1шт.

5

3125613R1

SHAFT

SPARE PART INTERMEDIATE F/P.T.O.

1шт.

6

3125614R1

SHAFT

P.T.O.

1шт.

3125616R1

PIN

3 X 25 COTTER

2шт.

7

931618R1

BOLT,Hex, M8 x 1.25 x 16mm, Cl 8.8, Full Thd

2шт.

934488R1

LOCK WASHER,Ext Tooth, M8

WASHER, 5/16

2шт.

1337999C1

SUPPORT

NUT, M8

2шт.

8

528720R1

LEVER ASSY, P.T.O.

1шт.

9

530090R1

KNOB

1шт.

Выбрано товаров: 15