Запчасти Case IH 784 (08-039) - REGISTRATION NUMBER PLATE AND LIGHT (06) - ELECTRICAL

Схема запчастей Case IH 784 - (08-039) - REGISTRATION NUMBER PLATE AND LIGHT (06) - ELECTRICAL
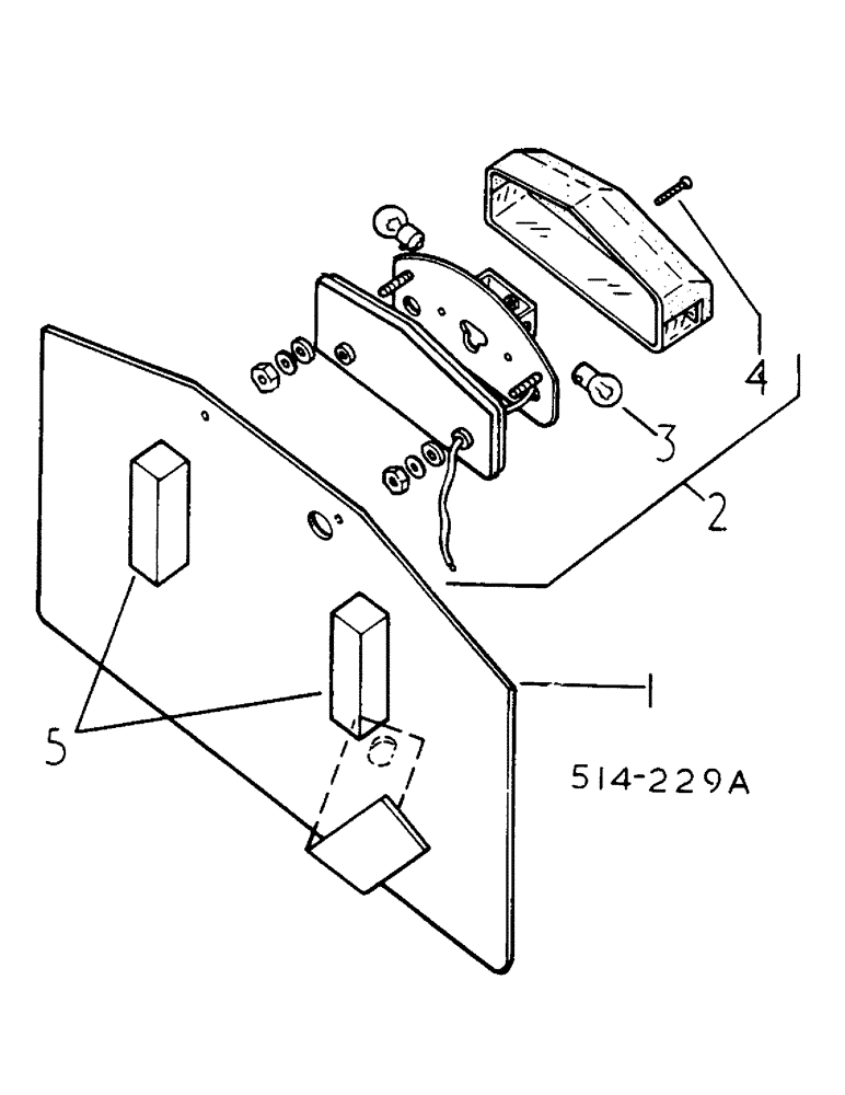
4
2
5
1
3
FIT
1:1
100%

Артикул

Название

Примечание

Количество

1

3113438R93

TYPE PLATE

ASSY, REGISTRATION NUMBER

1шт.

619856R1

WASHER

.406 X 1.000 X .058

1шт.

2

3113443R91

LIGHT ASSY.

REGISTRATION NUMBER PLATE, CONSISTS OF ITEMS 3 AND 4

1шт.

3

705757R91

LAMP

12V 5W MCC

2шт.

4

3115524R1

SCREW

SPARE PART COVER RETAINING

1шт.

5

3113442R1

BUMPER

REGISTRATION NUMBER PLATE

1шт.

Выбрано товаров: 6