Запчасти Case IH 784 (12-063) - CRANKCASE OIL PAN Power

Схема запчастей Case IH 784 - (12-063) - CRANKCASE OIL PAN Power
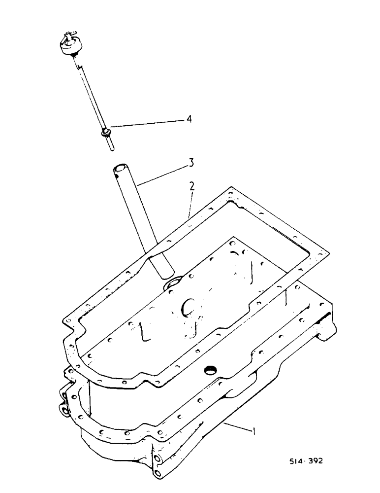
4
1
3
2
FIT
1:1
100%

Артикул

Название

Примечание

Количество

1

3136055R94

PAN ASSY.

OIL

1шт.

179818

BOLT,Hex, 5/16" - 18 x 1", Gr 5

14шт.

3050129R1

LOCK WASHER

WASHER, 5/16 MED LOCK

18шт.

3218395R1

BELLEVILLE WASHER,8.199mm ID x 16mm OD x 0.9mm Thk

4шт.

179817

BOLT,Hex, 5/16" - 18 x 7/8", Gr 5, Full Thd

2шт.

413-548

BOLT,Hex, 5/16" - 18 x 3", Gr 5

2шт.

3132544R2

PLUG

FILLTER AND DRAIN

1шт.

933608R1

SEALING RING,M26 x 31 x 2

1шт.

2

3055161R1

GASKET

OIL PAN

1шт.

3

3136241R1

TUBE,29.556 mm OD, 250 mm Length

PIPE, OIL FILLING

1шт.

4

3136242R2

DIPSTICK

GAGE ASSY, OIL LEVEL

1шт.

Выбрано товаров: 11