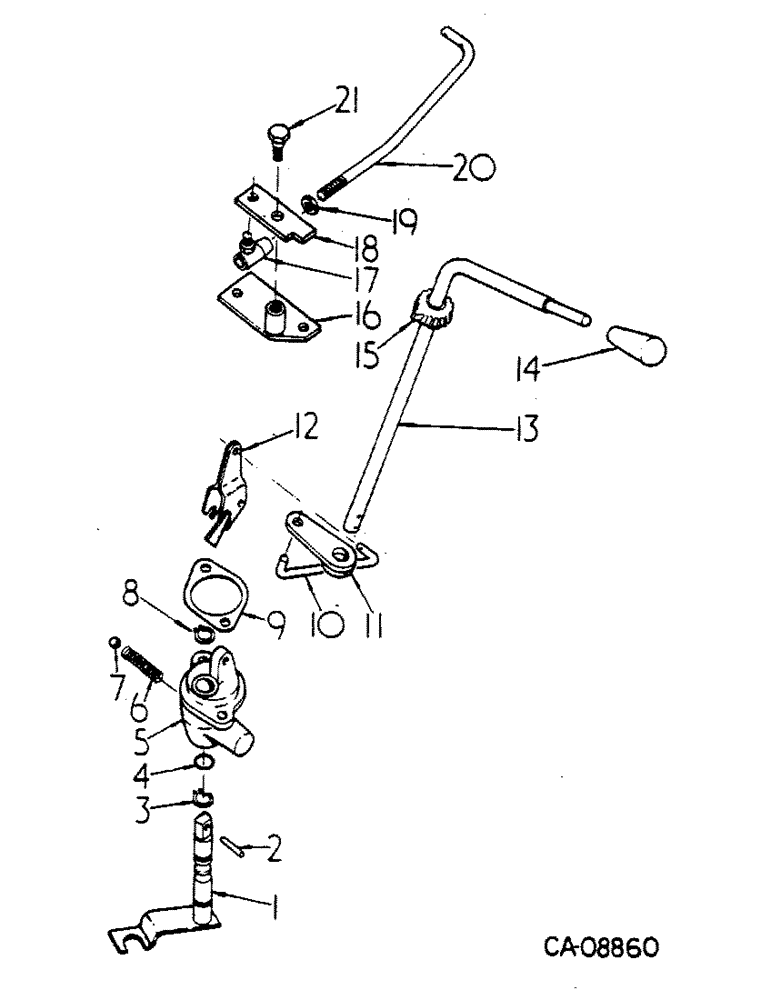
Запчасти Case IH 784 (07-16) - DRIVE TRAIN, FORWARD AND REVERSE LEVER AND CONNECTIONS (04) - Drive Train

Схема запчастей Case IH 784 - (07-16) - DRIVE TRAIN, FORWARD AND REVERSE LEVER AND CONNECTIONS (04) - Drive Train
21
4
11
16
13
20
9
19
10
2
3
14
15
18
7
8
17
12
6
5
1
FIT
1:1
100%

Артикул

Название

Примечание

Количество

1

531553R1

LEVER ASSY.

LEVER ASSY, control

1шт.

2

19878R1

DOWEL,3/16" x 1"

PIN, 3/16 x 1.000 pln hdn dowel

1шт.

3

309032R1

SNAP RING,#62, Ext

Ring, Snap, , control shaft #62, Ext

1шт.

4

370920R1

O-RING,1/2" ID

1/2 x 5/8 class 5

1шт.

5

402595R2

SUPPORT

control shaft

1шт.

13-510

BOLT,Hex, 5/16" - 18 x 5/8", Gr 5, Full Thd

5/16 x 5/8 pln type 5

2шт.

103320

LOCK WASHER,5/16"

WASHER, LOCK, 5/16"

2шт.

6

402596R1

SPRING

control

1шт.

7

17014R1

BALL

7/16 grade 25 metal

1шт.

8

309032R1

SNAP RING,#62, Ext

Ring, Snap, , control shaft #62, Ext

1шт.

9

401623R1

GASKET

control shaft support

1шт.

10

402588R1

ROD

control

1шт.

95-11028

WASHER,1/4"

.281 x .625 x .051 pln

2шт.

103384

COTTER PIN,1/8" x 3/4"

Pin, Split (Cotter), 1/8" x 3/4"

2шт.

11

402585R2

ARM ASSY.

ARM ASSY, control

1шт.

19313R1

PIN,5/32" x 7/8", Coiled

1шт.

12

1282951C1

LEVER

BELLCRANK ASSY, fwd and rev control

1шт.

22731D

SPLIT PIN/SAFETY PIN

PIN, 1/4 x .906 pln clevis

1шт.

16558R1

WASHER

.266 x .625 x .036 pln

1шт.

107761

COTTER PIN,1/16" x 5/8"

Pin, Split (Cotter), 1/16" x 5/8"

1шт.

13

3121402R1

ROD

control handle

1шт.

14

402584R1

BUTTON

KNOB, control handle rod

1шт.

Q5035

WASHER

.531 x 1.000 x .054 pln

1шт.

103384

COTTER PIN,1/8" x 3/4"

Pin, Split (Cotter), 1/8" x 3/4"

1шт.

15

528290R1

GUIDE RING

COLLAR, control handle

1шт.

222335

SET SCREW,Hex Soc, #8-32 x 3/8"

SCREW, #8 x 3/8 pln F/PT HDL/HS set

1шт.

16

528942R1

PLATE ASSY.

PLATE ASSY, mounting

1шт.

17

426310

SPRING

JOINT, 5/16 C-Z type A ball

1шт.

18

1282952C1

STRIP

locking

1шт.

19

425-115

NUT,5/16"-24, G5

5/16-NF pln type 5

2шт.

20

528946R2

ROD

lockout

1шт.

103384

COTTER PIN,1/8" x 3/4"

Pin, Split (Cotter), 1/8" x 3/4"

2шт.

21

399509R1

BOLT,Shldr, Hex, 3/8" - 16 x 1", W/ Wshr

BOLT, shoulder

1шт.

23408R1

WASHER

.469 x .750 x .054

1шт.

21756R1

WASHER

.469 x .750 x .027

1шт.

Выбрано товаров: 35