Запчасти Case IH 784 (10-27) - HYDRAULICS, HYDRAULIC PUMP AND CONNECTIONS, TRACTORS WITH TORQUE AMPLIFIER (07) - HYDRAULICS

Схема запчастей Case IH 784 - (10-27) - HYDRAULICS, HYDRAULIC PUMP AND CONNECTIONS, TRACTORS WITH TORQUE AMPLIFIER (07) - HYDRAULICS
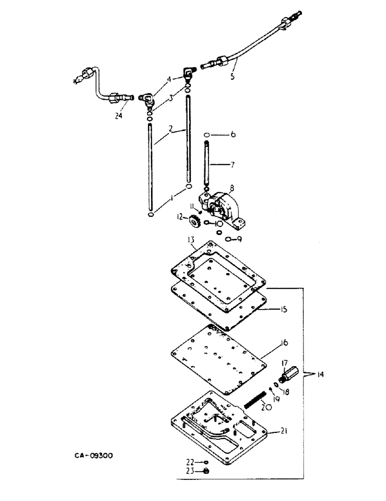
5
7
24
4
17
2
16
11
22
21
15
13
9
12
6
23
18
8
14
20
10
19
3
FIT
1:1
100%

Артикул

Название

Примечание

Количество

1

252739R1

O-RING,0.103" Thk x 0.487" ID, -112, Cl 5, 75 Duro

1/2 x 11/16 x 3/32

4шт.

2

402545R1

PRESSURE PIPE

TUBE, pump pressure

2шт.

3

570828R1

O-RING,0.087" Thk x 0.644" ID, -908, Cl 6, 90 Duro

1/2 OD tube

2шт.

4

9410977

ELBOW,90 Degree, 3/4"-16, 37 Degree x 3/4"-16, O-Ring

3/4-16 C-Z 37 deg hyd flared tube adj str thd 90 deg

2шт.

5

66116C2

TUBE ASSY.,0.5" OD, 13.04, 2.26" Length

TUBE ASSY, torque amplifier and forward/reverse return

1шт.

6

382997R1

O-RING,0.07" Thk x 0.489" ID, -14, Cl 6, 90 Duro

1/2 x 5/8 x 1/16

2шт.

7

402544R1

SUCTION PIPE

TUBE, oil inlet

1шт.

8

402540R92

PUMP

ASSY, hyd

1шт.

179841

BOLT,Hex, 3/8" - 16 x 1 1/4", Gr 5

3/8-16 x 1-1/4 pln type 5

2шт.

103321

LOCK WASHER,3/8"

WASHER, LOCK, 3/8"

2шт.

9

574069R1

O-RING,0.750" ID x .062"

3/4 x 7/8 x 1/16

1шт.

10

128359

O-RING,0.07" Thk x 0.614" ID, -16, Cl 5, 75 Duro

5/8 x 3/4 x 1/16

2шт.

11

427261

KEY

1/8 x 3/8 Woodruff

1шт.

12

527758R1

GEAR

pump driven, 19T

1шт.

115548

LOCK WASHER,Int Tooth, 5/16"

WASHER, LOCK, Int Tooth, 5/16"

1шт.

114493

JAM NUT,Jam, 5/16"-24, G5

1шт.

13

402556R2

GASKET

pump mounting flange lt

1шт.

14

402547R96

VALVE

ASSY, regulator

1шт.

15

402554R1

PLATE

pump

1шт.

16

402555R2

GASKET

pump plate

1шт.

17

PLUG ASSY

1шт.

Order package 65732C91 tractors with serial no. 8077 and below or package 1502344C92 tractors with serial no. 8078 and above.

1шт.

18

570828R1

O-RING,0.087" Thk x 0.644" ID, -908, Cl 6, 90 Duro

1/2 OD tube

1шт.

19

SHIM

1шт.

Order package 65732C91 tractors with serial no. 8077 and below or package 1502344C92 tractors with serial no. 8078 and above.

1шт.

20

SPRING

1шт.

Order package 65732C91 tractors with serial no. 8077 and below or package 1502344C92 tractors with serial no. 8078 and above.

1шт.

21

BODY, regulator valve

1шт.

Order package 65732C91 tractors with serial no. 8077 and below or package 1502344C92 tractors with serial no. 8078 and above.

1шт.

179842

SPACER

BOLT, 3/8 x 1-3/8 pln type 5

11шт.

103321

LOCK WASHER,3/8"

WASHER, LOCK, 3/8"

11шт.

22

369751R1

O-RING,0.072" Thk x 0.351" ID, -904, Cl 6, 90 Duro

4-1, 90 Duro, .351" ID x .072" Thk, 1/4 OD tube

1шт.

23

9410356

PLUG

7/16-20 C-Z o-ring boss

1шт.

24

66117C1

TUBE ASSY.

TUBE ASSY, oil cool return rear

1шт.

534263R91

SEALING RING

KIT, pump seal pack

1шт.

65732C91

KIT

PACKAGE, regulator valve service, for valve 402547R95, consists of ref no. 17, 19 and 20, Serial Range: -8077

1шт.

1502344C92

PACKAGE

regulator valve service, for valve 402547R96, consists of ref no. 17, 19 and 20, Start Serial: 8078

1шт.

Ref. 24 P/N 1502344C92 see service bulletin S5065

1шт.

Выбрано товаров: 38