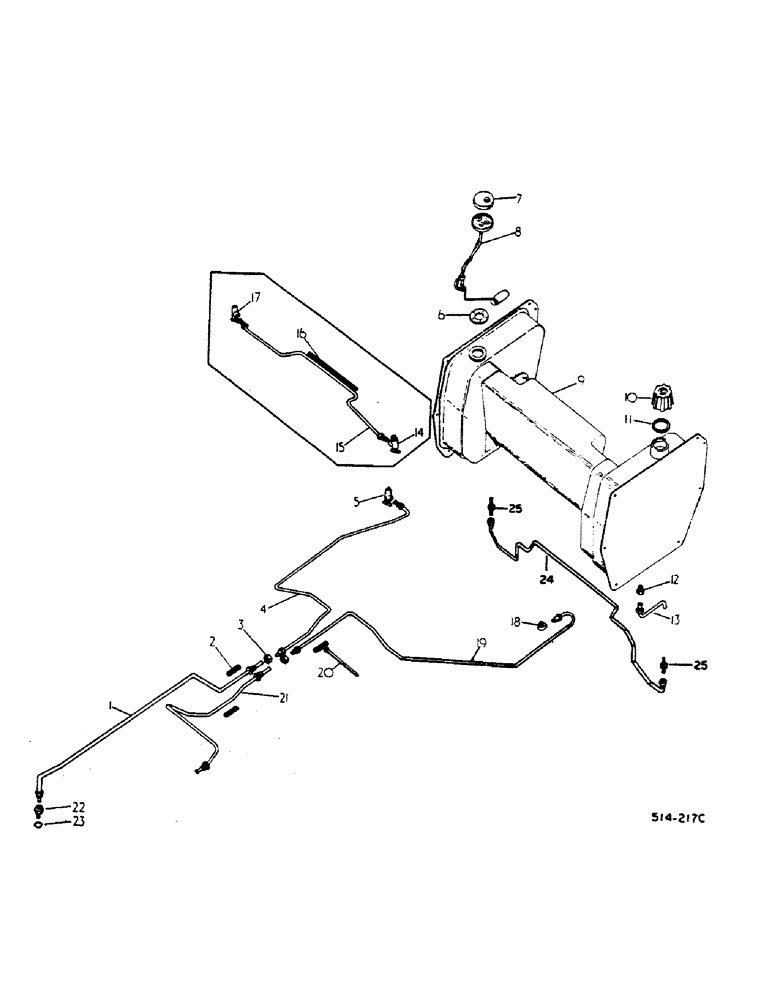
Запчасти Case IH 784 (12-06) - POWER, FUEL TANK AND PIPING Power

Схема запчастей Case IH 784 - (12-06) - POWER, FUEL TANK AND PIPING Power
16
25
9
13
4
24
3
11
20
17
22
10
21
8
5
15
25
6
19
7
2
18
23
12
1
14
FIT
1:1
100%

Артикул

Название

Примечание

Количество

1

3113614R1

PIPE ASSY.,39.1, 5.2" Length

PIPE ASSY, union to filter

1шт.

Engine serial no. 120520 and below.

1шт.

1

3125866R1

PIPE ASSY.,7.92 mm OD, 1020, 119 mm Length

PIPE ASSY, union to filter, Bosch injection CR pump

1шт.

Engine serial no. 120521 and above.

1шт.

2

536009R1

FUEL HOSE,0.31" ID x 2.50"

0.31" ID x 2.50"

3шт.

3

442337

NUT

UNION, 5/16 pln inv fld tube

2шт.

4

3129561R1

PIPE,8 mm OD, 932.2, 259.1 mm Length

TUBE ASSY, union to shutoff valve replaces 3121561R1

1шт.

5

528926R1

VALVE,1/2" - 20 x 3/8" - 18 NPTF

ASSY, shutoff

1шт.

6

528359R1

GASKET

sending unit

1шт.

7

528360R2

COVER

sending unit

1шт.

8

529790R1

SENDER UNIT

TRANSMITTER, fuel gauge, AC Delco, used w/gauge 3121239R1

1шт.

8

3129841R91

FUEL GAUGE

TRANSMITTER, fuel gauge, Icknield, used w/gauge 3129840R1

1шт.

463-1108

SCREW,Hex Hd, #10-24 x 1/2"

no. 10 x 1/2 znp H/HD mach

5шт.

440-1106

SCREW,Cross Pan Hd, #10-24 x 3/8"

no. 10 x 3/8 znp P/HDCR mach

1шт.

533199R1

SEALING WASHER

sending unit cover sealing

4шт.

796002R1

COPPER WASHER

WASHER, .197 x .334 x .036 copper

1шт.

9

536035R93

FUEL TANK

TANK ASSY, fuel w/filler cap

1шт.

9635082

NUT,5/16" - 18, Gr 5

8шт.

102635

NUT,3/8"-16, G5

4шт.

179814

SPACER

5/16 x 5/8 pln type 5

8шт.

179835

BOLT,Hex, 3/8" - 16 x 5/8", Gr 5, Full Thd

4шт.

103320

LOCK WASHER,5/16"

WASHER, LOCK, 5/16"

10шт.

103321

LOCK WASHER,3/8"

WASHER, LOCK, 3/8"

4шт.

179818

BOLT,Hex, 5/16" - 18 x 1", Gr 5

2шт.

10

536845R1

PLUG

CAP ASSY, fuel tank filler

1шт.

11

23977DB

GASKET

fuel tank filler cap

1шт.

12

137406

CHAIN

CONNECTOR, 1/8 PT x 5/16 inverted flared tube, used w/underslung exhaust

1шт.

13

539938R1

VENTILATION PIPE

TUBE ASSY, tank breather, used w/underslung exhaust

1шт.

539940R1

CLIP

breather line

1шт.

271713

BOLT, 5/8 x 3/4 type 5

1шт.

14

536002R1

VALVE

ASSY, shutoff, used w/tube 3121190R1

1шт.

15

3121190R1

TUBE

ASSY, crossover

1шт.

222-1003

TUBE NUT,5/16" Tube, 45 Degree Inv Fl

NUT, 5/16 pln inv flared tube, or

2шт.

222-1003

TUBE NUT,5/16" Tube, 45 Degree Inv Fl

NUT, 5/16 inv flared tube

2шт.

16

530107R1

FUEL HOSE,0.31" ID x 10.00"

Balance Tube Spacer Used W/Tube 3121190R1 0.31" ID x 10.00"

1шт.

17

536002R1

VALVE

ASSY, shutoff, used w/tube 3121190R1

1шт.

18

137422

ELBOW

inverted flare 90 deg

1шт.

19

537538R1

TUBE ASSY.

TUBE ASSY, fuel return rear, Z pattern shift

1шт.

19

3129262R1

PIPE

TUBE ASSY, fuel return rear, H pattern shift

1шт.

19

3129561R1

PIPE,8 mm OD, 932.2, 259.1 mm Length

TUBE ASSY, fuel return rear, tractor w/double aux valves

1шт.

20

289862C1

CABLE TIE,3/16" x 7"

STRAP

3шт.

21

3112790R1

PIPE

ASSY, fuel return front

1шт.

22

3056600R1

ADAPTER

1шт.

23

933610R1

SEALING RING,M14 x 18 x 1.8

Packing M14 x 18 x 1.8

1шт.

24

1502067C1

TUBE ASSY.

TUBE ASSY, crossover

1шт.

25

1502069C1

PIPE

ASSY, clearance

1шт.

539393R1

PLUG, fuel tank vent pipe flange, used w/vertical exhaust

1шт.

366460R1

CABLE CLIP

CLIP, fuel sender cable

2шт.

Выбрано товаров: 48