Запчасти Case IH 784 (12-07) - POWER, ETHER STARTING Power

Схема запчастей Case IH 784 - (12-07) - POWER, ETHER STARTING Power
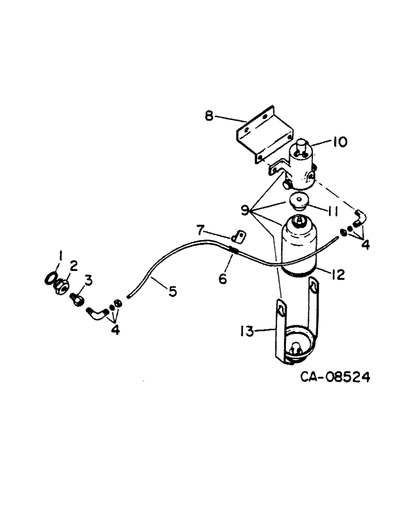
8
2
7
12
4
5
3
1
10
6
11
9
13
4
FIT
1:1
100%

Артикул

Название

Примечание

Количество

1

933945R1

SEALING RING,M23 x 28 x 2.5

RING, packing

1шт.

2

3116081R1

JET

ADAPTOR, ether nozzle

1шт.

3

269635R91

NOZZLE CAP

NOZZLE, starting fluid

1шт.

4

140304

ELBOW

ASSY, 1/8 ball sleeve ext/thd 90D, w/ball sleeve and nut

2шт.

5

PIPE, injection feed, furnish 17.5 inches from 20 ft, roll marked 995059R1

1шт.

6

3116374R1

SLEEVE

1шт.

7

3112817R1

CLAMP

support

1шт.

8

535672R2

BRACKET

injection mounting

1шт.

179835

BOLT,Hex, 3/8" - 16 x 5/8", Gr 5, Full Thd

2шт.

9

533231R92

SOLENOID

INJECTOR ASSY, ether, consists of items 10 thru 13

1шт.

180078

BOLT,Hex, 5/16" - 18 x 7/8", Gr 5

5/16 x 7/8 type 5

2шт.

80681

LOCK WASHER,5/16"

WASHER, LOCK, 5/16"

2шт.

120376

NUT,5/16"-18, G5

2шт.

10

INJECTOR ASSY, not serviced separately

1шт.

11

395686R1

GASKET

ether starting injector

1шт.

12

385064R91

FLUID

ether starting, 12 oz can

1шт.

13

121851C1

RETAINER

ether fluid cannister

1шт.

Выбрано товаров: 17