Запчасти Case IH 784 (12-09) - POWER, VERTICAL EXHAUST Power

Схема запчастей Case IH 784 - (12-09) - POWER, VERTICAL EXHAUST Power
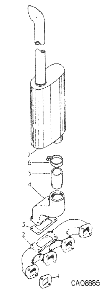
5
2
4
6
7
3
FIT
1:1
100%

Артикул

Название

Примечание

Количество

1

3132434R1

MANIFOLD GASKET,0.5mm Thk

exhaust manifold

4шт.

2

3136066R12

MANIFOLD ASSY

MANIFOLD, exhaust

1шт.

20285H

WASHER

.406 x .750 x .105 pln

8шт.

103026

NUT,3/8"-24, G5

6шт.

3055663R1

STUD

exhaust manifold

4шт.

3

3136248R1

MANIFOLD GASKET,0.5mm Thk

exhaust manifold elbow

1шт.

4

3136668R1

ELBOW

exhaust manifold

1шт.

103321

LOCK WASHER,3/8"

WASHER, LOCK, 3/8"

4шт.

102635

NUT,3/8"-16, G5

4шт.

5

80547C1

TUBE

PACKAGE, exhaust pipe, replaces pipe 3123915R1 and 3121372R1

1шт.

6

1502294C1

CLAMP

muffler, replaces 403585R1

1шт.

179843

BOLT,Hex, 3/8" - 16 x 1 1/2", Gr 5

1шт.

103321

LOCK WASHER,3/8"

WASHER, LOCK, 3/8"

1шт.

102635

NUT,3/8"-16, G5

1шт.

7

83027C1

MUFFLER

exhaust, curved end, or

1шт.

7

83028C1

MUFFLER

exhaust, curved end, replaces muffler 3121378R2 w/straight end

1шт.

379661R1

PIPE

exhaust extension, used with R.O.P.S. canopy on tractors w/straight muffler end

1шт.

1282691C1

SLEEVE

exhaust pipe height, tractors w/straight end muffler, located between muffler and manifold elbow

1шт.

Выбрано товаров: 18