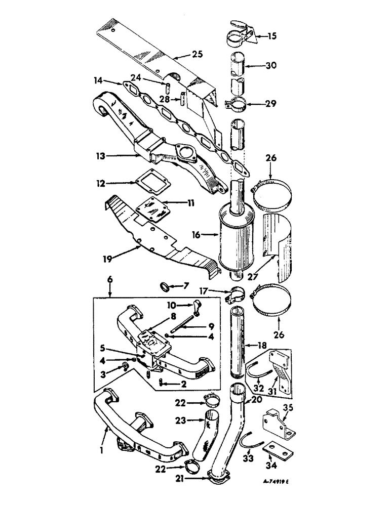
Запчасти Case IH 806 (C-11) - CARBURETED ENGINE, INTAKE MANIFOLD AND EXHAUST SYSTEM (01) - ENGINE

Схема запчастей Case IH 806 - (C-11) - CARBURETED ENGINE, INTAKE MANIFOLD AND EXHAUST SYSTEM (01) - ENGINE
18
6
9
28
1
17
29
32
27
13
7
11
16
25
23
12
26
3
20
33
10
30
22
26
4
34
24
4
2
22
14
35
21
15
19
8
31
5
FIT
1:1
100%

Артикул

Название

Примечание

Количество

1

383377R11

MANIFOLD ASSEMBLY, intake, LP gas

1шт.

445671

PLUG,Sq Hd, 1/8"-27 NPTF

1/8-27 automotive sq-hd pipe

1шт.

2

12215D

STUD

carburetor, gasoline

2шт.

2

351678R1

STUD

carburetor, LP gas

2шт.

3

82958R2

VALVE SPRING

SPRING, thermostat heat control valve

1шт.

4

69443R1

BUSHING

manifold heat control

2шт.

5

141159

SPARE PART

PIN, 3/16 x 1 dowel

1шт.

6

393705R11

MANIFOLD ASSY, intake, gasoline

1шт.

445671

PLUG,Sq Hd, 1/8"-27 NPTF

1/8 sq-hd pipe

1шт.

7

138733R1

CONTROL

PILOT, intake manifold

2шт.

8

85700R1

VALVE

manifold heat control

1шт.

9

82959R1

SHAFT

manifold heat control valve

1шт.

10

85699R1

WEIGHT

manifold heat control

1шт.

11

371098R1

COVER, exhaust manifold, LP gas

1шт.

102635

NUT,3/8"-16, G5

4шт.

114503

JAM NUT,Jam, 3/8"-16, G5

4шт.

381784R1

BOLT,Hex, 3/8" - 16 x 3 3/8", Gr 8

SCREW, 3/8-16 x 3-3/8 hex-hd cap

4шт.

12

85868R1

GASKET

intake to exhaust manifold

1шт.

13

384290R21

MANIFOLD

ASSEMBLY, exhaust

1шт.

179841

BOLT,Hex, 3/8" - 16 x 1 1/4", Gr 5

3/8-16 x 1-1/4 hex-hd cap

6шт.

179843

BOLT,Hex, 3/8" - 16 x 1 1/2", Gr 5

2шт.

280161

BOLT,Hex, 3/8" - 16 x 3", Gr 5

4шт.

127507H

WASHER

13/32 x 7/8 x no. 7 ga

8шт.

14

400878R1

GASKET

intake & exhaust manifold

1шт.

15

321575R91

CAP

ASSY, exhaust

1шт.

15

391160R91

CAP

ASSY, exhaust, tractors will cab, tractor w/serial no. 6374 & below

1шт.

15

402308R1

CAP

ASSY, weather, tractor w/serial no. 6375 & above

1шт.

16

384345R92

MUFFLER

exhaust

1шт.

16

384345R92GV

MUFFLER

Value, Muffler

1шт.

17

384402R1

FASTENER

CLAMP, exhaust muffler, Farmall tractors w/serial no. 41503 and below, International tractors w/serial no. 8354 and below

1шт.

17

398755R1

CLAMP

exhaust muffler, Farmall tractors w/serial no. 41564 and above, International tractors w/serial no. 8355 and above

1шт.

18685R1

CARRIAGE BOLT,Short Sq Nk, 3/8" - 16 x 1 1/2", Gr 2

BOLT, 3/8-16 x 1-3/8 short-sq-nk CRG

2шт.

102635

NUT,3/8"-16, G5

2шт.

103321

LOCK WASHER,3/8"

WASHER, LOCK, 3/8"

2шт.

102635

NUT,3/8"-16, G5

1шт.

179842

SPACER

3/8-16 x 1-3/8 hex-hd cap

1шт.

103321

LOCK WASHER,3/8"

WASHER, LOCK, 3/8"

1шт.

18

383974R2

TUBE,17.8" Length

PIPE, exhaust, gasoline

1шт.

19

384590R21

SHIELD ASSY, intake manifold heat, LP gas

1шт.

20

381404R21

PIPE ASSY, exhaust, LP gas

1шт.

179840

BOLT,Hex, 3/8" - 16 x 1 1/8", Gr 5

SCREW, 3/8-16 x 1-1/8 hex-hd cap

2шт.

21

383977R2

GASKET

exhaust pipe, LP gas

1шт.

22

122322R91

HOSE CLAMP,#44, 2.31/3.25 Type F Worm

CLAMP, sleeve, LP gas

2шт.

23

387857R1

SLEEVE, asbestors, LP gas

1шт.

24

600373R1

SPACER

heat shield rear, LP gas

1шт.

25

387852R12

SHIELD ASSY, exhaust manifold heat, LP gas

1шт.

102635

NUT,3/8"-16, G5

3шт.

179835

BOLT,Hex, 3/8" - 16 x 5/8", Gr 5, Full Thd

1шт.

179849

BOLT,Hex, 3/8" - 16 x 2 1/2", Gr 5

1шт.

280161

BOLT,Hex, 3/8" - 16 x 3", Gr 5

1шт.

95-11041

WASHER,3/8"

(13/32 x 13/16 x .065) 3/8"

5шт.

26

371677R91

HOSE CLAMP,#92, 5.38/6.25 Type F Worm, W/liner

CLAMP, muffler shield, LP gas

2шт.

27

387855R11

SHIELD ASSY, muffler heat, LP gas

1шт.

28

S3780

SPACER,3/8" Pipe x 1 3/4"

Heat shield front, LP gas 3/8" Pipe x 1 3/4"

1шт.

29

527704R1

CLAMP

exhaust muffler, tractors with cab, replaces 402984R1

1шт.

17471R1

BOLT,Hex, 3/8" - 16 x 1 1/2"

3/8-16 x 1-1/2 hex-hd mach

1шт.

102635

NUT,3/8"-16, G5

1шт.

103321

LOCK WASHER,3/8"

WASHER, LOCK, 3/8"

1шт.

30

391154R1

TUBE

EXTENSION, exhaust muffler, tractors with cab, for orders on pipe 402983R1, furnish pipe 527703R1, clamp 527704 & weather cap 402308R1

1шт.

31

393995R11

BRACE ASSY, exhaust pipe, LP gas, Farmall tractor serial no. 33162 & below, International tractor serial no. 7100 & below.

1шт.

102635

NUT,3/8"-16, G5

2шт.

NLS

NO LONGER SERVICED

2шт.

103321

LOCK WASHER,3/8"

WASHER, LOCK, 3/8"

2шт.

10341

TAPPET

WASHER, 13/32 x 13/16 x .065

2шт.

32

393993R1

U-BOLT, exhaust pipe brace, LP gas, Farmall tractor serial no. 33162 & below, International tractor serial no. 7100 & below

1шт.

109084

NUT,1/4"-20, G5

2шт.

33

170571R91

CLAMP

ASSY, exhaust pipe, Farmall tractor serial no. 33163 & above, International tractor serial no. 7101 & above

1шт.

34

397368R1

BAR, exhaust pipe support, Farmall tractor serial no. 33163 & above, International tractor serial no. 7101 & above

1шт.

389427R91

CAPTIVE WASHER SCREW,Hex, 5/16" - 18 x 3/4"

SCREW, w/washer, 5/16-18 x 3/4 C-Z hex-hd cap

2шт.

35

397369R1

SUPPORT, exhaust pipe, Farmall tractor serial no. 33163 & above, International tractor serial no. 7101 & above

1шт.

Выбрано товаров: 70