Запчасти Case IH 826 (07-60) - DRIVE TRAIN, TRANSMISSION CONTROLS, TRACTORS WITH ALL WHEEL DRIVE (04) - Drive Train

Схема запчастей Case IH 826 - (07-60) - DRIVE TRAIN, TRANSMISSION CONTROLS, TRACTORS WITH ALL WHEEL DRIVE (04) - Drive Train
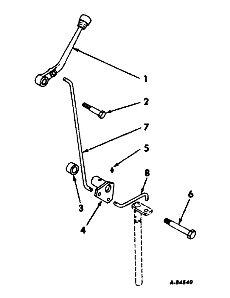
1
6
4
3
2
8
7
5
FIT
1:1
100%

Артикул

Название

Примечание

Количество

1

385820R1

LEVER, transmission drive shift

1шт.

2

385821R1

BOLT

transmission drive shift lever

1шт.

3

385822R1

SPACER, torque amplifier replacement, tractors w/o torque amplifier

1шт.

4

385824R91

BELLCRANK ASSY, transmission drive

1шт.

5

80722

LUBE NIPPLE,3/16" x .55" lg, Drive

FITTING, 3/16 str. drive type lub

1шт.

6

385827R1

BOLT,Hex, 5/8" - 11 x 3 3/4"

bellcrank pivot

1шт.

7

385829R2

ROD, transmission drive actuating, Farmall tractors

1шт.

7

398621R1

ROD, transmission drive actuating, International tractors

1шт.

103373

COTTER PIN,3/32" x 3/4"

Pin, Split (Cotter), 3/32" x 3/4"

2шт.

496-21047

WASHER

15/32 x 59/64 x .065

2шт.

8

385830R1

ROD, transmission drive shifter

1шт.

103373

COTTER PIN,3/32" x 3/4"

Pin, Split (Cotter), 3/32" x 3/4"

2шт.

496-21047

WASHER

15/32 x 59/64 x .065

2шт.

Выбрано товаров: 13