Запчасти Case IH 830-SERIES (033A) - CYLINDER BLOCK ASSEMBLY, MODEL 830, 301 DIESEL ENGINE, CASTING NO. A34933 (02) - ENGINE

Схема запчастей Case IH 830-SERIES - (033A) - CYLINDER BLOCK ASSEMBLY, MODEL 830, 301 DIESEL ENGINE, CASTING NO. A34933 (02) - ENGINE
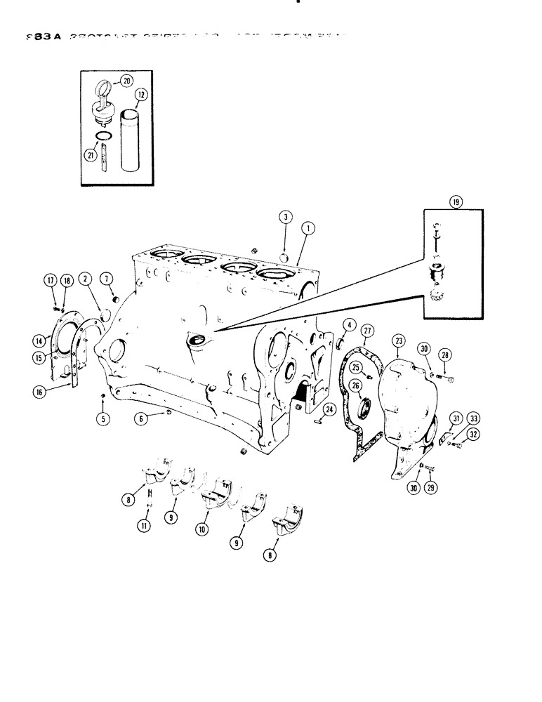
11
24
30
26
12
9
15
6
18
10
3
1
16
27
31
33
28
30
25
8
4
2
21
20
14
17
23
19
29
7
32
9
5
8
FIT
1:1
100%

Артикул

Название

Примечание

Количество

A40361

SHORT ENGINE

BLOCK ASSY. - short (includes A23494 stripped block w/casting no. A34933, sleeves & pistons w/rings & pins, (incl. ref. 1 - 18)

1шт.

1

A23494

BLOCK

ASSY. - stripped (Casting No. A34933) (incl. ref. 2 - 12)

1шт.

2

A24361

PLUG

- rear, camshaft hole (2-3/8" plug type)

1шт.

3

41-1622

PLUG,Cup, 1 3/8", Stainless

- L.H. side (1-3/8" cup type)

1шт.

4

41-1628

PLUG,Cup, 1 3/4", Stainless

- front (1-3/4" cup type)

1шт.

5

221-41

PLUG

- R.H. side oil gallery (1/8" P.T. slotted)

2шт.

6

221-1843

PLUG

- R.H. side oil gallery (3/8" P.T. socket)

2шт.

7

221-26

DRAIN PLUG,Sq Soc, 1"-11 1/2, NTPF

PLUG - rear (1" P.T. socket)

1шт.

8

A24941

CAP

- wide crankshaft bearing

2шт.

9

A24942

CYLINDER END CAP

CAP - narrow crankshaft bearing

2шт.

10

A24943

CAP

- thrust bearing, crankshaft

1шт.

11

A27836

SPECIAL BOLT,5/8" - 11 x 3 1/4"

- bearing cap (5/8 x 3-1/4" N.C. spec.)

10шт.

12

A34540

TUBE

SOCKET - oil level gauge

1шт.

14

A57457

RETAINER

ASSY. - rear oil seal (incl. ref. 15)

1шт.

15

A23085

OIL SEAL

- oil, crankshaft rear

1шт.

16

A32830

GASKET

- rear oil retainer

1шт.

17

13-620

BOLT,Hex, 3/8" - 16 x 1-1/4", Gr 5, Full Thd

6шт.

18

92-6

LOCK WASHER,3/8"

4шт.

19

A33610

DRIVE

ASSY. - tachometer

1шт.

20

A34541

DIPSTICK

GAUGE ASSY. - oil level (incl. ref. 21)

1шт.

21

F62075

O-RING,0.139" Thk x 0.734" ID, -210, Cl 5, 75 Duro

"O" RING - gauge seal (3/4 x 1 x 1/8")

2шт.

23

A20718

COVER ASSY. - timing gear (incl. ref. 24 - 26)

1шт.

24

A27840

PIN

- cover locating (5/16 x 3/4")

2шт.

25

A27869

BUTTON - thrust bumper

2шт.

26

A57342

SEAL

- oil, crankshaft front (Replaces A23433)

1шт.

27

A33018

GASKET

-, Serial Range: cover-block

1шт.

28

13-640

BOLT,Hex, 3/8" - 16 x 2-1/2", Gr 5

- cover, 3/8 x 2-1/2" N.C. hex

8шт.

29

13-616

BOLT,Hex, 3/8" - 16 x 1", Gr 5, Full Thd

Cover Hex, 3/8"-16 x 1", G5, Full Thd

2шт.

30

92-6

LOCK WASHER,3/8"

10шт.

31

A21362

CLIP

POINTER - timing indicator

1шт.

32

13-48

BOLT,Hex, 1/4" - 20 x 1/2", Gr 5

Pointer Hex, 1/4"-20 x 1/2", G5, Full Thd

2шт.

33

193-44

LOCK WASHER,Ext-Int Tooth, 1/4"

WASHER - lock, 1/4" int.-ext. Shakeproof

2шт.

Выбрано товаров: 0