Запчасти Case IH 833 (6-372) - P.T.O - 540 (06) - POWER TRAIN

Схема запчастей Case IH 833 - (6-372) - P.T.O - 540 (06) - POWER TRAIN
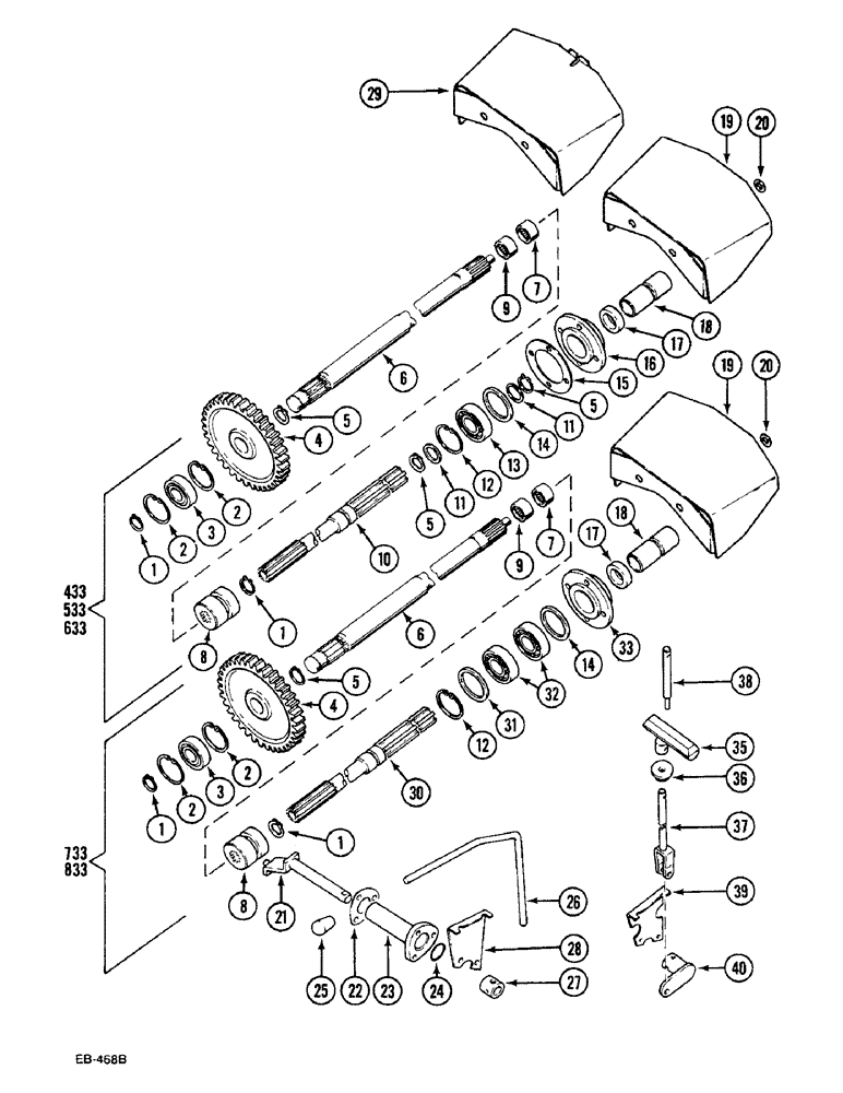
13
24
9
17
37
26
30
32
23
17
19
25
40
18
6
4
2
18
9
39
1
36
8
2
20
38
22
14
33
3
7
1
5
6
12
1
35
1
11
21
10
16
27
19
11
5
2
4
3
5
28
15
5
8
12
7
29
2
20
14
31
FIT
1:1
100%

Артикул

Название

Примечание

Количество

1

933086R1

SNAP RING,M30, Ext

Retaining

1шт.

2

933108R1

SNAP RING,M62, Int

retaining, for models 433, 533, 633, 733

2шт.

3

3148972R91

BEARING, ROLLER, CYL,30 mm ID x 62 mm OD x 16 mm

for models 433, 533, 633, 733

1шт.

3

3405387R91

ROLLER BEARING,30 mm ID x 62 mm OD x 16 mm

roller

1шт.

4

3148144R1

GEAR

56T, for models 433, 533, 633, 733

1шт.

4

3229608R1

GEAR

55T, for models 433, 533

1шт.

4

3405400R1

PINION

GEAR, 56T

1шт.

5

933029R1

SNAP RING,M35, Ext

retaining, for models 433, 533, 633, 733

3шт.

6

3226313R1

DRIVE SHAFT

COUNTERSHAFT, for models 433, 533, 633, 733

1шт.

6

3226316R1

SHAFT

counter, version with speed reducer, for models 433, 533, 633, 733

1шт.

7

3148969R91

BEARING, NEEDLE

for models 433, 533, 633, 733

1шт.

8

3217899R1

SPLINED COUPLING,10T

ASSY., for models 433, 533, 633, 733

1шт.

8

3216402R1

SPLINED COUPLING

for models 433, 533, 633

1шт.

Transmission Serial Number: Z13160 -

1шт.

8

3216486R1

SPLINED COUPLING

ASSY., French Version, Used with 540/1000, for models 433, 533, 633, 733

1шт.

9

3148636R91

BEARING, NEEDLE

for models 433, 533, 633, 733

1шт.

10

3216401R91

SHAFT

for models 433, 533, 633

1шт.

11

716590R1

WASHER

2.5 mm, for models 433, 533, 633

1шт.

11

3131989R1

WASHER

2.6 mm, for models 433, 533, 633

1шт.

11

3131990R1

WASHER

SPARE PART 2.7 mm, for models 433, 533, 633

1шт.

11

3131991R1

WASHER

2.8 mm, for models 433, 533, 633

1шт.

11

3131992R1

WASHER

2.9 mm, for models 433, 533, 633

1шт.

12

933076R1

SNAP RING,M72, Int

retaining

1шт.

13

76491H

BEARING, BALL,35 mm ID x 72 mm OD x 17 mm W

for models 433, 533, 633

1шт.

14

3131995R1

SHIM

0.10 mm

1шт.

14

3226312R1

SHIM

0.15 mm

1шт.

14

3131996R1

SHIM

0.30 mm

1шт.

14

3131997R1

SHIM

0.50 mm

1шт.

15

711304R2

GASKET

1шт.

16

3131397R11

RETAINER

for models 433, 533, 633

1шт.

179838

BOLT,Hex, 3/8" - 16 x 7/8", Gr 5, Full Thd

For models 433, 533, 633

4шт.

103321

LOCK WASHER,3/8"

For models 433, 533, 633

4шт.

17

710906R92

OIL SEAL

oil

1шт.

18

3054841R2

TUBE

CAP

1шт.

19

3131768R21

SHIELD

1шт.

179880

BOLT,Hex, 1/2" - 13 x 7/8", Gr 5

2шт.

20

16038R1

WASHER

2шт.

21

3217897R91

SHAFT

1шт.

21

3148149R91

SHAFT

for models 433, 533, 633

1шт.

Transmission Serial Number: - Z13160

1шт.

22

711312R2

GASKET

GASKET

1шт.

23

711316R2

FLANGE

BRACKET

1шт.

26058D

SCREW

3/8 x 22 mm

3шт.

103321

LOCK WASHER,3/8"

3шт.

24

714444R1

O-RING,3mm Thk x 19mm ID, 75 Duro

for models 433, 533, 633

1шт.

25

3057108R1

HANDLE

KNOB

1шт.

26

3148980R1

LEVER

1шт.

27

786439R2

HUB

1шт.

932171R1

ROLL PIN,4mm OD x 28mm L, Slotted

1шт.

28

3148146R1

SUPPORT

BRACKET

1шт.

29

3217540R91

SHIELD

SPARE PART for models 433, 533, 633

1шт.

Not for Germany

1шт.

179880

BOLT,Hex, 1/2" - 13 x 7/8", Gr 5

for models 433, 533, 633

2шт.

30

3233478R92

DRIVE SHAFT

for models 733, 833

1шт.

31

3142409R3

DISC

SHIM, 3.00 mm, for models 733, 833

1шт.

32

3142398R91

TAPERED BEARING

for models 733, 833

2шт.

33

3233480R91

FLANGE

RETAINER, for models 733, 833

1шт.

179839

BOLT,Hex, 3/8" - 16 x 1", Gr 5

For models 733, 833

4шт.

103321

LOCK WASHER,3/8"

For models 733, 833

4шт.

34

not used

1шт.

35

3225235R1

HANDLE

1шт.

932196R1

LOCK PIN,M5 x 20, Slotted

1шт.

36

3224681R1

BUSHING

2шт.

37

1285070C1

ROD ASSY.

1шт.

103496

CLEVIS PIN,3/8" x 1.060"

1шт.

103373

COTTER PIN,3/32" x 3/4"

1шт.

38

1285067C3

ROD

1шт.

3053288R1

LOCK PIN,M4 x 30, Slotted

1шт.

39

1285068C2

SUPPORT

1шт.

40

1285069C1

LEVER ASSY.

1шт.

Выбрано товаров: 70