Запчасти Case IH 833 (15-02) - FRONT AND REAR WHEELS Wheels & Traction

Схема запчастей Case IH 833 - (15-02) - FRONT AND REAR WHEELS Wheels & Traction
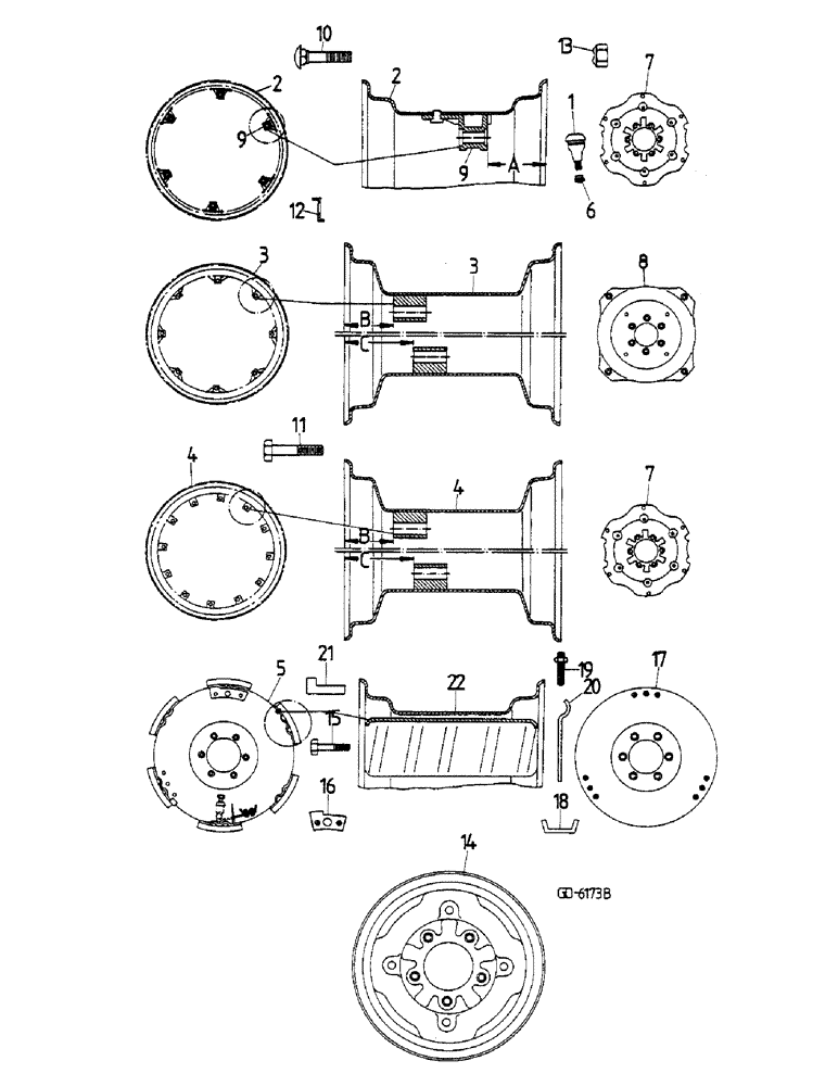
20
5
9
10
13
8
3
19
7
5
2
22
9
4
6
2
11
7
17
14
12
4
18
16
21
FIT
1:1
100%

Артикул

Название

Примечание

Количество

3146279R91

VALVE ASSY, FOR TUBELESS FRONT WHEELS

1шт.

2

786724R12

RIM

WHEEL 12 X 28 - A - 95 MM

2шт.

3

787977R91

RIM

8 X 24 - B - 50 MM, C - 75 MM

2шт.

3

780980R11

RIM, 10 X 24 - B - 40 MM, C - 70 MM

2шт.

3

3146971R91

RIM

12 X 24 - B - 75 MM, C - 105 MM

2шт.

4

3059724R92

RIM

WHEEL 7 X 28 - B - 15 MM, C - 40 MM

2шт.

4

3059741R92

RIM

WHEEL 7 X 28 - B - 30 MM, C - 55 MM

2шт.

4

3059745R92

RIM

WHEEL 10 X 28 - B - 55 MM, C - 80 MM

2шт.

5

3139610R91

WHEEL ASSY.

SPARE PART REAR ADJUSTABLE 10 X 28

2шт.

5

3401456R91

WHEEL

REAR ADJUSTABLE 10 X 28, CONSISTS OF: ITEMS 15-22

2шт.

6

3146281R1

CAP, DUST

1шт.

7

786722R3

DISC, WHEEL

FOR 7 X 28, 10 X 28, 12 X 28 RIM

2шт.

8

787973R1

DISC, WHEEL

SPARE PART FOR 8 X 24, 10 X 24, 12 X 24 RIM

2шт.

9

3057657R2

BRACKET

RIM

1шт.

3139146R1

RIVET

1шт.

10

3137167R1

BOLT,5/8" - 18 x 3"

BOLT

1шт.

3230729R1

WASHER

1шт.

25148R1

NUT

5/8

1шт.

11

114-614

BOLT,Hex, 5/8" - 18 x 3", Gr 5

1шт.

11

414-1056

BOLT,Hex, 5/8" - 18 x 3-1/2", Gr 5

1шт.

11

3059742R1

BOLT

5/8 X 102 MM

1шт.

11

3059747R1

BOLT

5/8 X 127 MM

1шт.

12

3059743R1

WASHER

SPARE PART PLATE, LOCK

1шт.

13

933602R1

WHEEL NUT,Wheel, M18 x 1.5

REAR WHEEL

1шт.

14

787767R91

WHEEL

RIM, 3.25 F X 16

2шт.

14

787764R91

WHEEL

RIM, 4.00 E X 16

2шт.

14

787766R91

WHEEL

RIM, 5.50 F X 16

2шт.

15

30308R1

BOLT,Hex, M16 x 2 x 30mm, Cl 8.8, Full Thd

2шт.

16

3401473R1

PLATE

2шт.

3401478R1

BOLT

STUD

4шт.

17

3401472R1

DISC, WHEEL 28"

2шт.

18

3401477R1

HOLDER, SPRING

2шт.

19

3401476R1

SCREW

CLAMPING

2шт.

19

3401475R1

SCREW, CLAMPING - OPTIONAL

2шт.

20

3401474R1

SPRING, CLAMPING

2шт.

931834R1

BOLT,Hex, M12 x 1.75 x 30mm, Cl 8.8, Full Thd

4шт.

933963R1

WASHER,M13 ID x 24 OD x 2.5 Thk

4шт.

933968R1

NUT,M12 x 1.25, Cl 6

4шт.

21

3401479R1

PLATE, THRUST

2шт.

43138

BOLT,Hex, M10 x 1.5 x 20mm, Cl 8.8

2шт.

22

3401471R1

RIM, WHEEL 12 X 28"

2шт.

Выбрано товаров: 41