Качественные детали и логистика
Оригинальные и аналоговые запчасти с доставкой по России, Казахстану и Беларуси
©2022 PartSell ООО "Система" ИНН 2463123282 ОГРН 1212400004838
Центральный офис: г. Красноярск, Академика Киренского, д.87, пом.4
Телефон: 8 (800) 777-65-74 Email: zakaz@partsell.ru
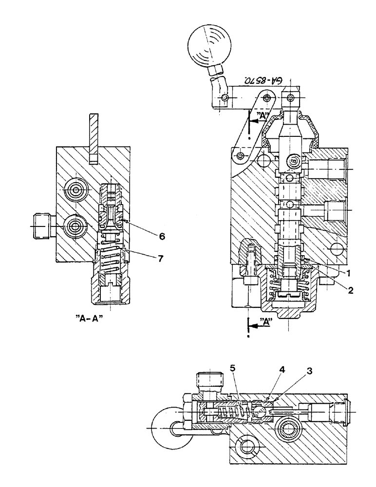
(10-64) - ADDITIONAL CONTROL VALVE, SINGLE ACTING - HENGSTLER
№
Артикул
Название
Примечание
Количество
3220617R92
VALVE
CONTROL, ADDITIONAL SINGLE ACTING, CONSISTS OF: ITEMS 1-7
1шт.
933155R1
SEALING RING,M16 x 20 x 1.5
3232263R1
PLUG,Hex Soc, M16 x 1.5
1
3021183R1
O-RING
2шт.
2
3225088R1
RING
BACK-UP
3
3402643R1
4
3402644R1
GUIDE
BALL
5
3225089R1
SPRING
6
3225090R1
7
3225091R1
Выбрано товаров: 0