Запчасти Case IH 844S (10-11) - TANDEM PUMP (07) - HYDRAULICS

Схема запчастей Case IH 844S - (10-11) - TANDEM PUMP (07) - HYDRAULICS
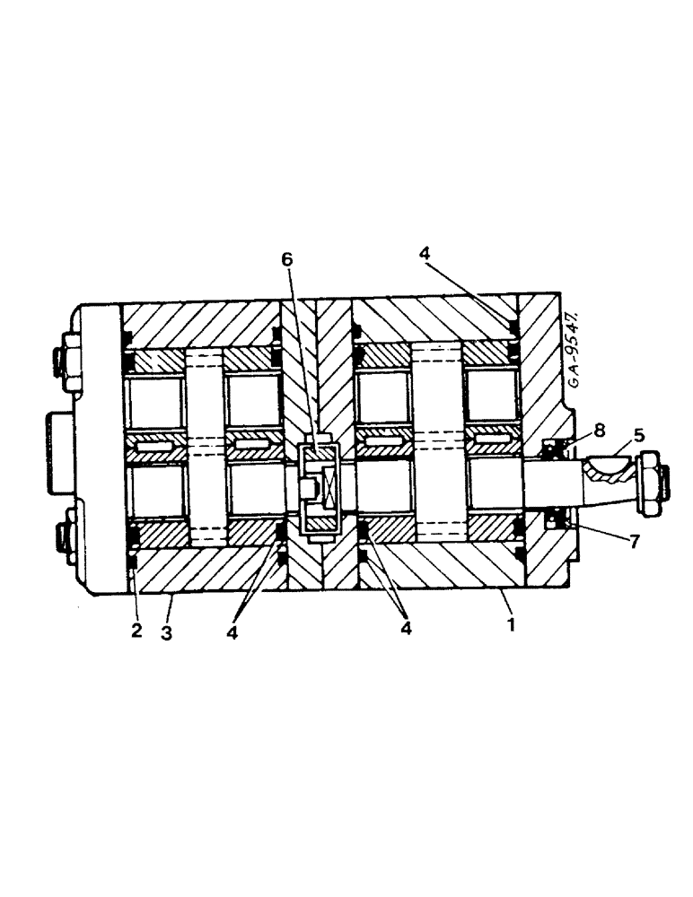
7
8
6
4
1
3
2
5
4
4
FIT
1:1
100%

Артикул

Название

Примечание

Количество

3147535R92

PUMP, HYDRAULIC

TANDEM - 743/745S/844S

1шт.

3220221R92

HYDRAULIC PUMP

TANDEM - FOR CANADA -

1шт.

933834R1

LOCK WASHER,M12

1шт.

934945R1

NUT,Thin, M12 x 1.5, Cl 04

1шт.

1

3216613R91

PUMP

CARTRIDGE, FRONT - 743/745S/844S -

1шт.

1

3216623R91

PUMP

CARTRIDGE, FRONT - 844S -

1шт.

2

3230865R1

O-RING

GASKET

1шт.

3

3216614R91

PUMP

CARTRIDGE, REAR

1шт.

4

3230866R1

PACKAGE

GASKETS

1шт.

5

932618R1

WOODRUFF KEY,3mm x 5mm x 12.65mm

1шт.

6

3216616R1

CAM

COUPLING

1шт.

7

933031R1

SNAP RING,M30, Int

1шт.

8

3230864R1

O-RING

SEAL, OIL

1шт.

Выбрано товаров: 13