Запчасти Case IH 844S (10-16) - STEERING CYLINDER (07) - HYDRAULICS

Схема запчастей Case IH 844S - (10-16) - STEERING CYLINDER (07) - HYDRAULICS
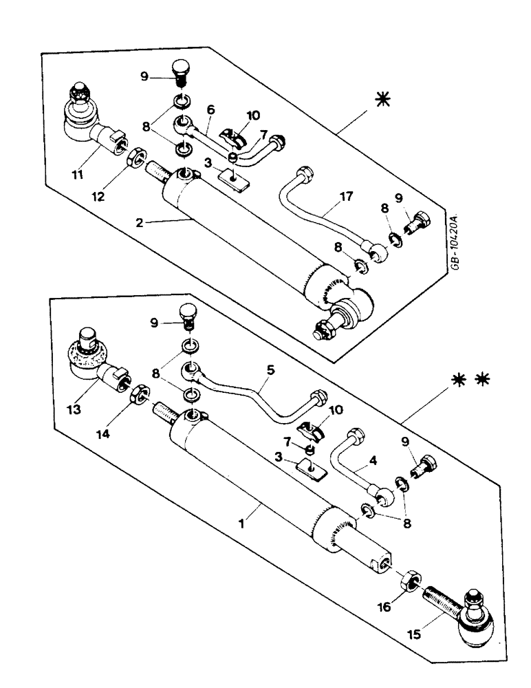
4
15
8
6
1
13
7
12
3
7
17
8
8
11
10
3
5
9
16
14
8
10
9
9
8
9
2
FIT
1:1
100%

Артикул

Название

Примечание

Количество

1

3230100R91

HYDRAULIC CYLINDER

STEERING FOR UNITS W/-WHEEL DRIVE AND FRONT AXLE 3230074R91 OR 3230082R1 - SEE STEERING CYLINDER 3230100R91 -

1шт.

2

3223187R91

ROD

CYLINDER, STEERING, FOR UNITS W/2-WHEEL DRIVE AND HEAVY DUTY FRONT AXLE 3232212R91 844S -SEE STEERING CYLINDER 3233187R91-

1шт.

3

3058623R1

PLATE

BRACKET, CLAMP

1шт.

4

3220693R1

PIPE,127, 78 mm Length

PRESSURE

1шт.

5

3230101R1

PIPE

PRESSURE

1шт.

6

3221643R2

TUBE, PRESSURE

1шт.

7

3145416R1

SPACER

1шт.

8

933155R1

SEALING RING,M16 x 20 x 1.5

4шт.

9

930241R1

BANJO BOLT,M16 x 1.5 x 36mm

HOLLOW

2шт.

10

3217247R1

CLAMP

1шт.

931236R1

BOLT,Hex, M6 x 1 x 35, Cl 5.6

2шт.

86500688

NUT,Hex, M6 x 1.0, Cl 10.9

2шт.

120392

WASHER,1/4", SAE

2шт.

11

3233186R91

BALL JOINT

RH

1шт.

934165R1

NUT,M20 x 1.5

1шт.

932956R1

COTTER PIN,M4 x 40

COTTER 4 X 40 MM

1шт.

12

933316R1

NUT

M22

1шт.

13

3224266R92

BALL JOINT

RH

1шт.

14

933068R1

NUT,Thin, M24 x 1.5

M24

1шт.

15

3230099R91

BALL JOINT

LH

1шт.

933066R1

NUT,M16 x 1.5

1шт.

934532R1

COTTER PIN,M4 x 32

1шт.

16

933707R1

NUT,Thin, M20 x 1.5

M20

1шт.

17

3233188R1

PIPE

PRESSURE

1шт.

Выбрано товаров: 24