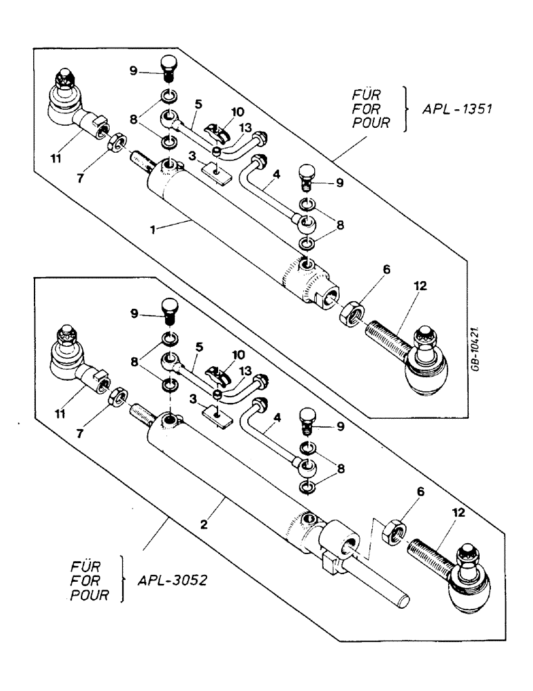
Запчасти Case IH 844S (10-19) - STEERING CYLINDER, APL 1351 AND APL 3052 (07) - HYDRAULICS

Схема запчастей Case IH 844S - (10-19) - STEERING CYLINDER, APL 1351 AND APL 3052 (07) - HYDRAULICS
8
8
11
2
3
11
5
9
13
10
9
3
7
10
6
8
9
7
1
12
6
4
13
4
12
5
8
9
FIT
1:1
100%

Артикул

Название

Примечание

Количество

1

3230184R91

CYLINDER ASSY.

STEERING FOR APL-1351 - SEE STEERING CYLINDER 3230184R91 -

1шт.

2

3146036R94

CYLINDER ASSY.

STEERING - FOR APL-3052 - SEE STEERING CYLINDER 3146036R94 -

1шт.

3

3058623R1

PLATE

BRACKET, CLAMP

1шт.

4

3217438R1

TUBE

PRESSURE

1шт.

5

3217439R1

TUBE

PRESSURE

1шт.

6

934070R1

THIN NUT,Thin, M30 x 1.5

M30

1шт.

7

933707R1

NUT,Thin, M20 x 1.5

M20

1шт.

8

933155R1

SEALING RING,M16 x 20 x 1.5

4шт.

9

930241R1

BANJO BOLT,M16 x 1.5 x 36mm

HOLLOW

2шт.

10

3217247R1

CLAMP

1шт.

931236R1

BOLT,Hex, M6 x 1 x 35, Cl 5.6

2шт.

86500688

NUT,Hex, M6 x 1.0, Cl 10.9

2шт.

120392

WASHER,1/4", SAE

2шт.

11

3146035R92

BALL JOINT

1шт.

934165R1

NUT,M20 x 1.5

1шт.

932956R1

COTTER PIN,M4 x 40

COTTER 4 X 40 MM

1шт.

12

3141529R91

BALL JOINT

1шт.

934165R1

NUT,M20 x 1.5

1шт.

932956R1

COTTER PIN,M4 x 40

COTTER 4 X 40 MM

1шт.

13

3145416R1

SPACER

1шт.

Выбрано товаров: 20