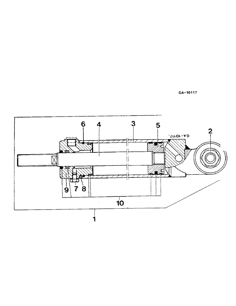
Запчасти Case IH 844S (10-25) - STEERING CYLINDER, FOR TRACTORS W/2-WHEEL DRIVE AND FRONT AXLE 3232212R91 (07) - HYDRAULICS

Схема запчастей Case IH 844S - (10-25) - STEERING CYLINDER, FOR TRACTORS W/2-WHEEL DRIVE AND FRONT AXLE 3232212R91 (07) - HYDRAULICS
6
4
1
8
9
5
2
7
10
3
FIT
1:1
100%

Артикул

Название

Примечание

Количество

1

3233187R91

STEERING CYLINDER

1шт.

2

934165R1

NUT,M20 x 1.5

1шт.

932956R1

COTTER PIN,M4 x 40

COTTER 4 X 40 MM

1шт.

3

3233221R1

CYLINDER

1шт.

4

3233222R1

PISTON ROD

1шт.

5

3233223R1

PISTON

1шт.

6

3233225R1

ELECTRICAL WIRE

WIRE

1шт.

7

FOR444613

PLUG

1шт.

8

934724R1

SET SCREW,Hex Skt, M5 x 6mm, Dog Pt

1шт.

9

3233224R1

END

CYLINDER

1шт.

10

3233226R1

SEAL KIT

PACKAGE

1шт.

Выбрано товаров: 11