Качественные детали и логистика
Оригинальные и аналоговые запчасти с доставкой по России, Казахстану и Беларуси
©2022 PartSell ООО "Система" ИНН 2463123282 ОГРН 1212400004838
Центральный офис: г. Красноярск, Академика Киренского, д.87, пом.4
Телефон: 8 (800) 777-65-74 Email: zakaz@partsell.ru
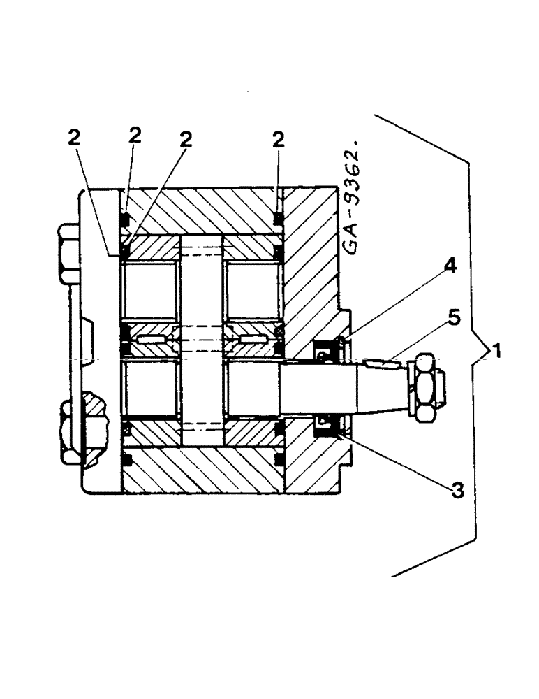
(10-50) - HYDRAULIC PUMP
№
Артикул
Название
Примечание
Количество
1
3145248R93
HYDRAULIC PUMP,8 CC
1шт.
933834R1
LOCK WASHER,M12
934945R1
NUT,Thin, M12 x 1.5, Cl 04
2
3230866R91
SEAL KIT
PACKAGE
3
3230864R1
O-RING
SEAL, OIL
4
933031R1
SNAP RING,M30, Int
5
932618R1
WOODRUFF KEY,3mm x 5mm x 12.65mm
Выбрано товаров: 0