Запчасти Case IH 844S (10-61) - SINGLE ACTING CONTROL VALVE (07) - HYDRAULICS

Схема запчастей Case IH 844S - (10-61) - SINGLE ACTING CONTROL VALVE (07) - HYDRAULICS
18
6
15
7
4
13
10
17
3
12
14
5
9
1
16
11
8
2
FIT
1:1
100%

Артикул

Название

Примечание

Количество

3221094R92

VALVE

CONTROL CPTE - FOR UNITS WITH CAB - TIMMERMAN - - CONSISTS OF ITEMS 1 THRU 18 -

1шт.

3221737R91

VALVE

CONTROL CPTE - FOR UNITS WITH CAB - FRITZMEIER

1шт.

3054388R95

VALVE, CONTROL

1шт.

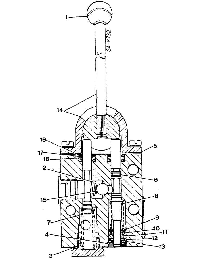
1

3142351R1

BALL KNOB,32 MM x M10

BALL, LEVER

1шт.

2

3055818R1

SPRING

1шт.

3

RING, PACKING

1шт.

4

RING, SNAP

1шт.

5

3142365R1

DISC

SHIM, 0.2 MM

1шт.

5

3142366R1

SHIM

0.3 MM - AS REQUIRED

1шт.

6

SEAL, OIL

1шт.

7

3055806R1

SPRING

1шт.

8

3142356R1

SPRING

1шт.

9

WASHER

1шт.

10

RING, BACK-UP

1шт.

11

RING, GROOVE

1шт.

12

WASHER

1шт.

13

WASHER

1шт.

14

3225760R1

LEVER ASSY.

BEARING, SHIFTER HEAD - FOR VALVE CONTROL 3054388R95

1шт.

14

3225768R1

HEAD ASSY.

BEARING, SHIFTER HEAD, - FOR VALVE CONTROL 3221737R91

1шт.

14

3225029R1

LEVER ASSY.

BEARING, SHIFTER HEAD, - FOR VALVE CONTROL 3221094R92

1шт.

930333R1

SCREW,M6 x 15mm, Cl 5.8

BOLT, M6 X 15 MM

2шт.

933825R1

LOCK WASHER,M6

2шт.

15

BALL, STEEL

1шт.

16

WASHER

2шт.

17

WASHER

2шт.

18

RING, GROOVE

2шт.

3225647R91

SEAL KIT

REPAIR - WITH 3, 4, 6, 9-13, 15-18

1шт.

Выбрано товаров: 27