Запчасти Case IH 844S (09-11) - TRAILER HITCH, FRENCH VERSION (12) - FRAME

Схема запчастей Case IH 844S - (09-11) - TRAILER HITCH, FRENCH VERSION (12) - FRAME
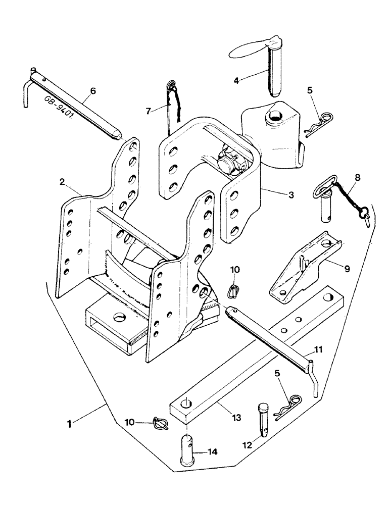
6
14
11
1
10
4
5
7
5
10
2
12
8
3
13
9
FIT
1:1
100%

Артикул

Название

Примечание

Количество

1

3230855R91

YOKE

UNIVERSAL JOINT YOKE HITCH, TRAILER

1шт.

1

3399013R91

HITCH ASSY

USED W/AUXILIARY LIFTING CYL. -

1шт.

24873R1

BOLT,Hex, 5/8" - 11 x 1 1/2", Gr 8

10шт.

25547R1

WASHER,21/32" x 1 5/16" x .188", HDN

10шт.

2

3230858R1

SUMP

FRAME, DRAW

1шт.

2

3399014R1

SUPPORT ASSY.

FRAME, DRAW - USED W/AUXILIARY LIFTING CYL. -

1шт.

3

3221450R1

HITCH BRACKET

TRAILER

1шт.

4

3221453R1

PIN

TRAILER HITCH

1шт.

5

3221454R1

SPLIT PIN/SAFETY PIN

CLIP, SPRING

3шт.

6

3221451R1

LARGE PIN

PIN, LARGE CROSS

2шт.

7

3221462R1

LINCH PIN

CLIP, SPRING WITH CHAIN

1шт.

8

3145990R1

HITCH PIN

SWINGING DRAWBAR

1шт.

9

3230860R1

DRAWBAR CLAMP

SWINGING

1шт.

930540R1

BOLT,Hex, M16 x 2 x 75mm, Cl 8.8

2шт.

905239R1

NUT,M16 x 1.5

M16

2шт.

10

3221464R1

SPLIT PIN/SAFETY PIN

LINCH WITH RING

2шт.

11

3221463R1

PIN

SWINGING DRAWBAR

1шт.

12

3230857R1

PIN

CROSS

2шт.

13

3230859R1

DRAWBAR, SWINGING

1шт.

14

3230856R1

PIN

CROSS

1шт.

Выбрано товаров: 20