Запчасти Case IH 844S (13-49) - CAB, CENTRAL FRAME, SIDE FRAMES (05) - SUPERSTRUCTURE

Схема запчастей Case IH 844S - (13-49) - CAB, CENTRAL FRAME, SIDE FRAMES (05) - SUPERSTRUCTURE
2
6
17
23
16
9
10
13
8
11
24
5
14
3
6
1
17
11
20
13
18
21
12
25
4
7
15
10
22
1
16
8
12
19
FIT
1:1
100%

Артикул

Название

Примечание

Количество

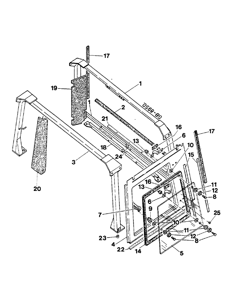
1

3221502R91

FRAME

REAR, - WITH 2

1шт.

934299R1

BOLT,Hex, M8 x 1.25 x 45mm, Cl 8.8

3шт.

931656R1

BOLT,Hex, M14 x 2 x 50mm, Cl 8.8

2шт.

905265R1

NUT,M6 x 1, Cl 8

M8

3шт.

934675R1

WASHER,M8 x 16 x 1.6

3шт.

934875R1

WASHER

14 MM DIA

2шт.

3221592R1

CAP

8 MM

3шт.

3221607R1

CAP

14 MMM

2шт.

2

3223746R1

SEAL

SEAL, BULK LENGTH 50 M - AS REQUIRED

1шт.

3

3221503R91

FRAME

CENTRAL

1шт.

934874R1

BOLT,Hex, M14 x 2 x 40mm, Cl 8.8, Full Thd

4шт.

934943R1

BOLT,Hex, M14 x 2 x 70mm, Cl 8.8

2шт.

934875R1

WASHER

2шт.

3221607R1

CAP

4шт.

4

3223777R1

FRAME

SIDE, LH

1шт.

4

3221508R91

FRAME ASSY

SPARE PART SIDE, LH - WITH 5-17, 22

1шт.

4

3223778R1

FRAME

SIDE, RH

1шт.

4

3221509R91

FRAME ASSY

SIDE RH - WITH 5-17, 22

1шт.

5

3223775R1

GLASS

LH

1шт.

5

3223776R1

GLASS

RH

1шт.

6

3223782R1

SPRING

HINGE, RH

2шт.

6

3223781R1

SPRING

HINGE, LH

2шт.

905160R1

CARRIAGE BOLT,Sq Nk, M8 x 20mm, Cl 4.6

BOLT, M8 X 20 MM

8шт.

905268R1

NUT,M8 x 1.25, Cl 8

8шт.

7

3223788R1

WINDOW STAY

STRUT, VENTING, LH

1шт.

7

3223789R1

WINDOW STAY

STRUT, VENTING, RH

1шт.

8

905159R1

CARRIAGE BOLT,Sq Nk, M8 x 25mm, Cl 4.6

BOLT, M8 X 25 MM

6шт.

934286R1

THIN NUT,M8 x 1.25, Thin

4шт.

9

3221548R1

BEARING HOUSING

2шт.

905158R1

PIN,M8 x 28

HEADED

2шт.

3221573R1

FASTENER

2шт.

10

3221544R1

RUBBER WASHER,8.5mm ID x 39mm OD x 2mm Thk

SEAL

6шт.

11

3221543R1

SPACER,10.2mm ID x 36mm OD x 10mm L

SEAL

6шт.

12

3226083R1

WASHER

6шт.

13

3221592R1

CAP

4шт.

14

3221574R1

SEAL

SEAL, RUBBER, BULK LENGTH, 50M - AS REQUIRED

1шт.

15

3223779R1

ORNAMENTAL STRIP

MAT-SILVER

4шт.

16

3223783R1

PLATE

SPARE PART

4шт.

17

3223746R1

SEAL

SEAL, BULK LENGTH 50M - AS REQUIRED

1шт.

18

3223699R1

BRACKET

REAR FRAME

1шт.

931312R1

BOLT,Hex, M10 x 1.5 x 30mm, Cl 8.8, Full Thd

2шт.

100016

NUT,M10 x 1.5, Cl 8

2шт.

934514R1

WASHER,M11

2шт.

3221520R1

CAP

2шт.

19

3225924R1

SHROUD ASSY.

SPARE PART COVER, RH

1шт.

19

3225923R1

SHROUD ASSY.

COVER, LH

1шт.

20

3225922R1

COVER

CENTRAL FRAME, RH

1шт.

20

3225921R1

COVER

SPARE PART CENTRAL FRAME, LH

1шт.

931291R1

SELF-TAP SCREW,Oval Hd, M3.5 x 16

1шт.

3221603R1

PLUG

AS REQUIRED

1шт.

21

3223700R1

CHANNEL

SPARE PART "U"

1шт.

22

3223745R1

STRIP-GASKET

PAD, INSULATING BULK LENGTH 48 M - AS REQUIRED

1шт.

23

3223100R1

SPACER

2шт.

24

3229196R1

ANGLE

1шт.

3225053R1

SCREW

BOLT, M16 X 16 MM

2шт.

25

3225157R1

CAP

8шт.

Выбрано товаров: 56