Запчасти Case IH 856 (E-07) - FUEL SYSTEM, FUEL TANK, SUPPORTS AND PIPING, FARMALL CUSTOM DIESEL ENGINE TRACTORS (02) - FUEL SYSTEM

Схема запчастей Case IH 856 - (E-07) - FUEL SYSTEM, FUEL TANK, SUPPORTS AND PIPING, FARMALL CUSTOM DIESEL ENGINE TRACTORS (02) - FUEL SYSTEM
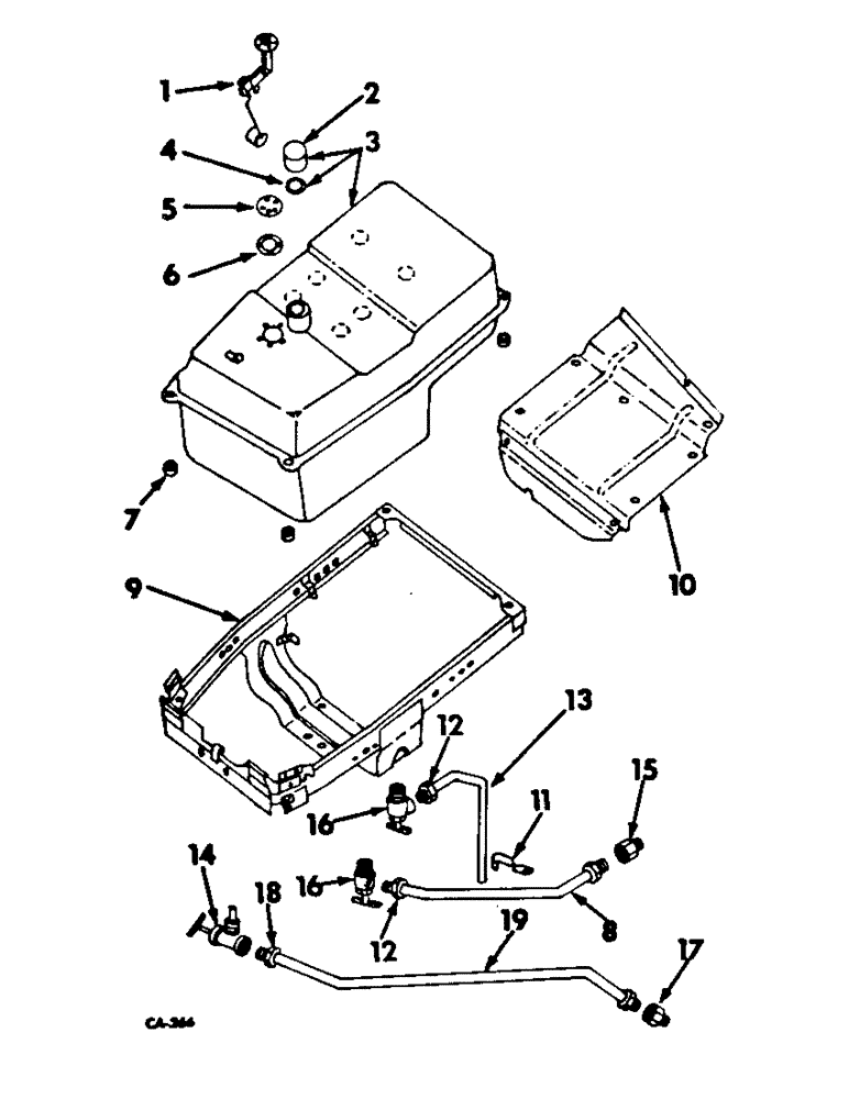
1
16
8
5
10
16
11
3
7
4
18
14
12
17
19
15
12
13
6
2
9
FIT
1:1
100%

Артикул

Название

Примечание

Количество

1

378427R91

GAUGE

SENDING UNIT ASSY, electric fuel gauge

1шт.

1310675C1

CAPTIVE WASHER SCREW,Sl Truss Hd, #10 - 24 x 0.75"

SCREW, LOCK, , Sending unit mounting Sltd Truss Hd, #10-24 x 3/4", w/nylon LW

5шт.

2

361910R91

PLUG

CAP W/GASKET, fuel tank filler

1шт.

3

368780R93

TANK

ASSY, fuel

1шт.

54738R1

LOCK NUT,3/8"-24, GC

NUT, 3/8-24 C-Z hex. stop

4шт.

181370

BOLT,Hex, 3/8" - 24 x 1 1/4", Gr 5

SCREW, 3/8-24 x 1-1/4 hex-hd cap

4шт.

95-11041

WASHER,3/8"

(13/32 x 13/16 x .065) 3/8"

4шт.

119933

ADAPTER,3/8" NPT Male x 1/8" NPT Fem

3/8 x 1/8 reducing pipe

1шт.

4

23977DB

GASKET

fuel tank filler cap

1шт.

5

369155R1

COVER, fuel gauge sending unit opening, tractors w/o electric fuel gauge

1шт.

1310675C1

CAPTIVE WASHER SCREW,Sl Truss Hd, #10 - 24 x 0.75"

SCREW, LOCK, , Cover mounting Sltd Truss Hd, #10-24 x 3/4", w/nylon LW

5шт.

6

369154R1

GASKET

sending unit or cover

1шт.

7

60671DA

WASHER,11.94mm ID x 30.48mm OD x 8.13mm Thk

PAD, fuel tank insulating

4шт.

8

TUBE ASSY, fuel return, use 43.0 inches of 1/4 OD copper tubing from 50 foot roll marked, 995061R1, two nut, 137397

1шт.

9

378660R22

SUPPORT ASSY, fuel tank

1шт.

179837

BOLT,Hex, 3/8" - 16 x 3/4", Gr 5

2шт.

179893

BOLT,Hex, 1/2" - 13 x 3", Gr 5

SCREW, 1/2-13 x 3 hex-hd cap

4шт.

446229

WASHER,1/2" x 1 1/4" x .109"

9/16 x 1-1/4 x .019

4шт.

10

378681R11

SHIELD ASSY, lower heat

1шт.

392910R1

BUMPER

heat shield

1шт.

88574

BOLT,Hex, 5/16" - 18 x 1/2", Gr 5, Full Thd

SCREW, 5/16-18 x 1/2 hex-hd cap

2шт.

256873

BOLT,Hex Serr, 5/16" - 18 x 1/2", 5SPL, Full Thd

4шт.

11

370740R1

CLAMP

CLIP, fuel tank water drain

1шт.

12

NLS

NO LONGER SERVICED

7/16-24 inverted flared tube

1шт.

13

TUBE ASSY, fuel tank drain long, use 29.0 inches of 1/4 OD copper tubing from a roll marked 995061R1 and 1 -137397 inverted flared nut

1шт.

14

390069R91

SHUT-OFF VALVE

VALVE, fuel tank shut-off

1шт.

15

137405

CONNECTOR, ELEC

CONNECTOR, 1/8-27 brs inverted flared tube, fuel return pipe, pump end

1шт.

16

390076R91

VALVE

ASSY, drain

2шт.

17

442323

CONNECTOR, ELEC

CONNECTOR, 1/4-18 brs inverted flared tube HV, tank to filter, filter end

1шт.

18

222-1004

TUBE NUT,5/8" - 18

NUT, 5/8-18 inverted flared tube

2шт.

19

TUBE ASSY, fuel tank to fuel filter, use 21.0 inches of 3/8 OD copper tubing from 50 foot roll marked, 995063R1 and two nut, 137399

1шт.

Выбрано товаров: 31