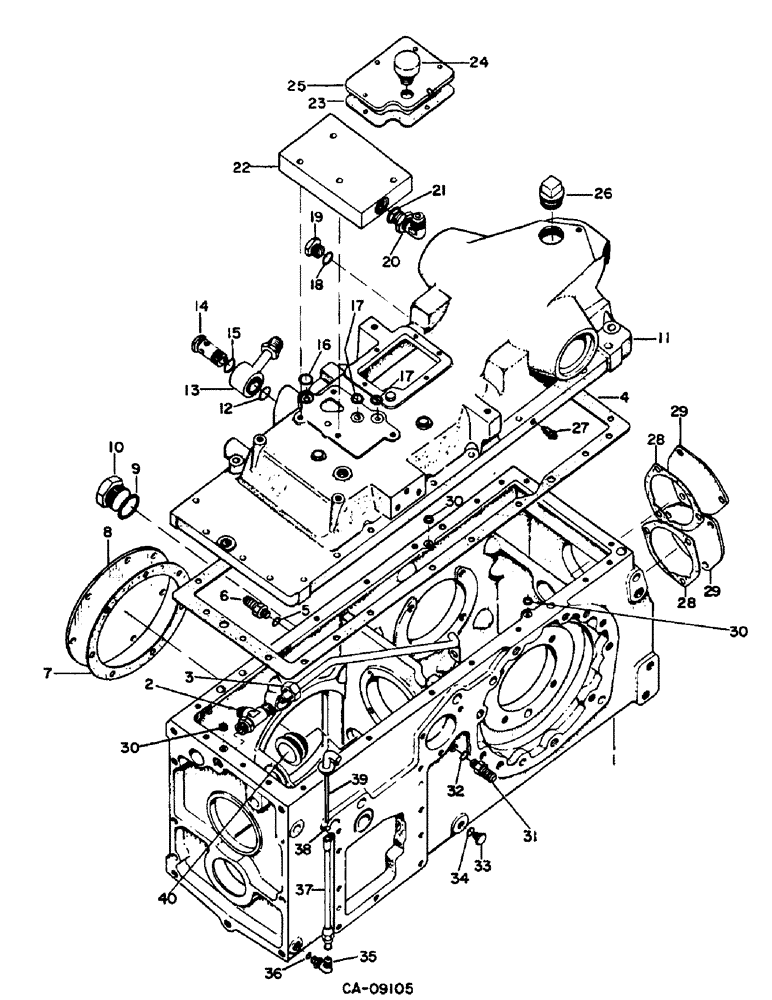
Запчасти Case IH 884 (07-10) - REAR FRAME COVER AND CONNECTIONS (04) - Drive Train

Схема запчастей Case IH 884 - (07-10) - REAR FRAME COVER AND CONNECTIONS (04) - Drive Train
24
31
33
27
29
19
6
4
30
17
30
28
7
15
28
35
2
26
20
23
30
9
18
25
39
11
36
17
32
38
3
1
12
21
5
14
22
16
29
10
34
13
8
37
40
FIT
1:1
100%

Артикул

Название

Примечание

Количество

1

399848R71

FRAME ASSY

PLATE ASSY, clutch pressure, Includes: ref no. 2 thru 11 & 13, Serial Range: -9267

1шт.

1

1289949C91

FRAME ASSY

rear, Start Serial: 9268

1шт.

327412R1

PLUG,Cup, 13/16"

13/16 cup

1шт.

3113103R1

PLUG

3/4-14 auto hex-hd pipe

2шт.

349373R1

PLUG

1-1/4 cup

1шт.

19904R1

DOWEL,1/2" x 1"

PIN, 1/2 x 1.000 pln hdn-dowel

2шт.

19875R1

DOWEL,5/8" x 1 1/2"

PIN, 5/8 x 1.500 pln hdn dowel

1шт.

386194R1

PLUG,Cup, 3/4"

3/4 cup

2шт.

512870R1

PLUG,Cup, 2 1/4"

2-1/4 cup

1шт.

19846R1

DOWEL,1/2" x 1 1/4"

PIN, 1/2 x 1.250 pln hdn dowel

1шт.

70129R1

PLUG,Cup, 2"

2 cup

1шт.

23828R1

PLUG,Cup, 2 1/2"

2-1/2 cup

1шт.

330222R1

PLUG,Cup, 1 7/8"

1-7/8 cup

1шт.

151162R1

PLUG,Cup, 1 3/8"

1-3/8 cup

1шт.

327413R1

PLUG

1-1/2 cup

1шт.

3142063R1

PLUG

52mm cup

1шт.

318300R1

PLUG,Cup, 1"

1.0 cup

1шт.

TRACTORS W/FORWARD & REVERSE

1шт.

2

9411131

TEE,3/4"-16, 37 Degree x 3/4"-18, O-Ring Run

3/4-16 C-Z 37 deg hyd flared tube adj str thd 90 deg, transfer pump outlet tube

1шт.

3

68393C1

TUBE ASSY.

TUBE ASSY, return

1шт.

4

538649R92

GASKET KIT

PACKAGE, rear frame cover gasket w/three seals 406734R1

1шт.

6

3129671R1

FITTING

ADAPTER, brake pipe, RH brake tube

1шт.

7

405739R2

GASKET

side IPTO cover

1шт.

8

405738R1

COVER

side PTO

1шт.

179837

BOLT,Hex, 3/8" - 16 x 3/4", Gr 5

7шт.

9

296247R1

O-RING,16-1, 90 Duro, 1.171" ID x .116" Thk

1 OD tube

1шт.

10

9410363

PLUG

1-5/16-12 str thd-o-ring boss

1шт.

11

529381R95

COVER ASSY

rear frame

1шт.

120377

NUT,3/8" - 16, Gr 5

4шт.

120382

LOCK WASHER,Helical Spring, 3/8"

WASHER, LOCK, 3/8"

4шт.

179847

BOLT,Hex, 3/8" - 16 x 2", Gr 5

1шт.

179846

LEVER

11шт.

179850

BOLT,Hex, 3/8" - 16 x 2 3/4", Gr 5

3/8 x 2-3/4 pln type 5

2шт.

179886

BOLT,Hex, 1/2" - 13 x 1 5/8", Gr 5

1/2 x 1-5/8 pln type 5

2шт.

179888

LEVER

BOLT, 1/2 x 1-7/8 pln type 5

4шт.

444695

PLUG

3/8-18 autom-hex-soc-hd pipe

1шт.

444697

PLUG,Hex Soc, 3/8"-18

3/8-18 autom-hex-soc-hd pipe

1шт.

444698

PLUG

3/8-18 C-Z autom hex soc hd pipe

1шт.

386194R1

PLUG,Cup, 3/4"

3/4 cup

1шт.

373553R1

PLUG,Cup, 7/8"

7/8 cup

1шт.

41600D

PLUG,Cup, 1 1/8"

1-1/8 cup

1шт.

24469R1

PLUG,Cup, 3 1/4"

3-1/4 cup

2шт.

103321

LOCK WASHER,3/8"

WASHER, LOCK, 3/8"

14шт.

179883

BOLT,Hex, 1/2" - 13 x 1 1/4", Gr 5

3шт.

231-1408

LOCK NUT,1/2"-13, GB

NUT, 1/2 pln p/t lock type 5

3шт.

536855R1

PLUG

3/4-16 C-Z str hd o-ring boss

1шт.

570828R1

O-RING,0.087" Thk x 0.644" ID, -908, Cl 6, 90 Duro

1/2 OD tube

1шт.

531144R1

STUD

top cover short

2шт.

531143R2

STUD

top cover long

2шт.

12

384376R1

O-RING,0.07" Thk x 0.926" ID, -21, Cl 6, 90 Duro

15/16 x 1-1/16 x 1/16

1шт.

13

66762C1

PIPE,0.625" OD, 3.5" Length

TUBE ASSY, inlet union

1шт.

14

66766C1

PLUG

inlet union

1шт.

15

364885R1

O-RING,0.097" Thk x 0.755" ID, -910, Cl 6, 90 Duro

5/8 OD tube

1шт.

16

21433R1

O-RING,0.103" Thk x 0.674" ID, -115, Cl 6, 90 Duro

11/16 x 7/8 x 3/32, auxiliary valve manifold

1шт.

17

352221R1

O-RING,0.103" Thk x 0.549" ID, -113, Cl 5, 75 Duro

9/16 x 3/4 x 3/32, auxiliary valve manifold

2шт.

18

570828R1

O-RING,0.087" Thk x 0.644" ID, -908, Cl 6, 90 Duro

1/2 OD tube

1шт.

19

9410359

PLUG

3/4-16 C-Z str thd o-ring boss

1шт.

20

9410978

ELBOW,90 Degree, 7/8"-14, 37 Degree x 7/8"-14, O-Ring

7/8-14 C-Z 37 deg hyd flared tube adj str thd 90 deg, auxiliary valve manifold

1шт.

21

364885R1

O-RING,0.097" Thk x 0.755" ID, -910, Cl 6, 90 Duro

5/8 OD tube

1шт.

22

529382R1

MANIFOLD

aux valve

1шт.

179847

BOLT,Hex, 3/8" - 16 x 2", Gr 5

4шт.

23

399996R1

GASKET

linkage access cover

1шт.

24

65970C2

BREATHER ASSY.

BREATHER ASSY, hydraulic unit housing

1шт.

25

65969C1

COVER

linkage access

1шт.

179791

BOLT,Hex, 1/4" - 20 x 1/2", Gr 5

5шт.

26

20953R1

DRAIN PLUG,Sq Hd, 1 1/4"-11 1/2 NPTF

PLUG, 1-3/4-11 x 1/2 npte

1шт.

27

82301R1

BLEEDER,3/8" - 24 x 117mm

brake bleed

2шт.

27

3068777R1

SCREW

brake bleed

2шт.

28

399843R2

GASKET

IPTO cover

2шт.

29

399842R1

COVER

rear frame IPTO

2шт.

179837

BOLT,Hex, 3/8" - 16 x 3/4", Gr 5

6шт.

30

406734R1

SEAL

teflon

3шт.

31

3129671R1

FITTING

ADAPTER, brake pipe, LH brake inlet tube

1шт.

33

9410356

PLUG

7/16-20 str thd o-ring boss

1шт.

35

9410976

ELBOW,90 Degree, 9/16"-18, 37 Degree x 9/16"-18, O-Ring

9/16-18 37 deg hyd flared tube adj str thd 90 deg, oil level gauge tube

1шт.

36

364839R1

O-RING,0.078" Thk x 0.468" ID, -906, Cl 6, 90 Duro

6-1, 90 Duro, .468" ID x .078" Thk, 3/8 OD tube

1шт.

37

528059R1

TUBE

rear frame oil level gauge

1шт.

38

352219R1

O-RING,0.07" Thk x 0.239" ID, -10, Cl 5, 75 Duro

1/4 x 3/8 x 1/16

1шт.

39

528054R2

DIPSTICK

GAUGE ASSY, rear frame oil level

1шт.

40

527748R1

PLUG

oil reservoir

1шт.

5

369751R1

O-RING,0.072" Thk x 0.351" ID, -904, Cl 6, 90 Duro

4-1, 90 Duro, .351" ID x .072" Thk, 1/4 OD tube

2шт.

32

369751R1

O-RING,0.072" Thk x 0.351" ID, -904, Cl 6, 90 Duro

4-1, 90 Duro, .351" ID x .072" Thk, 1/4 OD tube

1шт.

34

369751R1

O-RING,0.072" Thk x 0.351" ID, -904, Cl 6, 90 Duro

4-1, 90 Duro, .351" ID x .072" Thk, 1/4 OD tube

1шт.

Выбрано товаров: 83