Запчасти Case IH 884 (11-01) - INSTRUMENT PANEL Instruments

Схема запчастей Case IH 884 - (11-01) - INSTRUMENT PANEL Instruments
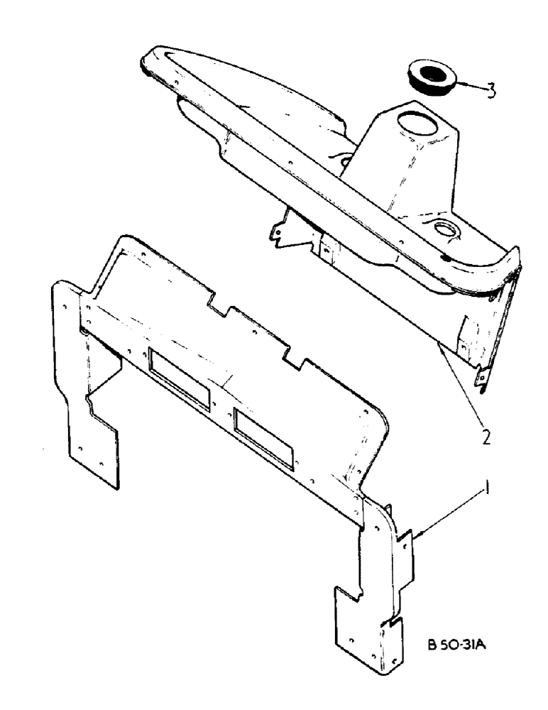
3
1
2
FIT
1:1
100%

Артикул

Название

Примечание

Количество

1

3125771R92

PLATE ASSY.

PLATE ASSY, instrument panel support, complete w/plate 3121684R3 and 7 nuts 3123171R1

1шт.

1

3121684R4

PLATE

ASSY, instrument panel back

1шт.

3123171R1

NUT

captive

7шт.

If DLR needs plastic push nuts instead of captive nut P/N is 3121715R1

1шт.

24394R1

SELF-TAP SCREW,Hex Wash Hd, #10 x 5/8"

SCREW, no. 10-16 x 5/8 p/hdcr tap

4шт.

23985R1

SELF-TAP SCREW,Hex Wash Hd, #10 x 1/2"

SCREW, SELF TAPPING, Hex Wash Hd, #10 x 1/2"

1шт.

179814

SPACER

5/16 x 5/8 pln type 5

2шт.

9635082

NUT,5/16" - 18, Gr 5

2шт.

103320

LOCK WASHER,5/16"

WASHER, LOCK, 5/16"

2шт.

179814

SPACER

5/16 x 5/8 pln type 5

2шт.

9635082

NUT,5/16" - 18, Gr 5

2шт.

103320

LOCK WASHER,5/16"

WASHER, LOCK, , Instrument panel back plate to battery tray 5/16"

2шт.

2

1500974C1

HOUSING

instrument panel, replaces 3121702R2

1шт.

P/N 1500967C4 - if equipped with Hydro, has a slot for Hydro use

1шт.

3125816R1

LENS

green

1шт.

23994R1

SELF-TAP SCREW,Hex Hd, #10 x 5/8"

SCREW, SELF TAPPING, , Instrument panel to instrument back plate assy Hex Hd, #10 x 5/8"

3шт.

3

3123366R1

PLUG

rubber, steering column

1шт.

3113429R1

PLUG

blanking, T.A. control

2шт.

538239R1

PLUG

blanking, horn switch

1шт.

538240R1

PLUG

blanking, cigarette lighter

1шт.

3114406R1

PLUG

blanking, ignition

1шт.

3112888R1

PLUG

blanking, headlight flasher switch

1шт.

Выбрано товаров: 22