Запчасти Case IH 884 (14-08) - TIE ROD ASSEMBLY, ADJUSTABLE FRONT AXLE, STRAIGHT, 52 TO 80 IN. TREAD, ROW CROP TRACTORS Suspension

Схема запчастей Case IH 884 - (14-08) - TIE ROD ASSEMBLY, ADJUSTABLE FRONT AXLE, STRAIGHT, 52 TO 80 IN. TREAD, ROW CROP TRACTORS Suspension
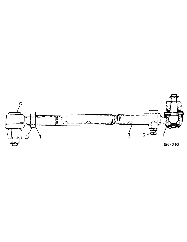
1
6
4
2
3
5
FIT
1:1
100%

Артикул

Название

Примечание

Количество

NSS

NOT SOLD SEPARAT

ROD ASSY, adj tie order components

2шт.

103385

COTTER PIN,1/8" x 1"

PIN, SPLIT (COTTER), 1/8" x 1"

2шт.

102648

SLOTTED NUT,9/16"-18, G5

2шт.

1

3116406R2

END ASSY.

END ASSY, LH

1шт.

2

3116409R1

SET SCREW,Hex, 7/16" - 14 x 1"

SET, screw

1шт.

2

3116410R1

LOCK NUT

NUT, lock

1шт.

3

3116408R1

TUBE,20.75 mm ID, 28 mm OD, 412 mm Length

ROD, intermediate and riser assy

1шт.

4

3116411R1

LOCK WASHER

tab

1шт.

5

3116412R1

LOCK NUT

NUT, lock

1шт.

6

3116407R2

BALL JOINT

END ASSY, RH

1шт.

Выбрано товаров: 10