Запчасти Case IH 884 (07-102) - RANGE CONTROLS - SYNCHRO - CAB 206291 UP (04) - Drive Train

Схема запчастей Case IH 884 - (07-102) - RANGE CONTROLS - SYNCHRO - CAB 206291 UP (04) - Drive Train
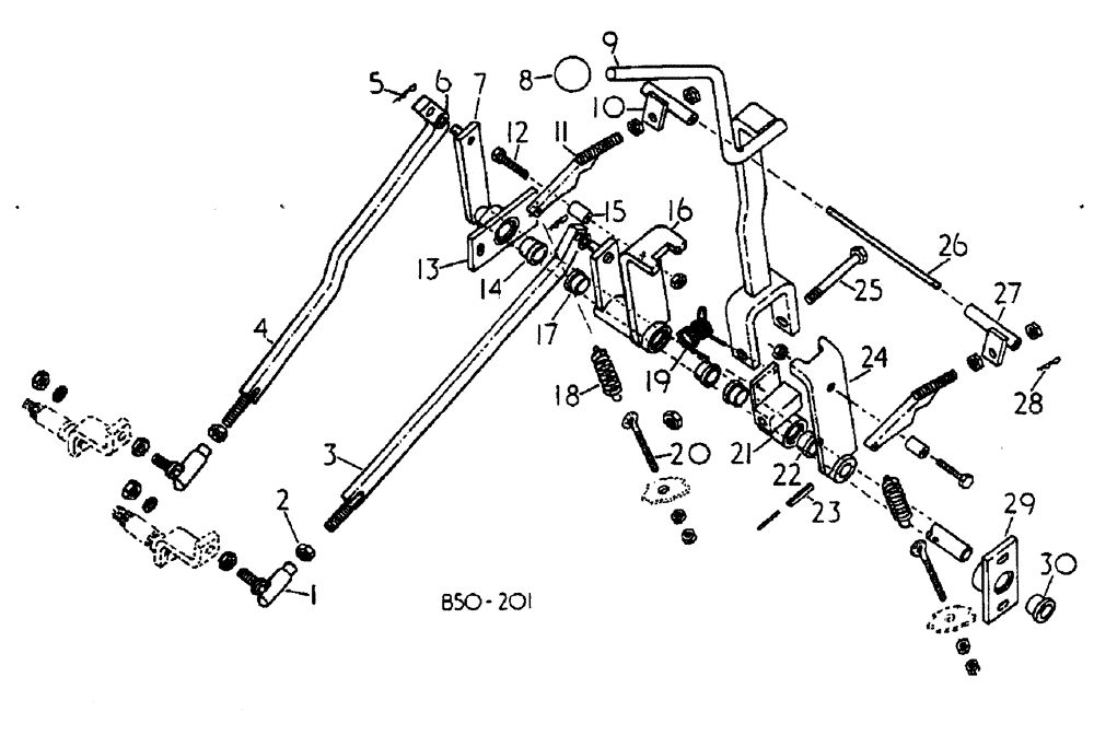
5
15
1
30
2
16
20
12
17
7
27
3
6
9
18
24
23
19
14
25
11
22
28
21
10
13
8
4
26
29
FIT
1:1
100%

Артикул

Название

Примечание

Количество

1

3125538R1

JOINT

BALL, INCLUDES: WASHERS AND NUTS

2шт.

NLS

NO LONGER SERVICED

3/8 TOOTHED

2шт.

905262R1

NUT,M10 x 1.5, Cl 10

M10 SELF

2шт.

2

100016

NUT,M10 x 1.5, Cl 8

2шт.

3

3129510R1

ARM

SPARE PART CONNECTION

1шт.

4

3129516R1

ARM

CONNECTION

1шт.

5

3129511R1

PIN

SPRING

2шт.

6

496-21047

WASHER

7/16

2шт.

7

3129515R1

LEVER

CONNECTION

1шт.

8

3129518R1

KNOB

1шт.

9

3129517R1

LEVER

RANGE SHIFT

1шт.

10

3129526R1

BRACKET

SPARE PART LOCK

1шт.

11

3129528R1

PAWL

INCLUDES: NUTS

2шт.

3129530R1

NUT

M8 JAM

4шт.

12

934241R1

BOLT,Hex, M6 x 1 x 40mm, Cl 8.8

Includes nuts

2шт.

3125434R1

NUT

M6 SELF LOCKING

2шт.

13

3129507R1

HOUSING

BUSH, INCLUDES: SCREWS, WASHERS AND NUTS

1шт.

3125499R1

SCREW

M8 X 20 SET

2шт.

934488R1

LOCK WASHER,Ext Tooth, M8

WASHER, 5/16

2шт.

30382R1

NUT,M8 x 1.25, Cl 10

2шт.

14

3129508R1

BUSHING

1шт.

15

3129532R1

ROLLER

2шт.

16

3129509R1

LEVER

CONNECTION

1шт.

17

3129508R1

BUSHING

2шт.

18

3129529R1

SPRING

1шт.

19

3123839R1

SPRING

1шт.

20

3129531R1

BOLT

M6 X 100 EYE, INCLUDES: NUTS

2шт.

30208R1

NUT,M6, Cl 10

M6

4шт.

21

3129519R1

RETAINER

SPRING

1шт.

22

3129508R1

BUSHING

2шт.

23

3129514R1

PIN

SPRING 5 X 40, INCLUDES: PIN SPRING 8 X 36

1шт.

3129513R1

PIN

SPARE PART SPRING 8 X 36

1шт.

24

3129512R1

LEVER

CONNECTION

1шт.

25

931170R1

BOLT,Hex, M12 x 1.75 x 80mm, Cl 8.8

M12 X 80, INCLUDES: NUT

1шт.

905263R1

NUT,M12 x 1.75, Cl 10

M12 SELF LOCK

1шт.

26

3129525R1

SHAFT

LOCK BRACKET

1шт.

27

3129527R1

BRACKET

SPARE PART LOCK

1шт.

28

3129511R1

PIN

SPRING

1шт.

29

3129507R1

HOUSING

BUSH, INCLUDES: SCREWS AND WASHERS

1шт.

3125499R1

SCREW

M8 X 20 SET

2шт.

934488R1

LOCK WASHER,Ext Tooth, M8

WASHER, 5/16

2шт.

30

3129508R1

BUSHING

1шт.

1135113R1

PRODUCT GRAPHIC

GEAR/RANGE SHIFT

1шт.

8006382R91

PACKAGE, OUTER GEARBOX FIELD IMPROVEMENT

1шт.

Выбрано товаров: 44