Запчасти Case IH 884 (13-052) - HEATER AND ROOF INNER -SEKURA- (05) - SUPERSTRUCTURE

Схема запчастей Case IH 884 - (13-052) - HEATER AND ROOF INNER -SEKURA- (05) - SUPERSTRUCTURE
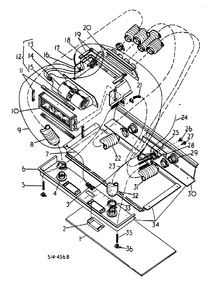
36
33
19
2
16
14
30
28
4
15
17
23
27
9
24
3
10
21
7
22
12
29
1
26
6
8
18
34
35
5
25
31
11
20
32
13
FIT
1:1
100%

Артикул

Название

Примечание

Количество

1

3121589R92

TOP

PANEL, CPTE ROOF W/HEATER, CONSISTS ITEMS 5, 7, 8, 9, 11 THRU 21 AND 28 THRU 33 INCLUSIVE, INCLUDES: WASHERS AND BOLTS

1шт.

3121609R1

WASHER

8MM OVAL

4шт.

446363

WASHER,5/16"

375 ID X 875 OD X 064

4шт.

628-8020

BOLT,Hex, M8 x 20, 10.9, Full Thd

4шт.

1

3123851R1

INSULATOR

SPARE PART INNER ROOF

1шт.

2

3123847R1

MUDFLAP

RECIRCULATION, BOLTS, WASHERS, SPRINGS AND NUTS

2шт.

414-420

BOLT,Hex, 1/4" - 28 x 1-1/4", Gr 5

4шт.

95-11028

WASHER,1/4"

625 X 281 X 051

12шт.

3123848R1

SPRING

RECIRCULATION FLAP

4шт.

894178H1

NUT

1/4-28 PHILIDAS

4шт.

3

3125480R1

COURTESY LIGHT

DOME LIGHT INTERIOR, INCLUDES: LAMP

1шт.

3123846R1

LAMP

12V 5W

1шт.

4

3123849R1

VENT

AIR, INCLUDES: RIVETS

2шт.

3123850R1

RIVET

SPARE PART

4шт.

5

3123285R1

RADIATOR HOSE,15.90 mm ID x 800.00 mm

Radiator to Frame

1шт.

6

3123845R91

PANEL

SPARE PART ROOF INNER TRIM -FRONT, CONSISTS ITEMS 2, 3, AND 4

1шт.

7

3123287R1

CABLE

SPARE PART INTERIOR LIGHT TO EARTH

1шт.

8

3123282R1

HOSE,63.5 mm ID x 1000.00

FLEXIBLE -FRONT TRIM R H

1шт.

9

3123290R1

CABLE

SPARE PART HEATER UNIT TO EARTH

1шт.

10

3123861R91

RADIATOR

COMPLETE UNIT W/SEAL

1шт.

11

3123862R1

SEALING STRIP

SEALING, INCLUDES: FAN

1шт.

3123863R91

VENTILATOR

SPARE PART FAN UNIT COMPLETE, CONSISTS ITEMS 12, 13, 15 THRU 17

1шт.

12

3123864R1

ELECTRIC MOTOR

UNIT BLOWER

1шт.

13

3125495R1

HOUSING

1шт.

14

3125494R1

MOTOR, ELECTRIC

WITH ROTOR

1шт.

15

3125496R1

HOUSING

INCLUDES: CLIPS

1шт.

3125497R1

CLIP

2шт.

3125498R1

CLIP

SPARE PART

8шт.

16

HOUSING, HEATER UNIT, NOT SERVICED SEPARATELY

1шт.

17

3123291R1

HARNESS

WIRING W/OUT EARTH CABLE

1шт.

18

3123865R1

RESISTOR

BANK

1шт.

19

3123862R1

SEALING STRIP

1шт.

20

BOX, DISTRIBUTOR, NOT SERVICED SEPARATELY

1шт.

21

3123281R1

HOSE

VALVE TO RADIATOR

1шт.

22

3123283R1

HOSE,63.5 mm ID x 230.00

FLEXIBLE -REAR TRIM R H

1шт.

23

3123288R1

CABLE

SPARE PART INTERIOR LIGHT -FEED

1шт.

24

3123289R1

CABLE

SPARE PART SWITCH

1шт.

25

3123856R1

BLOWER SWITCH

BLOWER 3 POSITION

1шт.

26

3123857R1

KNOB

BLOWER SWITCH, INCLUDES: SCREW

1шт.

3123858R1

SCREW

SCREW, BLOWER KNOB RETAINING

1шт.

27

3123761R1

BUTTON

KNOB, FLOW CONTROL VALVE

1шт.

28

3123760R1

VALVE

FLOW CONTROL, INCLUDES: SCREWS

1шт.

3123855R1

SCREW

M4 X 16 CHEESE HEADED

2шт.

29

3123849R1

VENT

AIR, INCLUDES: RIVETS

2шт.

3123850R1

RIVET

SPARE PART

4шт.

30

3123852R91

PANEL

ROOF INNER TRIM REAR, CONSISTS ITEMS 22 THRU 26 INC

1шт.

31

3123284R1

HOSE,63.5 mm ID x 700.00

FLEXIBLE - REAR TRIM L H

1шт.

32

3123282R1

HOSE,63.5 mm ID x 1000.00

FLEXIBLE - FRONT TRIM L H

1шт.

33

NSS

NOT SOLD SEPARAT

CLAMP, FLEXIBLE HOSE

8шт.

34

3123086R91

PANEL ASSY.

ROOF INNER, INCLUDES: SCREWS

1шт.

3123280R1

SCREW

1/4-20 X 3/4 TAPTITE

5шт.

24418R1

SELF-TAP SCREW,Cross Oval Hd, #6 x 1/2"

15шт.

35

3123286R1

HOSE,15.9 mm ID x 1200.00 mm

VALVE TO FRAME

1шт.

36

3066758R1

HOSE CLAMP

4шт.

3121590R1

CABLE

SPARE PART BLOWER TO CONN WIPER, FLYING LEAD, NOT ILLUSTRATED

1шт.

3121591R1

CABLE ASSY.

SPARE PART BLOWER CONN TO WIPER, NOT ILLUSTRATED

1шт.

705896R1

CONNECTOR, ELEC

CONNECTOR 2 WAY, NOT ILLUSTRATED

2шт.

Выбрано товаров: 57